
DESK-E144BN Controller
Instruction Manual
SKU: DESK-E144BN Controller
Scan the QR code with your mobile device or follow the link for helpful videos and specifications related to this product.
https://vivo-us.com/products/desk-e144bn
GET IN TOUCH | Monday-Friday from 7:00 am-7:00 pm CST
[email protected]
www.vivo-us.com
Chat live with an agent!
309-278-5303
WARNING!
If you do not understand these directions, or if you have any doubts about the safety of the installation, please call a qualified technician. Check carefully to make sure there are no missing or defective parts. Improper installation may cause damage or serious injury. Do not use this product for any purpose that is not explicitly specified in this manual and do not exceed weight capacity. We cannot be liable for damage or injury caused by an improper mounting, incorrect assembly, or inappropriate use.
ELECTRICAL SAFETY INSTRUCTIONS
THIS PRODUCT IS POWERED BY ELECTRICITY. IN ORDER TO AVOID BURNS, FIRE, AND ELECTRIC SHOCK, PLEASE READ THE FOLLOWING INSTRUCTIONS CAREFULLY.
- DO NOT CLEAN THE PRODUCT WHILE POWER IS CONNECTED.
- DO NOT DISASSEMBLE OR REPLACE COMPONENTS WHILE POWER IS CONNECTED.
- NEVER OPERATE THE SYSTEM WITH A DAMAGED CORD OR PLUG. PLEASE CONTACT YOUR SELLER TO REPLACE DAMAGED PARTS.
- NEVER OPERATE THE SYSTEM IN DAMP ENVIRONMENTS OR IF ANY ELECTRICAL COMPONENTS HAVE MADE CONTACT WITH LIQUIDS.
- ALTERATIONS OF THE GIVEN POWER UNIT ARE NOT ALLOWED.
- OUTDOOR USE IS PROHIBITED.
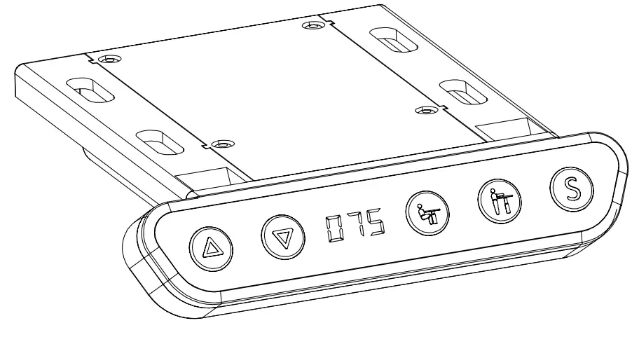
OPERATING CONTROL PANEL
OPERATING INSTRUCTIONS: When the system is powered on, the existing desktop height will appear on the control panel.
Upward and Downward Movement Press and hold the up or down arrow until the desk reaches the desired height.
Memory Mode To store a certain height in the controller’s memory, first press “S”. The controller display will begin flashing. Now press the sitting position or standing position button within 6 seconds to store the current height in memory. Once in memory, you can recall the sitting or standing height settings by pressing the corresponding button. Touching any button will stop the automatic adjustment.
Power-Saving Mode When no actions are made for over 2 minutes, the system will enter power-saving mode. Touch any button to enter operation mode.
Function Mode Press and hold the “S” button for 3 seconds, or until “S – -” begins flashing on the display. Press “S” again to enter Function mode. Within function mode, use the up and down buttons to scroll through settings, and use the “S” button to select options. If no action is taken for 20 seconds, the desk will return to operating mode.
- Change Displayed Unit (Un): Press the up or down buttons until the display shows “Un”, and press “S” to select. Press up or down to select “SI” (metric) or “In” (imperial). Hold “S” for 2 seconds to save the setting.
- Change Brightness (BR): Press the up or down buttons until the display shows “or”, and press “S” to select. Press up or down to select Low (L), Normal (n), or High (H) brightness. Hold “S” for 2 seconds to save the setting.
- Collision Force Detection (CF): Press the up or down buttons until the display shows “CF”, and press “S” to select. Press up or down to select “OFF”, Low (L), Normal (n) or Heavy (H) collision force detection. Hold “S” for 2 seconds to save the setting.
Reset Mode While the unit is powered on, press the down arrow until the desk moves to the fully lowered position. Press and hold the down arrow for 5 seconds or until “rES” is displayed to enter reset mode. Continue holding the down arrow, and the desk will move down to the lowest possible height and then move back up slightly. The desk will then return to operating mode. - E20 – Desk Overload: If overloaded while moving up, an error will clear after 3 seconds. If overloaded moving down, unplug the desk for 10 seconds then reconnect power.
TROUBLESHOOTING
| Error Code | Description/Resolution |
| HOT | Heat Warning: Allow desk to rest for 18 minutes. |
| E10 | Motor connection fault: Disconnect desk power, disconnect the motor, reconnect the motor, then reconnect power. |
| E20 | Desk overload: Unplug the desk for 10 seconds then reconnect to power. |
| E02 | Obstacle protection. The desk will automatically move back 4cm after the collision. |
| E31 | Under-voltage (power brownout). Will clear automatically when line power is corrected. |
| E32 | Over-voltage (power surge). Will clear automatically when line power is corrected. |
NOTES
- Circuit Protection: If the motor or controller becomes disconnected, the desk will cease operation. The error will clear after all components are reconnected.
- Self-protection function: The unit will enter a protective mode should the system operate continuously in excess of 2 minutes with “HOT” on the controller display. The system will return to normal operation after approximately 18 minutes.
- Do NOT remove or reconnect power to reset the unit when in a protective or “HOT” state, as this may damage the electronics.
Love your new VIVO setup and want to share it? Tag us in your photo! @vivo_us
LAST UPDATED: 03/09/2021
Open Monday – Friday 7:00 am – 7:00 pm CST, our dedicated support team can offer immediate assistance with rapid response times. If any parts are received damaged or defective, please get in touch with us. We are happy to replace parts to ensure you have a fully functioning product.
[email protected]
www.vivo-us.com
Chat live with an agent!
AVG. RESPONSE TIME (within office hrs): 1HR 8M
– 23% within < 15m
– 38% within < 30m
– 61% within < 1hr
– 83% within < 2hr
– 92% within < 3hr
AVG. RESOLUTION TIME (within office hrs): < 15 M
309-278-5303
AVG. RESOLUTION TIME (within office hrs): 5M 4S
FOR MORE VIVO PRODUCTS, CHECK OUT OUR WEBSITE AT: www.vivo-us.com















