
Black 2 Tier 55″ x 28″ Electric Desk
Instruction Manual

SKU: DESK-E-T55B
Scan the QR code with your mobile device or follow the link for helpful videos and specifications related to this product.
https://vivo-us.com/products/desk-e-t55b
GET IN TOUCH | Monday-Friday from 7:00am-7:00pm CST
![]()
[email protected] www.vivo-us.com 309-278-5303
Chat live with an agent!
WARNING!
If you do not understand these directions, or if you have any doubts about the safety of the installation, please call a qualified technician. Check carefully to make sure there are no missing or defective parts. Improper installation may cause damage or serious injury. Do not use this product for any purpose that is not explicitly specified in this manual and do not exceed weight capacity. We cannot be liable for damage or injury caused by improper mounting, incorrect assembly, or inappropriate use.
ELECTRICAL SAFETY INSTRUCTIONS
THIS PRODUCT IS POWERED BY ELECTRICITY. IN ORDER TO AVOID BURNS, FIRE AND ELECTRIC SHOCK, PLEASE READ THE FOLLOWING INSTRUCTIONS CAREFULLY.
- DO NOT CLEAN PRODUCT WHILE POWER IS CONNECTED.
- DO NOT DISASSEMBLE OR REPLACE COMPONENTS WHILE POWER IS CONNECTED.
- NEVER OPERATE THE SYSTEM WITH A DAMAGED CORD OR PLUG. PLEASE CONTACT YOUR SELLER TO REPLACE DAMAGED PARTS.
- NEVER OPERATE SYSTEM IN DAMP ENVIRONMENTS OR IF ANY ELECTRICAL COMPONENTS HAVE MADE CONTACT WITH LIQUIDS.
- ALTERATIONS OF THE GIVEN POWER UNIT ARE NOT ALLOWED.
- OUTDOOR USE IS PROHIBITED.
WARNING: CHOKING HAZARD
SMALL PARTS – NOT FOR CHILDREN UNDER 3 YEARS. ADULT SUPERVISION IS REQUIRED.
PACKAGE CONTENTS
![]() | ![]() | |||
| A (x1) Leg with Motor | B (x1) Leg | C (x1) Desk Crossbar | D (x2) Foot | E (x1) Desktop |
![]() | ![]() | ![]() | ![]() | |
| F (x1) Shelf | G (x1) Right Side Bracket | H (x1) Left Side Bracket | I (x2) Shelf Bracket | J (x1) Sync Rod |
![]() | ![]() | |||
| K (x1) Shelf Crossbar | L (x4) Foot Pad | M (x1) Control Panel | N (x1) AC Adapter | |
| S-A (x10) M6x12 Screw | S-B (x4) M8x47 Screw | S-C (x6) M6x10 Flat Head Screw | S-D (x6) M6x10 Socket Head Screw | S-E (x26) M5x14 Screw |
![]() | ![]() | |||
| S-F (x2) Cable Clip | S-G (x18) Anti-Vibration Pad | T-A (x1) 2mm Allen Wrench | T-B (x1) 4mm Allen Wrench | T-C (x1) 5mm Allen Wrench |

WARNING
PINCH POINT
DO NOT place hands on or near support bars. Moving parts can crush and cut. Pinch points are created during lifting and lowering the worksurface. Failure to follow these instructions may result in serious personal injury.
DO NOT EXCEED WEIGHT CAPACITY.
Failure to do so may result in serious injury.
TOOLS NEEDED
![]()
Phillips Screwdriver Level Drill
ASSEMBLY STEPS
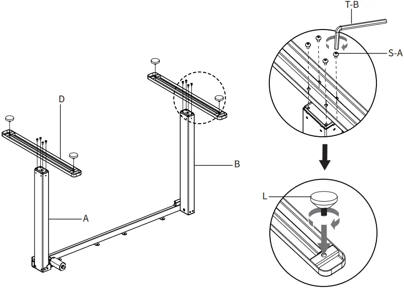
STEP 1
Secure Desk Crossbar (C) to Leg With Motor (A) and Leg (B) using M8x47 Screws (S-B) and 5mm Allen Wrench (T-C).

STEP 2
Mount Feet (D) to Leg With Motor (A) and Leg (B) using M6x12 Screws (S-A) and 4mm Allen Wrench (T-B). Thread Foot Pads (L) into Feet (D).

STEP 3
Secure Left Side Bracket (H) to Leg (B) and Right Side Bracket (G) to Leg with Motor (A) using M6x10 Flat Head Screws (S-C) and 4mm Allen Wrench (T-B).

STEP 4
Loosen the nut on Sync Rod (J) and insert the hex rod end into Leg (B). While holding the hex end, pull the larger rod out until the connector engages with Leg With Motor (A). Tighten the set screw on Sync Rod (J) using 2mm Allen Wrench (T-A), then tighten the nut. Insert Anti-vibration Pads (S-G) into the assembled frame and Shelf Brackets (I).

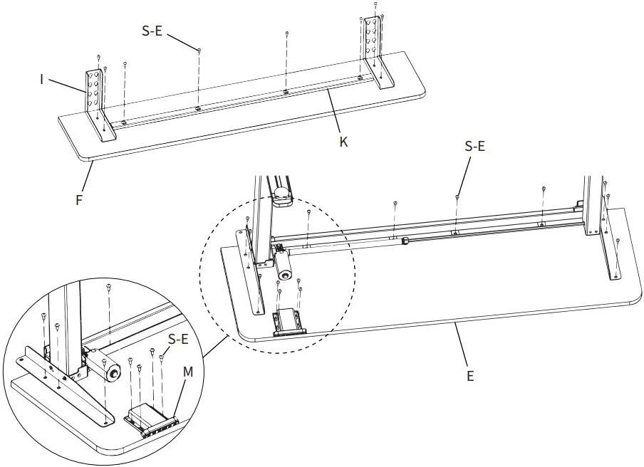
STEP 5
Secure frame assembly and Control Panel (M) to the Desktop (E) using M5x14 Screws (S-E). Note that the back hole on each side bracket will not be used. Attached the Shelf Crossbar (K) and Shelf Brackets (I) to the Shelf (F) using the M5x14 Screws (S-E). Tighten all screws using a Phillips Screwdriver.

STEP 6
With the desk cafully flipped over, loosely install M6X10 Socket Head Screws (S-D) into the back of Desk Crossbar (C) using 4mm Allen Wrench (T-B). Note, leave about 3mm (1/8″) of thread showing.

STEP 7
Determine the desired height of the shelf. Install the shelf assembly by sliding the Shelf Brackets (I) over the previously installed M6x10 Socket Head Screws (S-D). Then fully tighten using 4mm Allen Wrench (T-B).

STEP 8
Connect Control Panel (M) to Leg With Motor (A) and AC Adapter (N). Plug AC Adpater (N) into an AC electrical outlet. If necessary, adjust Foot Pads (L) to level the desk. Manage cables using Cable Clips (S-F).

- Cable Management
- Connect power
CAUTION!

Do not exceed desk weight limit.

Keep area of vertical motion free of obstacles.

Keep weight on desk balanced for correct operation and longer life of components.

Leave enough slack in cables to allow for full range of vertical motion.
Failure to follow these instructions may result in property damage and/or personal injury.
Love your new VIVO setup and want to share?
Tag us in your photo! @vivo_us
LAST UPDATED: 02/24/2022
REV1.1

Open Monday – Friday 7:00am – 7:00pm CST,
our dedicated support team can offer immediate assistance with rapid response times. If any parts are received damaged or defective, please contact us. We are happy to replace parts to ensure you have a fully functioning product.
309-278-5303 AVG. RESOLUTION TIME (within office hrs): 5M 4S
www.vivo-us.com AVG. RESOLUTION TIME (within office hrs): < 15 M
Chat live with an agent!
[email protected] AVG. RESPONSE TIME (within office hrs): 1HR 8M
– 23% within < 15m
– 38% within < 30m
– 61% within < 1hr
– 83% within < 2hr
– 92% within < 3hr
FOR MORE VIVO PRODUCTS, CHECK OUT OUR WEBSITE AT: www.vivo-us.com
























