V I V O DESK-E-P48KB 48 Inch x 24 Inch Mobile Electric Desk with 2 Hooks and Keyboard Tray

Product Information
The Black 48 x 24 Mobile Electric Desk with 2 Hooks & Keyboard Tray is a motorized desk that can be adjusted to different heights. It comes with a front and back desktop, side brackets, a crossbar, a tray, and casters. The desk also includes an AC adapter, control panel, and power cable. The desk has a weight capacity of 176 lbs (80kg). The desk is suitable for adults only and adult supervision is required when in use. The package contains small parts that may pose a choking hazard to children under 3 years old.
Product Usage Instructions
- Place the Front Desktop (C) and Back Desktop (D) upside down on a clean flat surface. Insert Wooden Dowels (O) into the holes in both desktops and slide them together. Use Connecting Plates (M) with ST4.2x13mm Screws (S-A) to secure the desktop assembly. Mount Hooks (N) to the desktop assembly using ST4.2x13mm Screws (S-A).
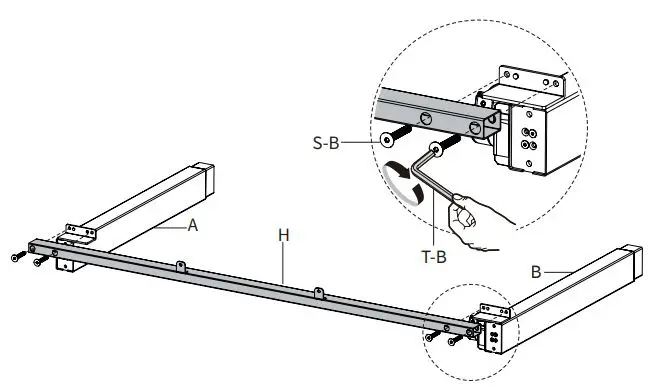
- Assemble Crossbar (H) to Leg (A) and Motorized Leg (B) using M8x50mm Screw (S-B) and 5mm Allen Wrench (T-B).
- Mount Side Brackets (E) to the frame assembly using M8x16mm Screws (S-C) and 5mm Allen Wrench (T-B).
- Place the frame assembly upside down and assemble Feet (F) to Leg (A) and Motorized Leg (B) using M6x35mm Screws (S-D) and 5mm Allen Wrench (T-B).
- If desired, the foot pads on Feet (F) can be replaced with Casters (U). Unscrew the pads and thread Casters (U) onto Feet (F) using Wrench (T-A).
- Place Tray (I) over Crossbar (H).
- Loosen the knobs on Sync Rod (G) using Wrench (T-C) and extend the hex shaft. Insert the hex shaft into Leg (A), making sure the metal retaining ring makes contact with the leg. While holding the hex shaft with one hand, extend Sync Rod (G) onto the spline shaft of Motorized Leg (B). Retighten knob.
- Secure the frame assembly to the desktop using M6x14mm Screws (S-E) and a Phillips screwdriver.
- Assemble Control Panel (K) to Front Desktop (C) using ST4.2x13mm Screws (S-A) and a Phillips screwdriver.
- Plug the cable from Motorized Leg (B) into Control Panel (K).
- Connect AC Adapter (J) to Control Panel (K).
- Plug Power Cable (L) into AC Adapter (J).
- The desk can now be adjusted to different heights using the control panel.
It is important not to exceed the weight capacity of the desk as doing so may result in serious injury. In case of any issues, contact VIVO customer support through their website, email, or phone number provided.
SKU: DESK-E-P48KB
Scan the QR code with your mobile device or follow the link for helpful videos and specifications related to this product. Instruction Manual https://vivo-us.com/products/desk-e-p48kb

GET IN TOUCH | Monday-Friday from 7:00am-7:00pm CST

- [email protected]
- www.vivo-us.com
- Chat live with an agent!
- 309-278-5303
WARNING!
If you do not understand these directions, or if you have any doubts about the safety of the installation, please call a qualified technician. Check carefully to make sure there are no missing or defective parts. Improper installation may cause damage or serious injury. Do not use this product for any purpose that is not explicitly specified in this manual and do not exceed weight capacity. We cannot be liable for damage or injury caused by improper mounting, incorrect assembly, or inappropriate use.
ELECTRICAL SAFETY INSTRUCTIONS
THIS PRODUCT IS POWERED BY ELECTRICITY. IN ORDER TO AVOID BURNS, FIRE AND ELECTRIC SHOCK, PLEASE READ THE FOLLOWING INSTRUCTIONS CAREFULLY.
- DO NOT CLEAN PRODUCT WHILE POWER IS CONNECTED.
- DO NOT DISASSEMBLE OR REPLACE COMPONENTS WHILE POWER IS CONNECTED.
- NEVER OPERATE THE SYSTEM WITH A DAMAGED CORD OR PLUG. PLEASE CONTACT YOUR SELLER TO REPLACE DAMAGED PARTS.
- NEVER OPERATE SYSTEM IN DAMP ENVIRONMENTS OR IF ANY ELECTRICAL COMPONENTS HAVE MADE CONTACT WITH LIQUIDS.
- ALTERATIONS OF THE GIVEN POWER UNIT ARE NOT ALLOWED.
- OUTDOOR USE IS PROHIBITED.
WARNING: CHOKING HAZARD
SMALL PARTS – NOT FOR CHILDREN UNDER 3 YEARS. ADULT SUPERVISION IS REQUIRED.
PACKAGE CONTENTS

TOOLS NEEDED

DO NOT EXCEED WEIGHT CAPACITY.
Failure to do so may result in serious injury.
WARNING PINCH POINT
DO NOT place hands on or near support bars. Moving parts can crush and cut. Pinch points are created during lifting and lowering the work surface. Failure to follow these instructions may result in serious personal injury.
ASSEMBLY STEPS
STEP 1
Place Front Desktop (C) and Back Desktop (D) upside down on a clean flat surface. Insert Wooden Dowels (O) into the holes in both desktops and slide them together. Use Connecting Plates (M) with ST4.2x13mm Screws (S-A) to secure the desktop assembly. Mount Hooks (N) to the desktop assembly using ST4.2x13mm Screws (S-A).
STEP 2
Assemble Crossbar (H) to Leg (A) and Motorized Leg (B) using M8x50mm Screw (S-B) and 5mm Allen Wrench (T-B).

STEP 3
Mount Side Brackets (E) to the frame assembly using M8x16mm Screws (S-C) and 5mm Allen Wrench (T-B).
STEP 4
Place the frame assembly upside down and assemble Feet (F) to Leg (A) and Motorized Leg (B) using M6x35mm Screws (S-D) and 5mm Allen Wrench (T-B).
STEP 5
If desired, the foot pads on Feet (F) can be reaplced with Casters (U). Unscrew the pads and thread Casters (U) onto Feet (F) using Wrench (T-A).
STEP 6
Place Tray (I) over Crossbar (H).
STEP 7
Loosen the knobs on Sync Rod (G) using Wrench (T-C) and extend the hex shaft. Insert the hex shaft into Leg (A), making sure the metal retaining ring makes contact with the leg. While holding the hex shaft with one hand, extend Sync Rod (G) onto the spline shaft of Motorized Leg (B). Retighten knob.
STEP 8
Secure the frame assembly to the desktop using M6x14mm Screws (S-E) and a Phillips screwdriver.
STEP 9
Assemble Control Panel (K) to Front Desktop (C) using ST4.2x13mm Screws (S-A) and a Phillips screwdriver.
STEP 10
Plug the cable from Motorized Leg (B) into Control Panel (K).
STEP 11
Connect AC Adapter (J) to Control Panel (K).

STEP 12
Plug Power Cable (L) into AC Adapter (J).

STEP 13
Place AC Adapter (J) in Tray (I).
STEP 14
Assemble Keyboard Stops (R) to Keyboard Tray (T) using ST4.2×9.5mm Screws (S-F) and a Phillips screwdriver.
STEP 15
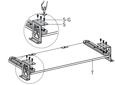
Secure Keyboard Brackets (S) to Keyboard Tray (T) using M5x10mm Screws (S-G) and a Phillips screwdriver.

STEP 16
Assemble Keyboard Brackets (S) to Front Desktop (C) using M6x14mm Screws (S-E) and a Phillips screwdriver.
STEP 17
Remove adhesive backing from Cable Clips (Q) and apply them to the underside of the desktop assembly. Manage cables using Cable Clips (Q).
STEP 18
Insert Cable Managment Cover (P) into the top of Back Desktop (D). Plug Power Cable (L) into an AC outlet.
STEP 19
NOTE: The desk must be reset before operation.
- Reset
- Press and hold the down arrow untill the desk reaches its lowest height and rebounds slightly. The controller will beep twice, then release the down arrow.
- Height Adjustment
- Press and hold the up arrow until the desk reaches the desired height.
- Troubleshooting
- If the desk unable to move, disconnect the power for 30 seconds, and plug then plug the desk back in. Once the power has been reconnected, follow the reset procedure.
CAUTION

- Do not exceed desk weight limit.
- Keep area of vertical motion free of obstacles.
- Keep weight on desk balanced for correct operation and longer life of components.
- Leave enough slack in cables to allow for full range of vertical motion.
Failure to follow these instructions may result in property damage and/or personal injury.
- Love your new VIVO setup and want to share? Tag us in your photo! @vivo_us LAST UPDATED: 04/26/2022 REV1
Open Monday – Friday 7:00am – 7:00pm CST, our dedicated support team can offer immediate assistance with rapid response times. If any parts are received damaged or defective, please contact us. We are happy to replace parts to ensure you have a fully functioning product.
309-278-5303 AVG. RESOLUTION TIME (within office hrs): 5M 4S
www.vivo-us.com- Chat live with an agent! AVG. RESOLUTION TIME (within office hrs): < 15 M
[email protected]- AVG. RESPONSE TIME (within office hrs): 1HR 8M
- 23% within < 15m
- 38% within < 30m
- 61% within < 1hr
- 83% within < 2hr
- 92% within < 3hr
FOR MORE VIVO PRODUCTS, CHECK OUT OUR WEBSITE AT: www.vivo-us.com












