V I V O DESK-E3CVB-C-D-N-W Two Tier 63 x 55 Corner Electric Desk

Product Information
The 2 Tier 63 x 55 Corner Electric Desk with Storage is a versatile and practical desk designed to provide ample workspace for its users. This desk comes with a motorized leg that allows you to easily adjust the height of the desk, making it ideal for both sitting and standing positions. It also features a spacious desktop with two tiers and a storage unit with drawers and shelves, providing plenty of space to store your documents, books, and other office essentials. The desk is made of high-quality materials, ensuring durability and stability.
Product Specifications
- SKU: DESK-E3CVB/C/D/N/W
- Weight Capacity: 176lbs (80kg)
- Difficult Level: Moderate
- Tools Needed: Phillips Screwdriver, Level
- Package Contents: Various panels, brackets, screws, and other hardware (see list above)
Product Usage Instructions
- Step 1: Before you begin assembling the desk, make sure you have all the necessary tools and parts. Check carefully to make sure there are no missing or defective parts. If any parts are missing or damaged, contact customer support within 30 days of product delivery to have them replaced at no cost.
- Step 2: Follow the pre-assembly instructions carefully to ensure that you understand the directions and have no doubts about the safety of the installation. Improper installation may cause damage or serious injury.
- Step 3: Once you have verified that you have all the necessary tools and parts and have familiarized yourself with the instructions, begin assembling the desk. Follow the step-by-step instructions carefully, making sure to tighten all screws and bolts securely.
- Step 4: Once you have assembled the desk, test it to make sure it is stable and functioning properly. Adjust the height of the motorized leg to your desired position and test the drawers and shelves to ensure they open and close smoothly.
- Step 5: Once you have verified that the desk is stable and functioning properly, you can begin using it. Enjoy the ample workspace and storage provided by this versatile and practical desk.
Note: For more detailed assembly instructions, refer to the instruction manual or watch the assembly video available on the vivo-us.com website.
PRE-ASSEMBLY
BEFORE YOU BEGIN
If you do not understand these directions, or if you have any doubts about the safety of the installation, please call a qualified ! technician. Check carefully to make sure there are no missing or defective parts. Improper installation may cause damage or serious injury. Do not use this product for any purpose that is not explicitly specified in this manual. Do not exceed weight capacity. We cannot be liable for damage or injury caused by improper mounting, incorrect assembly or inappropriate use.
WARNING: CHOKING HAZARD
SMALL PARTS – NOT FOR CHILDREN UNDER 3 YEARS. ADULT SUPERVISION IS REQUIRED.
ELECTRICAL WARNING :THIS PRODUCT IS POWERED BY ELECTRICITY. IN ORDER TO AVOID BURNS, FIRE AND ELECTRIC SHOCK, PLEASE READ THE FOLLOWING INSTRUCTIONS CAREFULLY.
- DO NOT CLEAN PRODUCT WHILE POWER IS CONNECTED.
- DO NOT DISASSEMBLE OR REPLACE COMPONENTS WHILE POWER IS CONNECTED.
- NEVER OPERATE THE SYSTEM WITH A DAMAGED CORD OR PLUG. PLEASE CONTACT YOUR SELLER TO REPLACE DAMAGED PARTS.
- NEVER OPERATE SYSTEM IN DAMP ENVIRONMENTS OR IF ANY ELECTRICAL COMPONENTS HAVE MADE CONTACT WITH LIQUIDS.
- ALTERATIONS OF THE GIVEN POWER UNIT ARE NOT ALLOWED.
- OUTDOOR USE IS PROHIBITED
WEIGHT CAPACITY
DO NOT EXCEED WEIGHT CAPACITY. Failure to do so may result in serious injury.
Product Warranty
For the most up to date details on your product’s warranty, please visit the product’s listing on our website or reach out to customer support. vivo-us.com/products/desk-e3cvb
Returns | Product Didn’t Work Out?
We offer a hassle-free 30 day return on all products. Contact customer support at 309-278-5303 or [email protected]. Please note: For items ordered in error or no longer needed, the return shipping charges will be at the buyer’s expense
TOOLS NEEDED

PACKAGE CONTENTS


ASSEMBLY STEPS
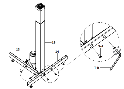
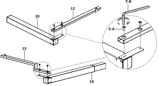
STEP 1: Assemble Legs
Connect Left Crossbar (12) to Left Leg (20) and Angled Right Crossbar (15) to Right Leg (18) using M6x8mm Screws (S-A) and 5mm Allen Wrench (T-B).
Attach Right Crossbar (14) and Short Left Crossbar (13) to Motorized Leg (19) using M6x8mm Screws (S-A) and 5mm Allen Wrench (T-B).

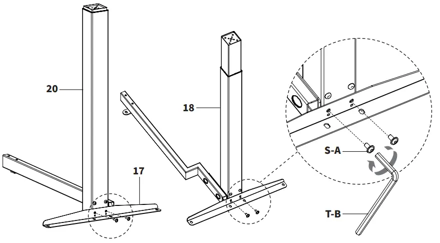
STEP 2: Secure Side Brackets and Feet
Attach Side Brackets (17) to Right Leg (18) and Left Leg (20) using M6x8mm Screws (S-A) and 5mm Allen Wrench (T-B).

Asemble Feet (24) to Right and Left Leg (18, 20) using M6x35mm Screws (S-B) and 5mm Allen Wrench (T-B).


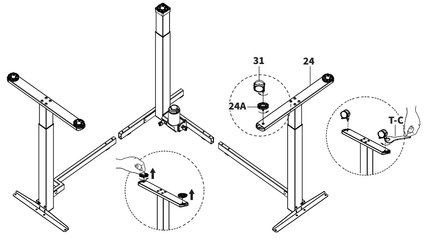
STEP 3: Install Casters (Optional) and Anti-Vibration Pads
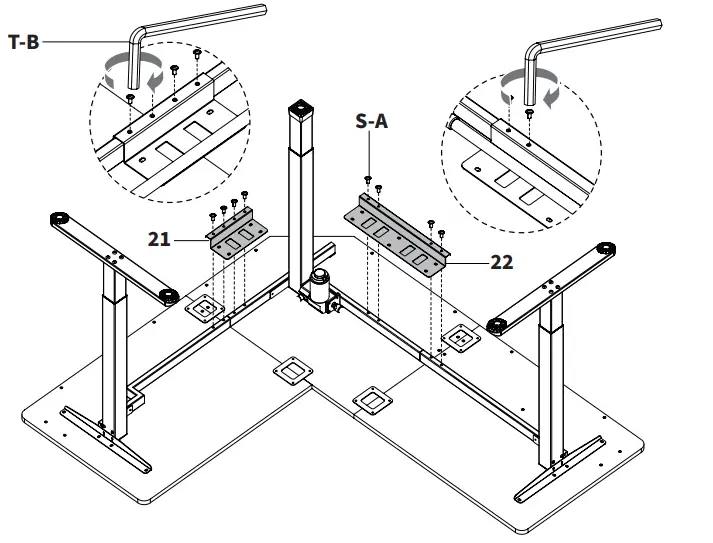
Optionally, Foot Pads (24A) can be swapped out for Locking Casters (31). Unscrew Foot Pads (24A) and thread Locking Casters (31) into Feet (24) using Wrench (T-C).

Insert Anti-Vibration Pads (28) into the frame assembly along with Short Connector Bracket (21) and Long Connector Bracket (22).


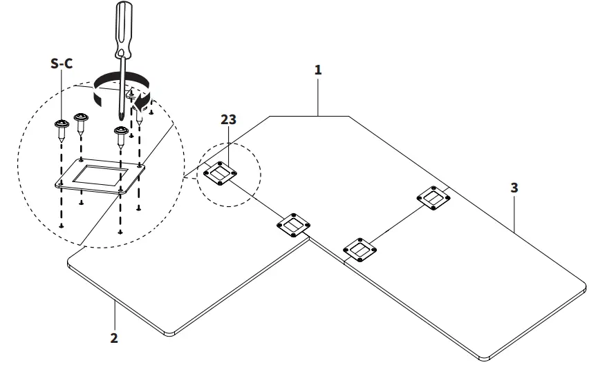
STEP 4: Assemble Desktop and Install Connector Brackets
Assemble Corner Panel (1), Right Panel (2), and Left Panel (3) using Desktop Connectors (23) and M5x16mm Screws (S-C) and a Phillips screwdriver.

Connect the frame assembly using Short Connector Bracket (21) and Long Connector Bracket (22) with M6x8mm Screws (S-A) and 5mm Allen Wrench (T-B). T- B


STEP 5: Secure Frame and Desktop
Secure the frame assembly with Control Panel (25) and Hooks (30) to the desktop assembly using M5x16mm Screws (S-C) and a Phillips screwdriver.


STEP 6: Install Sync Rods
Loosen the coupling nut on Sync Rods (16) and insert hex shaft into Left and Right Legs (18, 20), making sure the metal retaining ring makes contact with the legs. Ensure that all three legs are the same height. If not, turn Sync Rod (16) clockwise to raise corresponding leg, and counter-clockwise to lower.
STEP 7: Install Sync Rods
Extend Sync Rods (16) onto Motorized Leg (19) and tighten the nuts. Tighten both set screws on the end of Sync Rods (16) using the 2mm Allen wrench (T-A).

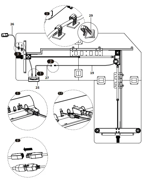
STEP 8: Connect Power Cables
Connect AC Adapter (26) and cable from Motorized Leg (19) to Control Panel (25). If needed, use Extension Cable (27) for cable from Motorized Leg (19) to extend length. Use Cable Clips
(29) to secure cables to desktop.


STEP 9: Install Shelf Panels
Assemble Shelf Dividers (7), Short Corner Shelf Panel (8), Long Corner Shelf Panel (9), and Rear Shelf Panels (10) to the desktop assembly using M4.2x35mm Screws (S-D) and a Phillips screwdriver using all locations shown below.


STEP 10: Assemble Shelves
Insert Cam Lock Screws (S-E) using a Phillips screwdriver and Wooden Dowels (S-G) into Corner Shelf Panel (4), Left Shelf Panel (5), and Right Shelf Panel (6).

Place the Shelf Assembly on top of the divider assembly.


STEP 11: Assemble Shelves
Insert Cam Lock Nuts (S-F) into Shelf Dividers (7), Short Corner Shelf Panel (8), Long Corner Shelf Panel (9), and Rear Shelf Panels (10) making sure arrow is facing up. Using a Phillips screwdriver, turn Cam Lock Nuts (S-F) clockwise to secure the shelf assembly in place.

Unfold Drawers (11) and place drawer insert inside.


STEP 12: Install Drawers
Slide Drawers (11) into the shelf assembly.


CONTROLLER – USER MANUAL
Memory Presets
Press any number and the desk will return to the programmed height. See Programing Memory Presets to program presets.

Arrow Keys
Press and hold the UP arrow for the desk to begin raising. Release when desk reaches desired height. Press and hold DOWN arrow to lower desk. Release button when desired height is reached.
Memory Mode
To save a set height, press and hold the “1” button for 5 seconds until “H1” appears. Your height setting is now stored. Follow steps for the other numerical buttons to save up to four height settings.
Reset Mode
If the height of the desk is incorrect, press the down arrow until the desk moves to the fully lowered position. Press and hold the down arrow. “RES” will be displayed and the leg will lower and rebound upwards. Release the down arrow and your frame has been reset.
Troubleshooting
Error Code/Description/Resolution
- E10
- Sensorless Alarm: This alarm triggered when the sensor cannot be detected. Power off desk and check the connection between the motor and control panel, then re-power.
- E20
- Overload Alarm: Remove desk items and try again.
- E02
- Rebound Protection: Check for desk vibration, obstacles, or desk incline. If no issues found, complete the reset process and try again.
- E32
- Overvoltage Alarm: Voltage is higher than allowed value. Power off desk and check connection between power and control panel. Power on again.
- E31
- Undervoltage Alarm: Voltage is lower than required value. Power off desk and check connection between power and contorl panel. Power on again.
- HOT
- Overheated Alarm: Power off and wait 18 minutes before using again
CHECK OUT OTHER GREAT PRODUCTS FROM
EXPLORE MORE AT VIVO-US.COM
We offer a wide array of home & office products to fit your needs. From height adjustable desks to monitor mounts to keyboard trays and more!
SPEAKER MOUNTS & STANDS
Whether you’re mounting a soundbar or surround sound system, we’ve got a mounting solution to fit your needs
CABLE MANAGEMENT
From single monitor mounts to hex mount, gromment or clamp-ons, we’ve got a mounting solution for your setup
MONITOR MOUNTS
From single monitor mounts to hex mount, gromment or clamp-ons, we’ve got a mounting solution for your setup
WHO WE ARE
VIVO is moVIVO is more than a brand of ergonomic office furniture. We are a team of creative and innovative indivuduals working together to offer high quality, affordable ergonomic solutions. We think and work outside of the box to serve you, our customer, to the best of our abilitiy.
Need Assistance?
We Would Love to Help!
Personable Customer Support | Mon-Fri 7am-7pm
We offer immediate assistance with rapid response times from customer service agents and product techncians to help you every step of the way!
CONTACT
- Call Us: 309-278-5303
- Average Resolution Time: 5m 4s
- Chat Us: www.vivo-us.com
- Average Resolution Time: < 15m
- Email Us: [email protected]
- Average Resolution Time: 1HR 8M
- 23% within < 15m
- 38% within < 30m
- 61% within < 1hr
- 83% within <2hr
- 92% within < 3hr
LOVE YOUR NEW VIVO SETUP?
Ready to share that new amazing setup? Want to brag about that amazing new ergonomic solution?
Tag us in your photo!
FOR MORE GREAT VIVO PRODUCTS,
CHECK OUT OUR WEBSITE AT: WWW.VIVO-US.COM
LAST UPDATED: 11/15/2022
REV2LF
References
Register a .US.COM domain today!
VIVO - Desks, Monitor Mounting, and More Home & Office Solutions – VIVO - desk solutions, screen mounting, and more
Two Tier 63" x 55" Corner Electric Desk with Storage – VIVO - desk solutions, screen mounting, and more
VIVO - Desks, Monitor Mounting, and More Home & Office Solutions – VIVO - desk solutions, screen mounting, and more








