3187626 Electric Height Adjustable Desk
User Manual
Electric Height Adjustable Desk
User Manual
3187626 Electric Height Adjustable Desk
ATTENTION
Please pay attention to the following points during the installation and use process. Please read them patiently, thank you!
- Please be sure to follow the installation instruction in the product manual
- The left leg of the frame is a high precision component, please hold it gently during the installation to prevent bumping.
- Please confirm whether the black control box is firmly installed under the desktop (otherwise the anti-collision system will falsely stop the desk movement). At the same time, please make sure that all plug-in cables are inserted tightly.
- Please follow the steps below to reset the desk before the first time:
- Press and hold the DOWN button for at least 5 seconds, until the LED display shows “RST”.
- Press and hold the DOWN button again, the desk will move down slightly, followed by moving up slightly. The display will show numerical heights and your desk is ready to use!
Warm prompt
Make sure no obstacles ore in the desk’s path. Make sure the desktop is not touching any walls. Make sure all cords are appropriate length to accommodate the change in height.![]()
WARNING
Pinch Point
Keep hands and fingers clear.
Keep children away from electric height-adjustable desks, control units and handsets. There is a risk of injury and electric shock
.
Keep all electrical components away from liquids.![]()
Do not sit or stand on the desk frame. Do not crawl or lie under the desk frame.![]()
Do not place any objects taller than 20″ underneath the desk ![]()
Do not open any of the components – the Legs, Control Box, or Switch.There is a danger of electric shock.![]()
This product is designed with a duty cycle of 10% (2 min. on, 18 min. off).![]()
In the event of a power outage or if the power cord is unplugged, a manual reset may be necessary – see USE section.![]()
This height adjustable desk has electric motors and is designed for use in dry work areas only.
The desk height is adjustable so that it can be positioned at the most ergonomically suitable height.
Any other use is at user’s risk.
Under no circumstances does the manufacturer accept warranty claims or liability claims for damages caused from improper use or handling of the desk frame.
IMPORTANT: Please read this manual carefully.
If this desk is sold, please provide this manual to the buyer.
list of spare parts

| Parts | Quantity | |
| 1 | Desktop 1400-25-18 | 1 |
| 2 | Wood Pin | 4 |
| 3 | Cam Lock Screws & Nuts | 6 |
| 4 | Desktop 1400-450-18 | 1 |
| 5 | Side Bracket | 2 |
| 6 | M6*1*20 Machine Screw | 4 |
| 7 | M6*1*14 Machine Screw | 12 |
| 8 | Lifting Column Left | 1 |
| 9 | Desk Foot | 2 |
| 10 | M10*1.5*35 Machine Screw | 4 |
| 11 | Plastic Cable Buckle | 2 |
| 12 | Driving Rod Assembly | 1 |
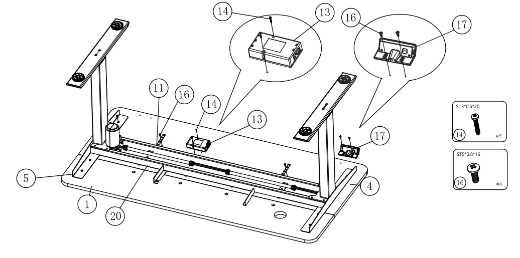
| 13 | Control Box | 1 |
| 14 | ST3*0.5*20 wood Screw | 2 |
| 15 | Hexagon Rod (200mm) | 1 |
| 16 | ST5*0.8*16 wood Screw | 4 |
| 17 | Handset | 1 |
| 18 | Lifting Column Right | 1 |
| 19 | M6*1*10 Machine Screw | 8 |
| 20 | Center Frame | 1 |
| 21 | Power Cable | 1 |
| 22 | Cable Clip | 4 |
| 23 | M6 Allen Wrench | 1 |
| 24 | M4 Allen Wrench | 1 |
| 25 | Double Open-end Wrench | 1 |
Package Contents

Screw List

ASSEMBLY
We recommend that you choose a flat and smooth floor or use a soft mat while assembling to prevent injury or scratches to the desktop and the table frame.
Please do NOT test the lifting column separately until the control box is fixed.
STEP 1: Insert two (2) M10*35 Machine Screws (#10) (4 in total) through holes in the bottom of the Desk Feet (#9) and into holes in the bottom of the Lifting Column Left (#8). Rotate each screw for only a few turns with the M6 Allen Wrench (#23) provided. After both M10*35 Machine Screws (#10) are inserted, tighten both screws.
Repeat this step for the Lifting Column Right (#18).
STEP 2: Place the Frame (#20) on the top of the leg assembly.
Line up the holes on the Lifting Column Left (#8) and the Lifting Column Right (#15) with the holes on the Frame (#20).
Using the supplied M4 Allen Wrench (#24), insert four (4) M6*10 Machine Screws (#19) (8 in total) through the holes in the Lifting Column Left (#8), going into one end of the Center Frame (#20) and rotate each screw for only a few turns. After all four (4) M6*10 Machine
Screws (#19) are inserted, tighten all four (4) screws.
Repeat this step for the Lifting Column Right (part 15) and the other end of the Center Frame (#20).
Note: Pay attention to the assembly direction of the left and right lifting columns.
STEP 3: Place one of the Side Brackets (#5) on the top of the Lifting Column Left (#8). Line up the holes on the Side Bracket (#5) with the holes on the Lifting Column Left (#8). Insert two (2) M6*1*20 Machine Screws (#6) (4 in total) into these holes and tighten both screws with the M4 Allen Wrench provided.
Repeat this step for the Lifting Column Right (#18) and the other piece of the Side Brackets (#5).
STEP 4: Place two (2) desktops on a smooth surface with pre-drilled holes facing upward.
As the figure shown above, insert six (6) Cam Lock Screws (#3) into Desktop 1400-450-18 (#4), followed by six (6) Cam Lock Nuts (#3).
Use a Philips screwdriver to rotate Cam Lock Nuts 90 degrees clockwise to tighten the corresponding Cam lock Screw.
Insert Wood Pins (#2) (4 in total) into the remaining holes on Desktop 1400-450-18 (#4). Wood Pins are about 15 mm out of the Desktop.
Line up the holes and pins on both two Desktops (#1 & #4). Attach the two (2) desktops tightly.
Insert the remaining six (6) Cam Lock Nuts into Desktop 1400-25-18. Use a Philips screwdriver to tighten them all.
STEP 5: Place the assembled desktop on a flat floor (with pre-drilled holes facing up).
Place the desk frame on the upside down on the desktop. Line up the pre-drilled holes on the Desktop with the holes on the Side Brackets (#5) and the holes on the Center Frame (#20).
As the figure shown, secure the desk frame on the underside of the Desktop with a M4 Allen Wrench (#24) and twelve(12) M6*1*14 Machine Screws (#7).
STEP 6: Rotating counter-clockwise to loosen the end of the Driving Rod Assembly (#12) and insert it into the hexagon rod on the motor side in the direction of the arrow.
Then stretch the Driving Rod Assembly (#12) to a suitable length. Use the Double Open-end Wrench (#25) provided to adjust the angle of the hexagon rod (which is pre-installed on the lifting column right) and insert it into the Driving Rod Assembly (#12). A convex stopper at the end of the Hexagon Rod (#15) will cling to the Lifting Column Right. After adjusting the position, tighten knobs on both sides of the Driving Rod Assembly clockwise to fix the whole structure.
STEP 7: Attach the Control Box (#13) on the underside of the Desktop with two (2) ST3*0.5*20 Wood Screws (#14) Please note pre-drilled holes and the direction of the Control Box. The motor socket should face toward the Lifting Column Left (#8).
Attach the Plastic Cable Buckle (#11) and the Handset (#17) on the underside of the Desktop with four (4) ST5*0.8*16 Wood Screws (#16) (4 in total). Pre-drilled holes are provided.
As the control box comes with the anti-collision function, we recommend that you test the operation of columns after completing the assembly process (control box fixed under the Desktop). Otherwise, it might falsely alarm. 
STEP 8: Connect the Power Cord, the Handset and Lifting Columns to the Control Box.
Use the Cable Clips (#22) to secure the cables so they do not sag.
Grab the DESK FRAME (not the desktop) and flip the desk onto its feet. Ask one friend (or more) to help.
Make sure the desktop is horizontal and two sides of the desktop are at the same height from the ground.
Follow instructions to RESET the desk prior to use.
Instructions

CAUTION
Please ensure that no objects (walls) will interrupt the movement of the desk, and all cables of relevant devices are sufficiently long.
Reset the desk (RST Mode):
Enter the RST mode:
Hold the ‘DOWN’ key for 5s while the desktop is at the lowest position (otherwise lower the desktop first).
The digital display shows RST. Now the system enters RST mode.
Quit the RST mode:
Hold the ‘DOWN’ key again until the desktop moves down slightly and then moves up slightly. The display shows the current height.
The system quits RST mode.
Column Detection Error (E07-E09):
The digital display shows error E07/E08/E09.Hold the ‘DOWN’ key for 5s: the digital display shows RST.
Release and hold the ‘Down’ key again to lower the desktop until it hits the lowest position and moves up slightly. The display shows the current height.
Set the upper limit:
Touch the ‘M’ key: the display shows ‘S-‘.Touch the ‘UP’ key: the display flashes. Touch and hold the ‘M’ key for 2s until the display shows ‘999’.
The upper limit is now stored.
Set the lower limit:
Touch the ‘M’ key: the display shows ‘S-‘.
Touch the ‘DOWN’ key: the display flashes.
Touch and hold the ‘M’ key for 2s until the display shows ‘000’.
The lower limit is now stored.
Delete height limits:
Touch the ‘M’ key: the display shows ‘S-‘.
Touch and hold the ‘M’ key for 2s until the display shows ‘555’.
Both upper and lower limits are deleted.
Change the RESET height:
Enter the RST mode (see instructions above).
Touch and hold the ‘M’ key for 5s: the display shows the reset height, and the screen flashes.
Touch and hold the ‘UP’ key or ‘DOWN’ key to change the value.
The display switches back to ‘RST’ if no operation is detected for 5s, indicating the change is successful.
Quit the RST mode (see instructions above).
Switch the movement mode of the memory height:
Enter the RST mode (see instruction above).
Touch and hold the ‘1’ key for 5s, the display shows one of the following:’10.1′ : One-touch movement (Default),’10.2′ : Constant-touch movement.
Toggle between two options.
The display switches back to ‘RST’ if no operation is detected for 5s, indicating the change is successful.Quit the RST mode (see instruction above).
Change height unit:
Enter the RST mode (see instruction above).
Touch and hold the ‘2’ key for 5s, the display shows one of the following:’10.3′ : height display in centimeters (Default), ‘10.4’ : height display in inches.
Toggle between two options. The display switches back to ‘RST’ if no operation is detected for 5s, indicating the change is successful.
Quit the RST mode (see instruction above).
Change the anti-collision sensitivity:
Enter the RST mode (see instruction above).
Touch and hold the ‘UP’ key for 5s, the display shows one of the following:’10.5′ : Detect 10kg force (Default, most sensitive), ‘10.6’ : Detect 15kg force’10.7′ : Detect 20kg force.
Toggle between three options.
The display switches back to ‘RST’ if no operation is detected for 5s, indicating the change is successful. Quit the RST mode (see instruction above).
Set memory height:
Touch the ‘M’ key: the display shows ‘S-‘.Touch one of the number keys, the current height will be stored to that key.
Child Lock:
Touch and hold the Child Lock key for 4s: the displays shows ‘LOC’, and all keys at front are locked. Touch and hold the Child Lock key again for 4s to unlock.
If the handset vibrates due to the sit-stand reminder works when it is locked, touch any key to stop the vibration.
Sit-stand Reminder:
First time use: The sit-stand reminder is active by default and the default time is 30 minutes. Touch the ‘ON/OFF’ key to turn on or off the sit-stand reminder.
Touch the ‘SET’ key and then choose one of the reminder time.
Please make sure that the sit-stand reminder is ON before setting the time.
When the reminder time runs out, the hand control vibrates.
Touch any key to stop the vibration and turn off the reminder.
When the height of the desk is greater than 100 cm, the reminder will stop the timing and reset. When the height of the desk is less than 100 cm, the timing will restart. Note: When there is no action, the reminder will be turned off after about 30 seconds of vibration.
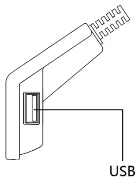
USB Charging port:
Output: DC 5V/0.8A
Troubleshooting:
- If you encountered the following problem, problem, please try RESET:
Abnormal Operation
The display shows an error message E0x but all cable connections are normal.
The display shows RST. - The display shows H01: unplug the power, and let the system cool down for 20 minutes.



















