Smart Electric Height-Adjustable Desk
Instruction Manual
Safety Information:
Please read and understand this entire manual before assembling, operating, or installing app. Examine all packaging material before discarding carton. Remove any remaining staples from the carton before discarding.
Select a smooth work surface which will not scratch or damage parts. Remove all parts from carton and separate into groups as indicated on parts list. Please ensure all parts are included prior to assembly. Use of power tools to complete assembly is not recommended.
Warning
Please use your furniture correctly and safely. Improper use can cause safety hazards, or damage to your furniture or household items. Carefully read the following chart.
| Look out for: | What can happen: | How to avoid: |
| Children climbing on furniture. A child may try to reach a toy or other object by climbing on furniture. Children will play and be active near a TV. | Risk of injury or death. A child climbing on a piece of furniture or playing with a TV can cause it to tip over. | Never allow children to climb on or play with furniture. Do not place toys, food, etc. on the top shelves and/or drawers. Children may try to climb to reach them out of curiosity. |
| Overloaded drawers and/or shelves. Improper loading can cause furniture to be top-heavy. | Risk of injury or damage to furniture and/or equipment. Overloaded drawers and/or shelves can break. | Refer to your assembly manual for maximum weight capacities. Load drawers and shelves from the bottom to the top. Place heavier items in lower drawers and/or shelves. Unload drawers and shelves from the top to the bottom before moving the furniture. |
| Placing a TV on furniture that is not designed to support a TV. | Risk of injury or death. TVs can be very heavy. The weight and location of the picture tube tends to make them unbalanced and prone to tipping forward. | This product is not designed to support a TV. |
| Improperly moving furniture. | Risk of injury or damage to furniture and/or equipment. Furniture can tip over if not moved carefully over obstacles or across a changing floor surface (ex: from a wood floor to carpeted floor). | Do not push furniture, especially on carpeted floor. Have someone help you lift the item and place it in its new location. Remove any glass tops, shelves or doors before moving. |
Thank you for purchasing this product. We trust that you will be completely satisfied with your product for years to come. This product is backed by a 5 year limited warranty and has been crafted with today’s lifestyles in mind. The maximum recommended weight allowance is 88 lbs (40 kg) for top surface.
Please record date of purchase below and save this booklet for future reference.
Call Us First!
DO NOT RETURN TO STORE.
For immediate help with assembly, warranty or product information call our toll-free number: 1-800-949-9974
Our staff is ready to provide assistance Mon-Fri 8am to 8pm EST.
Replacement parts ship from our facility in 1-2 business days if available.
Notes:
- Working Environment Temperature: 0 – 40°C / 32 – 104°F
- Power supply: AC100V-127V,50/60HZ
- Unplug the power plug before cleaning, wipe the dust on surface with damp cloth when cleaning. Be careful not to let internal parts get wet.
- The electric box contains electronic components, metals, plastics, wires etc., so dispose of it in accordance with each country’s environmental legislation, not the general household waste.
- Be familiar with all functions and program settings of the product before first use.
- Children are forbidden to play on the product because of unforeseen action when playing, so any dangerous consequences caused by this improper action will not be on manufacturers.
- Slight noise caused by the motor mechanism will not have any effect on the use of the product.
- Do not use corrosive or abrasive materials to clean this product. Dispose of cleaning solutions in an environmentally safe manner.
- Understand the risks associated with using, operating and cleaning this product. Children or those with cognitive impairment should not handle this product in these ways without supervision.
- Please operate in a clean and safe environment. For example, do not leave your tools around, and always be careful dealing with packaging materials, in order to avoid any possible danger.
- Potential choking risk exists when children play with plastic bags.
- If the supply cord is damaged, it must be replaced by the manufacturer, its service agent or a similarly qualified person in order to avoid a hazard.
Product Specifications
| Stage Base | 2 |
| Max. Load Capacity | 88LBS / 40KG |
| Max Speed | 0.98″/s / 25mm/s |
| Input Voltage | 100-240V |
| Lowest Position | 29.5″ / 750mm |
| Highest Position | 49.2″ / 1250mm |
| Tabletop Dimensions | (Length) 47.6″ / 1210mm (Width) 23.6″ / 600mm |
| Duty Cycle | 32 – 104°F / 0 – 40°C |
| Temperature | Work continuously for 2 minutes, pause for 18 minutes |
| Functional Instructions | Charging function/Child lock function |

Attention: The drawings below are only for reference and might be slightly different from the actual part. Should any tools be missing, or you have installation problems, please contact customer service.
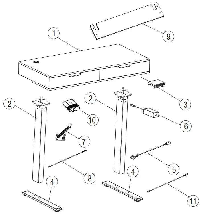
PARTS LIST
| Name | Part | Qty. | |
| A | ST4.2×16 | 3 | |
| B | M6x12 | 8 | |
| C | M6x35 | 8 | |
| D | M4x16 | 4 | |
| E | 4×4 | 1 | |
| F | 5×5 (with cross) | 1 | |
| G | ST3.5×25 | 2 | |
| H | Cable Tie | 4 | |
| I | Fixed sheet metal | 2 | |
| J | ST4.2×13 | 4 | |
COMPONENT LIST
| Name | Part | Qty. | |
| 1 | Tabletop Set | 1 | |
| 2 | Lifting columns | 2 | |
| 3 | Handset | 1 | |
| 4 | Feet | 2 | |
| 5 | Power plug | 1 | |
| 6 | Adapter | 1 | |
| 7 | Cable Tie | 4 | |
| 8 | Handset Cord | 1 | |
| 9 | Baseboard | 1 | |
| 10 | Sensor Module | 1 | |
| 11 | Module connection cable | 1 | |
| 12 | Cross Screwdriver | 1 | |

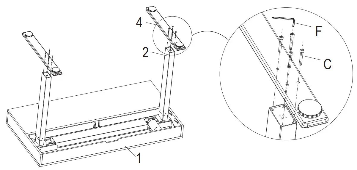
Assembly Instructions
Step 1
Install the lifting column

Insert the lifting columns completely before rotation, avoiding height differences.
The long side of the lifting column is parallel to the short side of the tabletop.


Step 2
Install the feet


Attach the feet (4) to the lifting columns (2), and tighten the screws (C) with a 5×5 Allen key (F).
Step 3
Install the handset and sensor module

Place the handset (3) at the three bottom holes on the tabletop and tighten the screw (A) with a Cross Screwdriver (12).Then place the sensor module at the two bottom holes on the table board and use the same method to screw it tightly.
Step 4
Wire all cables to the Adapter

Step 5
Install baseboard

Insert the desktop fixed sheet metal (I) into the baseboard (9).
Step 6
Fix the baseboard

Attach baseboard (9) to tabletop set (1) and use Cross Screwdriver (12) to tighten the screw (D).
Operating Instructions – Push-Button Hand Control Button

Control Method
1.Button introduction:
There are six buttons, including ”
” , ”
” , “1” , “2” , “3” , “4”
- ”
“: Adjust the desk upwards - ”
“: Adjust the desk downwards - “1” : Position 1, first height position saved by the user
- “2” : Position 2, second height position saved by the user
- “3” : Position 3, third height position saved by the user
- “4” : Position 4, fourth height position saved by the user
- Height Adjustable Function:
1. Press the ”
” button, the standing desk will rise up, press and hold to continue to rise.
2. Press the ”
” button, the standing desk will go down, press and hold to continue to drop. - Height Memory Function:
1. When the desktop is in a static state, press and hold the button “1” for three seconds, the display shows “S-1”, which means the save is successful. Then adjust the desktop to any preferred height. Click the button (1) to return to the original memory height.
2. Buttons “2”, “3” and “4” all have the same memory height function as button “1”, just repeat the above steps. Reset Function:
1. When the height of the table does not match the actual height, the table needs to be reset and corrected. - Simultaneously press and hold the “3” and “4” buttons for ten seconds to enter reset mode after hearing the buzzer prompt.
2. The display will show “RST “, after entering reset mode. At that time, press and hold the ”
” button to start reset.
The tabletop will rebound after reaching the lowest position. The reset is completed until 29.5″ is showed on the display. - USB Charging Ports:
Integrated Output Ports ( 2 Type-A, 1 Type-C ports) will not work while desk is in motion or at reset state. - Anti-collision sensitivity adjustment – optional features:
1. Simultaneously press and hold the ” ” and ” ” buttons for five seconds to switch the sensitivity, one operation to switch one level, divided into 4 levels, A-0, A-1, A-2, A-3
2. The display shows ” ” to indicate the anti-collision function is closed; the display shows ” ” to indicate high sensitivity; the display shows ” ” to indicate medium sensitivity; the display shows ” ” to indicate low sensitivity.
3. When the desk goes up or down, it will rebound immediately when encountering obstacles. - Child lock function:
1.Long press “1” button and “2” button for about 3 seconds at the same time to start the child lock function,the screen will display ”
” or ”
“. When the child lock is open,press any button will trigger the buzzer.
2. To unlock or start the child lock, long press “1” button and “2” button for about 3 seconds.
3.Only when the child lock is unlocked, all the buttons can work normally.
Push-Button Error Codes
- Reset function definition: When the LED display shows ” “or ” “, press and hold the ”
” button to start the reset.
When the desktop drops to the lowest height, it starts to rebound and run upwards. The reset is completed, until the display shows 29.5″. - If “E01” or “E02” appears, please let the desk rest for more than 18 minutes before it can be used normally.
- If other codes appear and holding the ”
” button for a long time does not get any response, please confirm that the connection line is not damaged and the connection is normal. Cut the power for more than 10 seconds, then turn on the power again, when the display shows” “or ” “, press and hold the ”
” button to reset. - If the desk still does not operate normally after performing above operations, please contact customer service.
| Error code | Problem | Solution |
| E01 | Continuous working time too long | Please let the desk rest for more than 18 minutes before it can be used normally. |
| E02 | Motor overheat | Same as E01 |
| E03/E04 | Motor overload | 1.Please make sure loading weight not over rated range, if over weighted, please reduce loading weight, long press ” 2.If not over weighted, please directly keep pressing the ” |
| E07 | Motor fault | Please make sure the 6PIN and 4PIN wires are in good connection. We could connect all wires again, and then keep pressing ”
|
| E22 | Motor & power supply fault | Same as E07 |
| RST | First remove anything under the desk that may obstruct travel.Next unplug the desk from the power and wait 30 seconds.Then simultaneously press and hold “3” and “4” buttons for ten seconds to enter reset mode after hearing the buzzer prompt. The display will show “RST “, after entering reset mode. At that time, press and hold “V ” button to start reset. The tabletop will rebound after reaching the lowest position. The reset is completed until 29.5″ is showed on the display. |
Troubleshooting
This list is used for checking and solving common faults and errors. Please contact customer service if problem you encounter is not on the list. For app related questions please visit FAQ section on Smartlife app.
| Issue | Solution |
| Electronic functions are not functioning properly | Check if all the cables are connected well |
| Rising at a low speed | 1.Check if desk surface is overloaded. Maximum loading weight is 40kg/88Ibs 2.If it’s not overloaded, please take a short video to show problems and contact customer support for further assistance |
| Downward sliding | |
| Frequently reset | |
| Goes down but does not go up; or goes up but does not go down | Reset operation (see page 14) |
| Desk does not go up or down to desired height | |
| Cannot go up at the bottom | |
| Overheating (Duty cycle:Max 2min on/18min OFF) | Restart after suspended for 18mins while connecting with power; |
| USB cannot be charged | Solution 1 – Reset the desk Solution 2 – Wait seconds for using after rising or lowing the desk |
| Press the down button to raise, but the device lowers instead | 1.Check if there are obstacles under the desk or if there are wires in the way 2.If problem persists, please take a short video to show problems and contact customer support for further assistance |
Operating Instructions – Sensor Module
Sensor Specifications
| Sensor Module Dimensions | 2.8″x2.36″x0.98″ / 71mmx60mmx25mm |
| Sensor range | 23.62” x 19.68” / 60 x 50cm |
| Input Voltage | DC5V |
| Weight | 0.1lbs / 45g |
| Temperature | 32 – 86°F / 0 – 30°C Recommended 55 – 77°F/10 – 25°C for optimum sensor range performance |


Please note: Different environment temperatures or heavy wardrobe (e.g. bulky jacket) may affect Wellness Tracking performance.
Device status indicator

Motion Sensor Indicator (red light):
If it is detected that a person is within sensor range, it is always on; otherwise, it is always off.
Networking indicator light (blue light):
- No light: Wi-Fi and cloud server are not connected.
- Light always on: connected to Wi-Fi and cloud server.
- Quick flashing (flashing 2 times per second): after the user long presses the Reset button, they will be prompted to indicate the status of app network configuration at this time. This state lasts for 5 seconds.
- Normal flashing (flashing 1 time per second): the device is ready for Network connection, then the user can pair the device with the app.
- Slow flash (flashing 1 time every 2 seconds): the device is connected to Wi-Fi , but failed server connected to a cloud (may be Wi-Fi network problems).
Select the Wi-Fi or hotspot you want to connect to, and enter the correct password to connect.

App Operating Guide
Please Note: your network must be on 2.4 GHz to work with the app.
1) Download the free ‘’SmartLife-Smart Living’’ App to your phone or tablet. The App will walk you through setting up and managing your Realspace Smart Desk. Search for “SmartLife” in one of the app stores below or scan the QR code with your phone’s camera.
https://smartapp.tuya.com/smartlife
2) Create Account – Follow instructions to set up account.
3) Add Device/Pairing Device
- Tap Add Device or the plus icon (+) in the top-right corner on the Smart Life app Home screen to go to the device adding page.

- Activate pairing mode on desk by pressing and holding the reset button at the back of sensor module under desk for 4 seconds until blinking blue light appears.
- Find device in Smart Life and tap ‘’Auto Scan’’ or ‘’Add Manually’’:
A. Auto Scan: Tap “Auto Scan” and ensure that the device is ready for network connection, the app must be granted Wi-Fi and Bluetooth permissions. Once device is found, click next to complete pairing.
Note: If the search times out and no devices are found, follow the instructions to troubleshoot the issue and try again, or try to manually add device.
B. Add Manually: Tap “Add Manually” and select “Category” then click on “Small Home Appliances” – “Motor”. - Follow steps to complete set-up instructions in Smart Life app. You can start using your desk once you see ‘’added successfully’’ on your screen.

- Cannot connect to Wi-Fi
– Check if you have selected a 2.4 Ghz Wi-Fi which is the same that your phone is connected with. (If your router is a dual band, make sure your phone and the Smart Desk are connected to the 2.4 G signal).
– Check if you have entered the correct Wi-Fi password.
– Check if there are any internet problems. If necessary, reset your Wi-fi router and try again.
– It is recommended to perform add/pairing on only one device at a time.
– If the network configuration fails for two or three consecutive times, it is recommended to power off the device for 5 seconds and then power it on again, exit the app background and reopen it, and then try a new network configuration operation.
Operating App Features
- Levels
Customize up to 4 programmable preset levels.
Please note: if you manually program your desk height settings on the actual handset on the product, setting levels on the app will override your previous setting and vice versa.
- Wellness Tracking
Wellness tracking allows you to track the amount of time you are standing at your desk, set standing goals, and get reminders.
Set Goals to keep track of your progress daily, weekly, monthly, or yearly. Maximum one goal per time period.
Click + to add goal, use dial to set goal length followed by frequency, with the option to name your goal when saving.
Schedule Reminders to sit or stand. Note: Reminders only work in App.
Activity History gives you a quick glance at your activity by tracking the amount of time you are standing at your desk.
If a standing goal is set the progress against that goal will be measured per time period.
PLEASE NOTE: The activity history page needs to be refreshed to display data. To refresh the page, go back to Homepage and then return to Activity History.

3 – Sensor Settings
The desk is equipped with a sensor that detects when a user is in front of the desk. By default, the sensor is set to track
standing when desk height is at 39.3 inches or higher. To customize your sensor standing position simply enter a number between 29.5 – 49.2 inches. Anything above this height will be considered standing for tracking. 
4 – Child Lock
Lock your desk control panel by turning on child lock. When child lock is turned on all desk height adjustments will be disabled, the levels/slider on the APP and voice control will not work. WARNINGS: Children should never be allowed to operate the desk. Do not leave children unattended near product at any time. Do not rely on child lock feature to keep your children safe.

* Pls note: Smart Life APP will be updated aperiodically, there will be slight difference between real APP and this operating instructions.
Voice Command Guide
Control Your Smart Desk with Alexa/Google Assistant
Before you start, make sure that:
- Your Smart Desk is connected with Wi-Fi and can be controlled by app
- You have an Alexa-enabled device (i.e., Echo, Echo Dot) or a device enabled with Google Assistant (i.e., Google Home)
- The Amazon Alexa app or the Google Home app is already installed on your smart device and you have created an account
- To operate desk using voice commands through a tablet, you must install app/link device in your mobile device first.
To control your device with Amazon Alexa App, please select one of the two options:
Option 1
- Open Smart Life App, click [Me]
- Click on [Alexa] icon under “Third-Party Voice Services”
- Click [Sign in with Amazon], then [Link]
- After successfully linking device, you can use the specific voice commands below to control your desk with Alexa
Option 2
- Open the Alexa App, click [More], select [Skills & Games]
- Search and select, “Smart Life” App
- Click [Enable to use], then [Agree and Link]
- Once linking is successful, click [Close], then [Discover Devices]
- After successfully adding device, you can use the specific commands below to control your desk with Alexa
Voice Commands – Alexa
a. “Alexa, set (device name) to Level 1’’
b. “Alexa, set (device name) to Level 2’’
c. “Alexa, set (device name) to Level 3’’
d. “Alexa, set (device name) to Level 4’’
e. “Alexa, set (device name) to 0%-100%”
f. “Alexa, raise (device name) to 0%-100%”
g. “Alexa, lower (device name) to 0%-100%”
* 0% is equivalent to 29.5 inches, 100% to 49.2 inches. Decimals will not work for % voice commands, please use whole numbers only.
To Control your device with Google Home App, please select one of the two options:
Option 1
- Open your Smart Life App, Click [Me]
- Click [Google Assistant] icon under “Third-Party Voice Services”
- Click [Link with Google Assistant], select [Agree and link]
- After successfully linking device, you can use the specific commands below to control your desk with Google Assistant
Option 2
- Open Google Home App
- Click [+] button on upper left corner
- Click [Set up device], then [Works with Google]
- Search and select, “Smart Life” App
- Click, [Agree and Link]
- After successfully linking device, you can use the specific commands below to control your desk with Google Assistant
Voice Commands – Google Assistant
a. “Hey Google, set (device name) to 0%-100%”
b. “Hey Google, set (device name) level 1”
c. “Hey Google, set (device name) level 2”
d. “Hey Google, set (device name) level 3”
e. “Hey Google, set (device name) level 4”
* 0% is equivalent to 29.5 inches, 100% to 49.2 inches. Decimals will not work for % voice commands, please use whole numbers only.
Additional voice commands below may be used but are not approved as available commands by Google.
f. “Hey Google, raise (device name) to 0%-100%”
g. “Hey Google, lower (device name) to 0%-100%”
h. “Hey Google, increase (device name) to 0%-100%”
I. “Hey Google, decrease (device name) to 0%-100%”
* 0% is equivalent to 29.5 inches, 100% to 49.2 inches. Decimals will not work for % voice commands, please use whole numbers only.
Troubleshooting Voice Commands
- Cannot control the devices with Alexa/Google voice control
– Check if there are any internet problems
– Check if you have enabled “Smart Life” in Alexa or Google app
– Check if you are using proper commands when talking to Alexa/Google Assistant, repeat your question, speak clearly to Alexa/Google Assistant in English
– Check if you have modified the name of the Smart Desk in “Smart Life” app. If yes, you need to rediscover the devices through Alexa/Google app.
FCC Statement
This device complies with Part 15 of the FCC Rules. Operation is subject to the following two conditions:
(1) this device may not cause harmful interference, and (2) this device must accept any interference received, including interference that may cause undesired operation.
NOTE: This equipment has been tested and found to comply with the limits for a Class B digital device, pursuant to Part 15 of the FCC Rules. These limits are designed to provide reasonable protection against harmful interference in a residential installation. This equipment generates, uses and can radiate radio frequency energy and, if not installed and used in accordance with the instructions, may cause harmful interference to radio communications. However, there is no guarantee that interference will not occur in a particular installation. If this equipment does cause harmful interference to radio or television reception, which can be determined by turning the equipment off and on, the user is encouraged to try to correct the interference by one or more of the following measures:
- Reorient or relocate the receiving antenna.
- Increase the separation between the equipment and receiver.
- Connect the equipment into an outlet on a circuit different from that to which the receiver is connected.
- Consult the dealer or an experienced radio/TV technician for help.
Caution: Please note that changes or modifications not expressly approved by the party responsible for compliance could void the user’s authority to operate the equipment
Office Depot, LLC Limited Five Year Product Warranty
This limited warranty covers the original purchase of new product used for normal commercial, personal or household use. Office Depot, LLC (Office Depot) warrants its products will be free from defects in materials and workmanship (normal wear and tear excepted), for five (5) years from the date of purchase, except as provided below. Office Depot, at its option, will replace with a comparable product, free of charge, any product purchased from it that fails under normal use as a result of such defect. This warranty does not apply to damage caused by fire, accident, negligence, misuse, use other than as stated in product instructions, improper cleaning or other circumstances not directly attributable to defects in materials and workmanship.
Natural variations occurring in wood or other materials will not be considered defects, and Office Depot does not warrant the color-fastness or matching of colors, grains, or textures of such materials. This warranty does not apply to: modifications of the product, attachments to the product not approved by Office Depot, and products that were not installed, used, or maintained in accordance with product instructions and warnings.
This warranty has the following exceptions: Fabrics, foam, veneer finishes and other covering materials are warranted for three years from date of purchase.
Proof of purchase is required in the form of a receipt (copy or original) to validate warranty. Warranty claims without the receipt may be rejected.
If Office Depot chooses to provide a refund for such product, it will be fulfilled in the form of an Office Depot Merchandise card. Claims fulfilled in this manner take approximately 30 days to process.
OFFICE DEPOT PROVIDES THIS LIMITED WARRANTY IN LIEU OF ALL OTHER WARRANTIES EITHER EXPRESSED OR IMPLIED. EXPRESSLY EXCLUDED ARE ALL WARRANTIES OF FITNESS FOR A PARTICULAR PURPOSE OR MERCHANTABILITY. OFFICE DEPOT’S SOLE OBLIGATION AND THE USER’S EXCLUSIVE REMEDY UNDER THIS WARRANTY SHALL BE LIMITED TO THE REPAIR, REFUND (IN THE FORM OF AN OFFICE DEPOT MERCHANDISE CARD) OR REPLACEMENT AT OFFICE DEPOT’S SOLE DISCRETION AND COST, OF PRODUCT OR COMPONENTS.
IN NO EVENT SHALL OFFICE DEPOT, ITS AFFILIATES, SUBSIDIARIES OR PARENT COMPANIES BE RESPONSIBLE FOR CONSEQUENTIAL, SPECIAL, OR INCIDENTAL DAMAGES ARISING OUT OF A CLAIM OF DEFECTIVE PRODUCT EVEN IF OFFICE DEPOT HAS BEEN ADVISED OF THE POSSIBILITY OF SUCH DAMAGES.
SOME STATES OR PROVINCES DO NOT ALLOW THE EXCLUSION OF IMPLIED WARRANTIES OR LIMITATIONS ON HOW LONG AN IMPLIED WARRANTY LASTS OR THE EXCLUSION OR LIMITATION OF INCIDENTIAL OR CONSEQUENTIAL DAMAGES SO THE ABOVE LIMITATIONS MAY NOT APPLY TO YOU. THIS WARRANTY GIVES YOU SPECIFIC LEGAL RIGHTS, AND YOU MAY ALSO HAVE OTHER RIGHTS WHICH MAY VARY BY STATE OR PROVINCE.
THIS WARRANTY APPLIES ONLY TO THE U.S. AND CANADA.
Service Instructions
Please call: 1-800-949-9974 for warranty service.
Smart Electric Height-Adjustable Desk Assembly instructions and warranty information
For customer support, call 1-800-949-9974
Date Manufactured Lot #
version 0522 Items 7500109, 7500520
Google and Android are trademarks of Google LLC.
Amazon, Alexa, and all related marks are trademarks of Amazon.com, Inc. or its affiliates.
Realspace is a trademark or registered trademark of The Office Club, Inc.
© 2021 Office Depot, LLC. All Rights Reserved.
Made in China ![]()


Note: If the search times out and no devices are found, follow the instructions to troubleshoot the issue and try again, or try to manually add device.


Activity History gives you a quick glance at your activity by tracking the amount of time you are standing at your desk.
















