V I V O DESK-V000V Desk Converter

Product Information
The Black Desk Riser is a product designed to improve your work experience by providing a comfortable standing or sitting position while you work. It has a weight capacity of 33lbs (15kg) and comes with a product warranty for your satisfaction. The product package includes a desk riser, foot extensions, keyboard bracket, keyboard tray, cable clip, zipties, and screws. Please note that some hardware included may not be used.
Contact Information:
- Call: 309-278-5303 (Monday-Friday 7 am-7 pm CST)
- Chat: www.vivo-us.com
- Email: [email protected]
Product Usage Instructions
Before starting the assembly process, please make sure to read the instructions carefully. If you have any concerns about the safety of the installation or do not understand the directions, please call a qualified technician. Also, please check carefully to make sure there are no missing or defective parts.
Tools Needed:
- Phillips Screwdriver
- Scissors
Assembly Steps:
- Open Packaging: Carefully remove the Desk Riser (A) from the packaging.
- Install Feet Extensions: Flip Desk Riser (A) upside down, then attach Feet Extensions (B) to the frame using M5x10mm Screws (S-A).
- Raise Desk Riser: Press the handles on each side and lift Desk Riser (A).
- Mount Keyboard Brackets: Mount Keyboard Brackets (C) to Keyboard Tray (D) using M5x10mm screws (S-A).
Please follow the assembly steps carefully to ensure the proper installation of the product. If any parts are received damaged/defective or you are missing a part, please reach out to customer support within 30 days of product delivery to have it replaced at no cost. We hope you enjoy your new Desk Riser!
ASSEMBLY VIDEO AVAILABLE:
Follow along step-by-step with our video walk through by scanning the QR code with your mobile device or by following the product link: vivo-us.com/products/desk-v000v.

Contact Us First!
DO NOT RETURN ITEM
Our friendly product support team is here to help!
PERSONABLE CUSTOMER SUPPORT
7AM – 7PM
Monday-Friday
- Give us a Call: 309-278-5303
- Chat Us: www.vivo-us.com.
- Email Us: [email protected].
We’re Here for You!
Our customer-minded support team is here for YOU, Monday-Friday 7am-7pm CST. We offer immediate assistance with rapid response times from customer service agents and product techncians to help you every step of the way!
Missing a Part?
If any parts are received damaged / defective OR you are missing a part, please reach out to us within 30 days of product delievery to have it replaced at no cost. We are happy to replace parts to ensure you have a fully functioning product.
PRE-ASSEMBLY BEFORE YOU BEGIN
If you do not understand these directions, or if you have any doubts about the safety of the installation, please call a qualified technician. Check carefully to make sure there are no missing or defective parts. Improper installation may cause damage or serious injury. Do not use this product for any purpose that is not explicitly specified in this manual. Do not exceed weight capacity. We cannot be liable for damage or injury caused by improper mounting, incorrect assembly or inappropriate use.
WARNING: CHOKING HAZARD
- SMALL PARTS – NOT FOR CHILDREN UNDER 3 YEARS. ADULT SUPERVISION IS REQUIRED.
TIPOVER WARNING
SERIOUS OR FATAL CRUSHING INJURIES CAN OCCUR FROM TIPOVER. TO HELP PREVENT TIPOVER:
- NEVER ALLOW CHILDREN TO CLIMB, STAND, HANG, OR PLAY ON ANY PART OF TV OR TV CART.
- USE TIPOVER RESTRAINT OR ANCHOR STAND TO WALL
- USE OF TIPOVER RESTRAINTS MAY ONLY REDUCE, BUT NOT ELIMINATE RISK OF TIPOVER.
USE OF TIPOVER RESTRAINTS MAY ONLY REDUCE, BUT NOT ELIMINATE RISK OF TIPOVER.
WEIGHT CAPACITY
DO NOT EXCEED WEIGHT CAPACITY. Failure to do so may result in serious injury.

Product Warranty
For the most up to date details on your product’s warranty, please visit the product’s listing on our website or reach out to customer support. vivo-us.com/products/desk-v000v.
Returns | Product Didn’t Work Out?
We offer a hassle-free 30 day return on all products. Contact customer support at 309-278-5303 or [email protected]. Please note: For items ordered in error or no longer needed, the return shipping charges will be at the buyer’s expense.
TOOLS NEEDED:

PACKAGE CONTENTS
Please consult the parts list below and ensure you have everything you need to assemble your product. If parts are missing or damaged, please contact us.

NOTE: SOME HARDWARE INCLUDED MAY NOT BE USED
ASSEMBLY STEPS
STEP 1: Open Packaging
Carefully remove the Desk Riser (A) from the packaging.

STEP 2: Install Feet Extensions
Flip Desk Riser (A) upside down, then attach Feet Extensions (B) to the frame using M5x10mm Screws (S-A).

STEP 3: Raise Desk Riser
Press the handles on each side and lift Desk Riser (A).

STEP 4: Mount Keyboard Brackets
Mount Keyboard Brackets (C) to Keyboard Tray (D) using M5x10mm screws (S-A).

STEP 5: Install Keyboard Tray
Hang assembled keyboard tray onto pre-installed knobs, and tighten knobs to secure.
NOTE:
Make sure the keyboard brackets are curving towards the user, not towards the inside of the desk.

STEP 6: Place Items on Desk Riser
Place monitor, laptop and other items on desk surface.

STEP 7: Install Cable Clip
Attach Cable Clip (S-B) to desk to manage keyboard and mouse cables.

STEP 8: Manage Cables
Manage cables using Zip Ties (S-C).

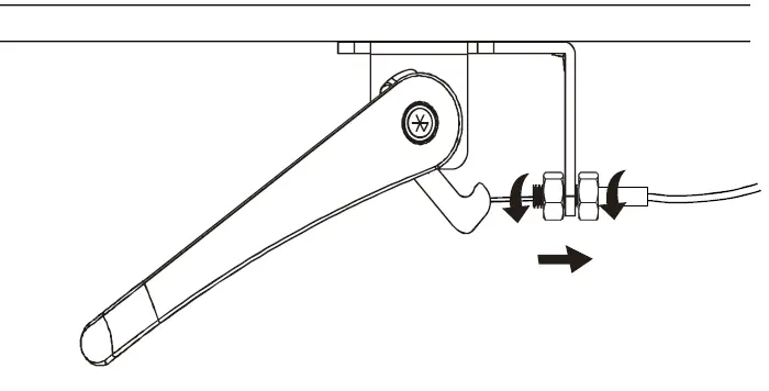
STEP 9: Adjust Height
If locks are not releasing properly to change desk height, adjust the position of the black tube containing the steel release cable. Turn the nuts at the end of the tube just behind the handle as shown, moving the tube away from the handle until the cable once again has proper tension, then tighten the nuts.

Caution:
- Keep monitor and laptop base fully on the desktop.

- Follow the cable routing instructions to avoid the potential to pinch cables.

- Leave enough slack in cable to allow for full range of vertical motion (15″ / 38 cm).

- Raise desktop slowly to keep items stable.

Failure to follow these instructions may result in property damage and/or personal injury.
CHECK OUT OTHER GREAT PRODUCTS FROM
EXPLORE MORE AT VIVO-US.COM
We offer a wide array of home & office products to fit your needs. From height adjustable desks to monitor mounts to keyboard trays and more!
SPEAKER MOUNTS & STANDS
Whether you’re mounting a soundbar or surround sound system, we’ve got a mounting solution to fit your needs.

HEIGHT ADJUSTABLE DESKS

We offer electric & manual crank standing desks, corner frames, desk & top combos, and more!

MONITOR MOUNTS

From single monitor mounts to hex mounts, grommet or clamp-on, we’ve got a mounting solution for your setup.

WHO WE ARE
VIVO is more than a brand of ergonomic office furniture. We are a team of creative and innovative indivuduals working together to offer high quality, affordable ergonomic solutions. We think and work outside of the box to serve you, our customer, to the best of our abilitiy.
Need Assistance
We Would Love to Help!
Personable Customer Support | Mon-Fri 7 am-7 pm
We offer immediate assistance with rapid response times from customer service agents and product techncians to help you every step of the way!
- Call Us: 309-278-5303
Average Resolution Time: 5m 4s - Chat Us: www.vivo-us.com
Average Resolution Time: < 15m - Email Us: [email protected]
Average Resolution Time: 1HR 8M- 23% within < 15m
- 38% within < 30m
- 61% within < 1hr
- 83% within <2hr
- 92% within < 3hr
LOVE YOUR NEW VIVO SETUP?
Ready to share that new amazing setup? Want to brag about that amazing new ergonomic solution?
Tag us in your photo!
- Facebook: VIVO-us
- Instagram: @vivo_us
FOR MORE GREAT VIVO PRODUCTS, CHECK OUT OUR WEBSITE AT: WWW.VIVO-US.COM.
References
Register a .US.COM domain today!
VIVO - Desks, Monitor Mounting, and More Home & Office Solutions – VIVO - desk solutions, screen mounting, and more
36" Standing Desk Converter – VIVO - desk solutions, screen mounting, and more
VIVO - Desks, Monitor Mounting, and More Home & Office Solutions – VIVO - desk solutions, screen mounting, and more













