LEDALITE Mounting Kits Instruction Manual
Mounting Kits
For each row of lightscapes installed, the first fixture will need 2 mounting points (1 powered and 1 non-powered). For every extra lightscape added in the same row, one extra mounting point is needed (powered).

Example with Al mounting kit
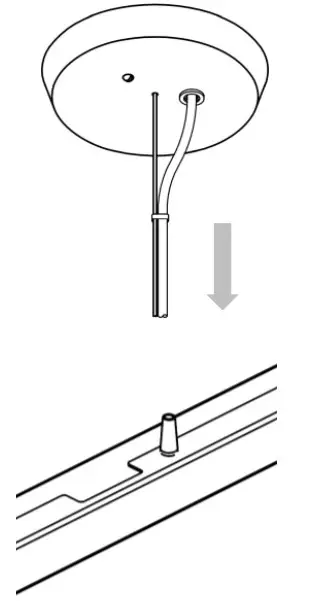
NON-POWERED

Slide the cable through the gripper’s hole
POWERED

Place power cable during mounting kit installation and then slide the non-powered cable through the gripper’s hole
See further pages for mounting kit installation
Mounting kits for Daylight and Lightscape
For each daylight panel, 4 mounting points are needed (3 non-powered and 1 powered).

Example with A1 mounting Kit
NON-POWERED

Slide the cable through the gripper’s hole
POWERED

Place power cable during mount kit installation and then slide the non- powered cable through the gripper’s hole
See further pages for mounting kit installation
Nature Connect
Non-accessible ceilings
Al 0°-15° Slope Mount
Designed for flat or gently sloping non-accessible ceilings (0°-15″ slope) where the electrical box is pre-installed either surface mounted or recessed in the ceiling. System conceals mounting hardware to provide a clean, finished look.
- Stranded aircraft cable with full vertical adjustment at fixture
- 4″ octagonal box (supplied by others)
- Canopy is 5-1/4″ diameter x 3/4″ high for power & no power mounts
- Optional cover ring available for surface mounted power (not shown)
- Optional Chicago Plenum version available (specify Mount Type A4
T-grid ceilings
A2 Fixed Position Mount
Fixed Position Mount (standar tee, slot tee, tegular tile) uses fixed placement of 1/4″-20 threaded rod (supplied by others) and integral electrical box (supplied by Philips Ledalite) to work with all T-grid ceiling types.
- Stranded aircraft cable with full vertical adjustment at fixture
- Canopy is 3″ diameter x 7/32″ high for power and non-power mounts
- Tile cut-out is 2-1/2″ diameter for power or 3/4″ diameter for non- power
- 1/4″-20 threaded rod (supplied by others)
A3 0°-90° Slope Mount
Versatile mount designed for flat or sloped non-accessible ceilings (0″-90° slope) where the electrical box is pre-installed either surface mounted or recessed in the ceiling. Exposed mounting hardware provides more industrial look.
- Mountable on 0-90′ sloped ceiling
- Stranded aircraft cable with full vertical adjustment at fixture
- 4″ octagonal box (supplied by others)
- Canopy for power is 5-1/4″ diameter x 3/4″ high
- Mount bracket is 2-3/4″ wide x 2″ high
- Optional canopy collar included to conceal exposed 4″ octagonal box
A5 24” T-grid Span Mount
24″ T-grid Span Mount allows flexible placement of luminaires in the tile. Good for products with off-grid mounts or spaces where ducting and/or other structural barriers require mounting flexibility.
- Aligned by T-grid and secured to structure
- Adjusts to both 1″ and 1-1/2″ high T-grid ceiling types*
- Stranded aircraft cable with full vertical adjustment at fixture
- 4″ square box (supplied by others)
- Canopy is 3″ diameter x 7/32″ high for power and non-power mounts
- Tile cut-out is 2-1/2″ diameter for power and non-power mounts
- Note: Consult factory for non-standard ceiling types and tiles
A6** On-grid Mount

On-grid Mount system (standard tee, slot tee) clips directly to tee in either orientation. Quick and simple to install.
- Supported by T-grid and secured to structure
- Stranded aircraft cable with full vertical adjustment at fixture
- 4″ square box (supplied by others)
- Canopy is 3-3/4″ diameter x 7/32″ high for power and non-power mnts
- 65 lbs maximum static load
Note: Supports T-grid (15/16″ and 9/16″) and Slot T-grid (9/16″ x 5/16″)
ceiling types.
Compatible with Ledalite fixtures that provide 4’, 8′ or 12′ mount spacing. To meet seismic requirements, additional tie-offs may be required. Consult local codes.
**Select applicable size/tile type:
6-1 On-grid 15/16” (non tegular tile only)
AG-2 On-grid 9/16″ (non tegular tile only)
A6-3 On-grid 9/16″ x 5/16” (slot tee & tegular tile)
© 2021 Signify Holding. All rights reserved. The information provided herein is subject to change, without notice. Signify does not give any representation or warranty as to the accuracy or completeness of the information included herein and shall not be liable for any action in reliance thereon. The information presented in this document is not intended as any commercial offer and does not form part of any quotation or contract, unless otherwise agreed by Signify. 2/10/2022 www.ledalite.com
Signify North America Corporation
200 Franklin Square Drive
Somerset, NJ 08873
Telephone 855-486-2216
Signify Canada Ltd.
281 Hillmount Road,
Markham, ON, Canada L6C 2S3
Telephone 800-668-9008
All trademarks are owned by Signify Holding or their respective owners.













