JONATHAN Y JYL1305A Cooper 16 Inch Farmhouse Industrial Iron LED Flush Mount Instruction Manual
WARNING
- WE RECOMMEND INSTALLATION OF THIS LIGHTING FIXTURE BE DONE BY A LICENSED ELECTRICIAN. WARNING *** SWITCH OFF THE MAIN ELECTRICAL SUPPLY FROM THE MAIN FUSE BOX/CIRCUIT BREAKER BEFORE INSTALLATION.
- INSPECT ITEM CAREFULLY BEFORE ATTEMPTING TO INSTALL. IF THERE IS ANY DAMAGE OR OBVIOUS DEFECT, DO NOT INSTALL. ITEM MAY NOT BE RETURNED ONCE IT HAS BEEN INSTALLED.
CARE AND MAINTENANCE
- To clean the outside of the fixture, use a dry or slightly dampened clean cloth (use clean water, never a solvent) to wipe the surface of the fixture.
- To clean the inside of the fixture, first disconnect power to the fixture by turning off the circuit breaker or by removing the fuse at the fuse box. Next, use a dry or slightly dampened clean cloth (use clean water, never a solvent) to wipe the interior surface of the fixture.
- Do not use any cleaners with chemical, solvents or harsh abrasives. Use only a dry soft cloth to dust or wipe carefully.
NOTICE& IMPORTANT SAFETY INSTRUCTIONS
- Please make sure that you have all parts indicated before you begin assembly of this item
- This item should be assembled on a soft surface to prevent scratching the finish during assembly
- To reduce the risk of fire, electrical shock or injury to persons or property, please follow the guideline below for safe use and installation
*The external flexible cable or cord of this luminaire cannot be replaced
If the cord is damaged, the luminaire shall be destroyed
Part List and Hardware List
| PIECE | DESCRIPTION | PICTURE | QUANTITY |
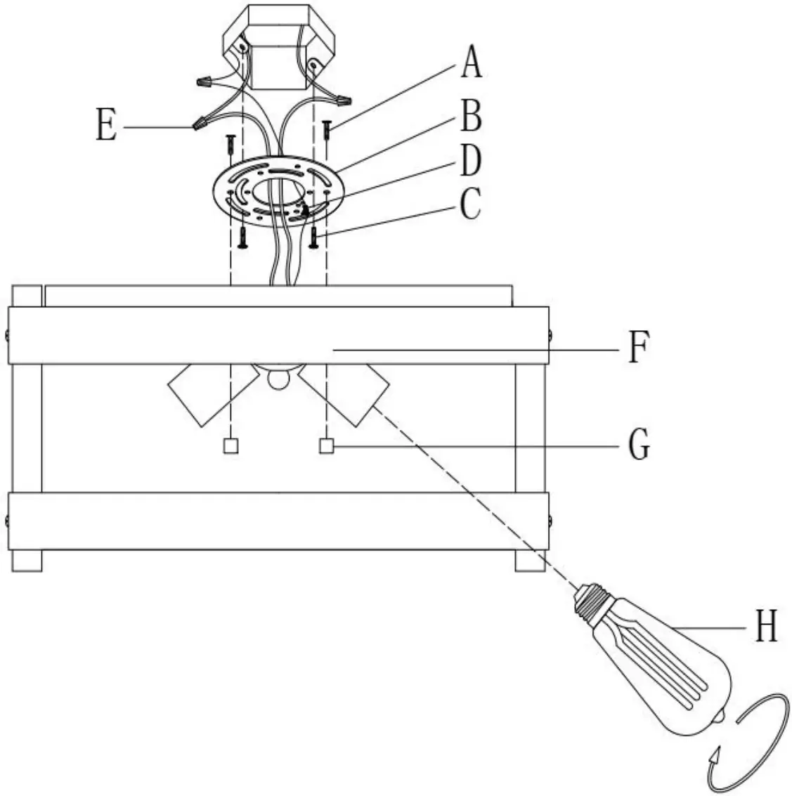
| A | mounting screw | ![]() | 2x |
| B | mounting plate | ![]() | 1x |
| C | machine screw | ![]() | 2x |
| D | ground screw | ![]() | 1x |
| E | wire connector | ![]() | 3x |
| F | body | ![]() | 1x |
| G | Screwed Ball | ![]() | 2x |
| H | bulb | ![]() | 3x |
PREPARATION
Before beginning assembly of product, make sure all parts are present. Compare parts with package contents list and hardware contents list. If any part is missing or damaged, do not attempt to assemble the product.
Estimated Assembly Time: 20 minutes.
- Thread mounting screws (A) into the mattch holes of the mounting plate(B), then fix the mounting plate(B) to the outlet box with machine screw(C).
- Make wire connections, with wire connectors(E), following the reference chart listed below.

Connect, Hot, Black or Red Outlet Supply Wire to: Connect, Neutral, White Outlet Supply Wire to: Black White * Parallel Cord (round & smooth) * Parallel Cord (square & ridged) Clear, Brown, Gold or Black without Tracer (colored stripes) Clear, Brown, Gold or Black with Tracer (colored stripes) Insulated Wire (not green) with copper metal conductor Insulated Wire (not green) with Silver metal conductor. *Note: When parallel wire ( SPT I & SPT II ) is used. The neutral wire is square shaped and ridged and the hot wire will be round in shape and smooth. ( See Illustration on left. )

Grounding Instructions:- a) For installation in the United States: Wrap ground wire from outlet box around green ground screw(D) on mounting plate, no less than 2″ from wire end. Tighten ground screw. If fixture is supplied with a ground wire, connect to outlet ground wire with a wire connector.
- b) For installation in Canada: If fixture is supplied with ground wire, wrap ground wire around green grounding screw on mounting plate. Tighten ground screw.
- Orient the ceiling canopy of the body (F) so that the mounting screws(A) protruding from the mounting plate (B) go into the holes in the canopy,then secure it with the provided screwed balls(G).
- Install bulb(H). Be sure to use light bulb(s) with wattage no greater than specified on this fixture. Always make sure that electrical current is turned off before changing bulbs.
PLEASE USE ON/OFF TYPE”A” BULB MAX 40-WATT OR LED BULB MAX 9 -WATT THERE ARE LED 3PCS 4WATT BULB IN THE BOX
ENJOY YOUR LAMP
























