JONATHAN Y JYL7567A/B 5.75 Inch Iron Contemporary Swing Arm LED Wall Instruction Manual
WARNING
WE RECOMMEND INSTALLATION OF THIS LIGHTING FIXTURE BE DONE BY A LICENSED ELECTRICIAN.
WARNING *** SWITCH OFF THE MAIN ELECTRICAL SUPPLY FROM THE MAIN FUSE BOX/CIRCUIT BREAKER BEFORE INSTALLATION.
INSPECT ITEM CAREFULLY BEFORE ATTEMPTING TO INSTALL. IF THERE IS ANY DAMAGE OR OBVIOUS DEFECT, DO NOT INSTALL. ITEM MAY NOT BE RETURNED ONCE IT HAS BEEN INSTALLED.
CARE AND MAINTENANCE
To clean the outside of the fixture, use a dry or slightly dampened clean cloth (use clean water, never a solvent) to wipe the surface of the fixture.
To clean the inside of the fixture, first disconnect power to the fixture by turning off the circuit breaker or by removing the fuse at the fuse box. Next, use a dry or slightly dampened clean cloth (use clean water, never a solvent) to wipe the interior surface of the fixture.
Do not use any cleaners with chemical, solvents or harsh abrasives. Use only a dry soft cloth to dust or wipe carefully.
NOTICE& IMPORTANT SAFETY INSTRUCTIONS
- Please make sure that you have all parts indicated before you begin assembly of this item
- This item should be assembled on a soft surface to prevent scratching the finish during assembly
- To reduce the risk of fire, electrical shock or injury to persons or property, please follow the guideline below for safe use and installation
- The external flexible cable or cord of this luminaire cannot be replaced
If the cord is damaged, the luminaire shall be destroyed
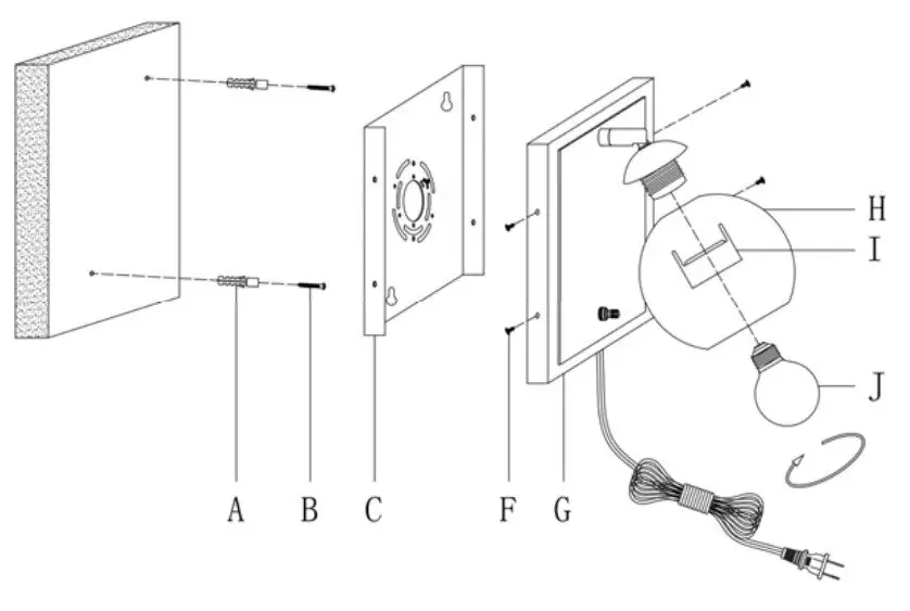
Part List and Hardware List
| PIECE | DESCRIPTION | PICTURE | QUANTITY | PIECE | DESCRIPTION | PICTURE | QUANTITY |
| A | wall anchors | 2X | G | lamp body | ![]() | 1X | |
| B | wood screw | ![]() | 2X | H | glass shade | ![]() | 1X |
| C | mounting plate | ![]() | 1X | I | socket ring | ![]() | 1X |
| D | wire connector | ![]() | 3X | J | bulb | ![]() | 1X |
| E | mounting screw | 2X | K | ground screw | ![]() | 1X | |
| F | retaining screw | ![]() | 4X |
PREPARATION
Before beginning assembly of product, make sure all parts are present. Compare parts with package contents list and hardware contents list. If any part is missing or damaged, do not attempt to assemble the product. Estimated Assembly Time: 20 minutes.
Installation to wall
- Determine the location for the lamp body. Using the mounting plate (C) as a template, mark the location of the holes for the wall anchors (A).
- Drill the appropriate size holes for the wall anchors (A). (the holes should be slightly smaller than the size of the anchors (A).) Install the wall anchors (A) to the hole. Secure wood screw (B) to the anchors (A).
- Attach the mounting plate (C) to the lamp body (G) and secure with retaining screw (F)
- Place the lamp to the wall, slip in the key hole of the mounting plate (C) in the wood screw (B).
- Put the glass shade(H) on socket,then fasten it by socket ring(I).
- Install bulb(J). Be sure to use light bulb(s) with wattage no greater than specified on this fixture. Always make sure that electrical current is turned off before changing bulbs.

PLEASE USE ON/OFF TYPE”A” BULB MAX 40-WATT OR LED BULB MAX 9 -WATT THERE ARE LED 1PC 4WATT BULB IN THE BOX
ENJOY YOUR LAMP
Installation to outlet box
- Secure mounting plate (C) to outlet box with mounting screws (D) .
- If the cord of the Lamp Body (G) is too long, the cut the excess cord. Make sure to leave at least 6-in for wiring.
Pull the power cord into the face plate of the lamp Body (G) and separate it, Tail peeling 1/2″. - Make wire connections, with wire connectors(E), following the reference chart listed below.
Connect, Hot, Black or Red Outlet Supply Wire to: Connect, Neutral, White Outlet Supply Wire to: Black White * Parallel Cord (round & smooth) * Parallel Cord (square & ridged) Clear, Brown, Gold or Black without Tracer colored stripes) Clear, Brown, Gold or Black with Tracer (colored stripes) Insulated Wire (not green) with copper metal conductor Insulated Wire (not green) with Silver metal conductor. *Note: When parallel wire ( SPT I & SPT II ) is used. The neutral wire is square shaped and ridged and the hot wire will be round in shape and smooth. ( See Illustration on left. )

Grounding Instructions:
a) For installation in the United States: Wrap ground wire from outlet box around green ground screw(K) on mounting plate, no less than 2″ from wire end. Tighten ground screw. If fixture is supplied with a ground wire, connect to outlet ground wire with a wire connector.
b) For installation in Canada: If fixture is supplied with ground wire, wrap ground wire around green grounding screw on mounting plate. Tighten ground screw. - Attach the lamp body (G) to the mounting plate (C) and secure with retaining screw (F).
- Put the glass shade(H) on socket,then fasten it by socket ring(I).
- Install bulb(J). Be sure to use light bulb(s) with wattage no greater than specified on this fixture. Always make sure that electrical current is turned off before changing bulbs.




















