HINKLEY 23014BK LED Wall Mount

Assembly Instructions
- Find a clear area in which you can work.
- Unpack fixture and glass from carton.
- carefully review instructions pr1orto assembly.
The construction of this fixture will be accomplished by first attaching the mounting bracket to the junction box, making all necessary electrical connections, mounting the fixture body to the mounting bracket.
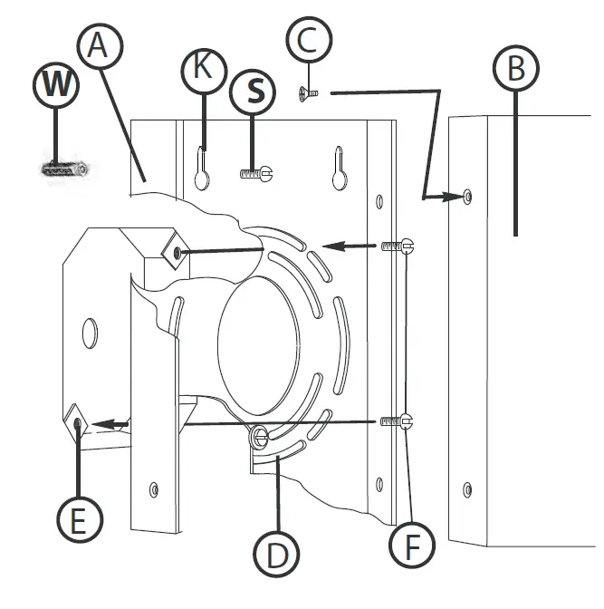
Drawing 1 – Fixture Mounting

- Remove main mounting plate (A) from the fixtures backplate(B) by removing the flat head screws (C) -SN Drawing 1.
- Slide the wires from the junction box, through the large center hole, making sure curved slots (D) line up with the threaded holes (E) in the junction box.
- Using two 8-32 screws (F) [not provided] attach the main mounting plate (A) to the junction box, making sure side of mounting plate (A) is vertical.
- Hook safety cable to backplate to support fixture during wiring
- Now wire fixture following instruction sheet (IS-18).
- Additional support for backplate can be added by slipping screws (S) through keyhole slots (K) and placing screws inside of wall anchors (W)
- Replace screws (C) removed earlier into holes to secure backplate (B)
Safety cable install

SAFETY WARNING: READ WIRING AND GROUNDING INSTRUCTIONS (I.S. 18) AND ANY ADDITIONAL DIRECTIONS. TURN POWER SUPPLY OFF DURING INSTALLATION. IF NEW WIRING IS REQUIRED, CONSULT A QUALIFIED ELECTRICIAN OR LOCAL AUTHORITIES FOR CODE REQUIREMENTS.
Make electrical connections from supply wire to fixture lead wires.
Refer to instruction sheet (I.S. 18) and follow all instructions to make all necessary wiring connections. Then refer back to this sheet to complete installation of this fixture.
Glass installation Instructions
- Find a clear area in which you can work
- Unpack fixture and glass from carton.
- Carefully review instructions prior to assembly .

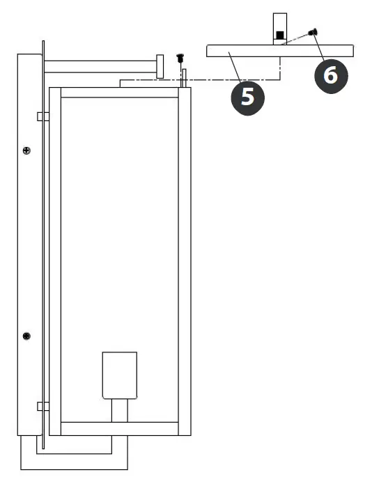
- Remove and screws (6) and take off fixture top (5) to access glass cage
- Lamp fixture with appropriate medium base bulb
- Slip bottom of glass panel (2) into channel (3) in bottom of outer body. Then tip glass up and into position.
- Next use screws (1) and glass clips (4) to secure top of glass
- Repeat process for other panels
- Replace fixture top (5) using the previously removed screws (6)
- Fixture can now be powered on

Wiring grounding instructions
SAFE TY WARNI NG: READ WIRIN G AND GROUNDING INSTRUCTIO NS (IS 18) AND ANY ADDITIONAL DIRECTIONS.
TURN POWER SUPPLY OFF DURING INSTALLATION. IF NEW WIRING IS REQUIRED, CONSULT A QUALIFIED ELECTRICIAN OR LOCAL AUTHORITIES FOR CODE REQUIREMENTS
Flus h Mount

Indoor Fixtures
- Connect positive supply wire (A ) (typically black or the smooth, unmarked side of the two-conductor cord) to positive fixture lead (B ) with appropriately sized twist on connector – see Drawings 1 or 2.
- Connect negative supply wire (C) (typically white or the ribbed , marked side of the two-conductor cord) to negative fixture lead (D).
- Please refer to the grounding instructions below to complete all electrical connection s
Outdoor Fixtures
- Connect positive supply wire (A) (typically black or the smooth unmarked side of the two-conductor cord) to positive fixture lead (B) with appropriately sized twist on connector — see Drawings 2 or 3.
- Connect negative supply wire (C) (typically white or the ribbed , marked side of the two-conductor cord) to negative fixture lead (D).
- Cove r open end of connector s with silicone sealant to form a watertight seal.
If installing a wall mount fixture, use caulk to seal gaps between the fixture mounting p late (backplate) and the wall. This will help prevent water from entering the out let box . If the wall surface is lap siding, use caulk and a fixture mounting plat form specially. - Please refer to the grounding instructions below to complete all electrical connections.

Flush Mount Fixtures
For positive grounding in a 3-wire electrical system, fasten the fixture ground wire (E) (typically copper or green plastic coated) to the fixture mounting strap (M ) with the ground screw (S) – see Drawing 1.
Note: On straps for screw supported fixtures, first install the two mounting screws in strap. Any remaining tapped hole may be used for the ground screw.
Chain Hung Fixtures
Loop fixture ground wire (E) (typically copper or green plastic coated) under the head of the ground screw (S) on fixture mounting strap (M) and connect to the loose end of the fixture ground wire directly to the ground wire of the building system with appropriately sized twist-on connectors – see Drawing 2.
Post-Mount Fixtures
Connect fixture ground wire (E) (typically copper or green plastic coated) to power supply ground with appropriately sized twist-on connector inside post. Cove r open end of connector with silicone sealant to form a watertight seal – see Drawing 3.
Caulking Instructions
After securing fixture to the wall it is recommended that the gap between the wall and the fixture backplate be sealed on the top and both sides, with a good quality waterproof caulk or silicone sealant (NOT INCLUDED) – see Drawing 1.

After securing fixture in place it is recommended that the gap between the mounting top and fixture base be sealed with any good quality waterproof caulk or silicone sealant (not included). It is also recommended that a small bead of caulk or sealant be put under the ball knobs used to mount fixture – see Drawing 2.

HINKLEY 33000 Pin Oak Parkway, Avon Lake, OH 44012 800.446.5539 / 440.653.5500 hinkley.com

















