HINKLEY 24020BK One Light Wall Mount

Product Information
The product is a light fixture with item numbers 24020 or 24024. The user manual contains assembly instructions and wiring instructions for indoor and outdoor fixtures. The manual also includes safety warnings for wiring and grounding instructions.
Product Usage Instructions
Glass Installation
- Start by slipping the glass panels into the outer body from the back, as shown in Drawing 1.
- Insert the bottom of the glass panel into the channel in the bottom of the outer body. Then, tip the glass up and into position.
- Bend over clips to secure the glass in the body. Repeat the process for other panels.
- The outer body is now ready to install on the backplate.
Wiring Instructions
Indoor Fixtures:
- Connect the positive supply wire (typically black or the smooth, unmarked side of the two-conductor cord) to the positive fixture lead with an appropriately sized twist-on connector, as shown in Drawings 1 or 2.
- Connect the negative supply wire (typically white or the ribbed, marked side of the two-conductor cord) to the negative fixture lead.
- Refer to the grounding instructions below to complete all electrical connections.
Outdoor Fixtures:
- Connect the positive supply wire (typically black or the smooth, unmarked side of the two-conductor cord) to the positive fixture lead with an appropriately sized twist-on connector, as shown in Drawings 2 or 3.
- Connect the negative supply wire (typically white or the ribbed, marked side of the two-conductor cord) to the negative fixture lead.
- Cover open ends of connectors with silicone sealant to form a watertight seal. If installing a wall mount fixture, use caulk to seal gaps between the fixture mounting plate (backplate) and the wall. This will help prevent water from entering the outlet box. If the wall surface is lap siding, use caulk and a fixture mounting platform specially.
Safety Warning
Read wiring and grounding instructions (I.S. 18) and any additional directions carefully. Turn power supply off during installation. If new wiring is required, consult a qualified electrician or local authorities for code requirements.
Assembly Instructions
start here
- Find a clear area in which you can work.
- Unpack fixture and glass from carton.
- Carefully review instructions prior to assembly.
MOUNTING

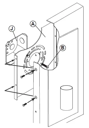
- To begin installation it will be necessary to remove the mounting plate (A) from the body of the fixture. This is accomplished by first removing the outer body (1) from the inner body (2) by removing the four screws (3) on the side of the outer body (1 ). After screws are removed the outer body will slip off of the inner body. Set the screws and parts aside in safe place for use later – see Drawing 1.
- Next remove the inner body (2) from the mounting plate (A) by removing the four side screws (4). After screws are removed the inner body will slip off of the mounting plate.
- Now take mounting plate (A) and attach it to the junction box (J) using two 8-32 screws (B) NOT PROVIDED. Make sure the mounting plate is level by placing a level across the top. When the mounting plate is level tighten screws.
- Now take the inner body and make all necessary wiring connections. Please follow the instructions sheet (IS-18) provided. Please read and follow all instruction sheets provided before proceeding.
SAFETY WARNING: READ WIRING AND GROUNDING INSTRUCTIONS (I.S. 18) AND ANY ADDITIONAL DIRECTIONS. TURN THE POWER SUPPLY OFF DURING INSTALLATION. IF NEW WIRING IS REQUIRED, CONSULT A QUALIFIED ELECTRICIAN OR LOCAL AUTHORITIES FOR CODE REQUIREMENTS. Make electrical connections from supply wire to fixture lead wires. Refer to instruction sheet (1.S. 18) and follow instructions to make all necessary wiring connections. Then refer back to this sheet to complete installation of this fixture.
- After all wiring is complete slip wires into junction box (J) and slide inner body over mounting plate (A) aligning the holes on the side of the inner body (2) with the threaded holes on the side of the mounting plate – see Drawing (2).
- After holes are aligned, thread in the four screws (4) that were removed earlier and tighten to secure inner body to mounting plate.
- Now take the outer body (1) and slip it over the inner body (2) and align holes on side of outer body with the threaded holes on the side of the inner body. Thread in the four screws (3) removed earlier – see Drawing 1.
- Installation is complete please follow instruction sheet (IS-200) provided and power can now be restored.

Glass installation In structions
- Find a clear area in which you can work.
- Unpack fixture and glass from carton.
- Carefully review instructions prior to assembly.
NOTE: GLASS CAN BE INSTALLED INTO OUTER BODY (1) PRIOR TO MOUNTING TO BACKPLATE.

- To install or replace glass panels (2) slip them into the outer body from the back – see Drawing 1.
- Slip bottom of glass panel (2) into the channel (3) in the bottom of outer body. Then tip glass up and into position. Now bend over clips (4) to secure glass in body. Repeat process for other panels.
- Outer body is ready to install on the backplate.
wiring grounding instructions
SAFE TY WARNI NG: READ WIRIN G AND GROUNDING INSTRUCTION NS (IS 18) AND ANY ADDITIONAL DIRECTIONS. TURN POWER SUPPLY OFF DURING INSTALLATION. IF NEW WIRING IS REQUIRED, CONSULT A QUALIFIED ELECTRICIAN OR LOCAL AUTHORITIES FOR CODE REQUIREMENTS
wiring instructions
Indoor Fixtures
- Connect positive supply wire (A ) (typically black or the smoo the, unmarked side of the two-conduc tor cord) to positive fixture lead (B ) with an appropriately sized twist on the connector – see Dra w ings 1 o r 2.
- Connect t nega tive supp ly wi re (C) (typically white or the ribbed, marked side of the two-conductor cord) to negative fixture lead (D).
- Please refer to the grounding instructions below to complete all electrical connections s Outdoor Fixtures
1. Connect positive supply wire (A) (typically black or the smoo the unmarked side of the two-conductor cord) to positive fixture lead (B) with an appropriately sized twist on the connector — see Drawings 2 or 3.
- Connect t negativesupp ly wi re (C) (typically white or the ribbed, marked side of the two-conductor cord) to negative fixture lead (D).
- Cove opened of connectors with silicone sealant to form a watertight seal. If installing a wall mount fixture, use caulk to seal gaps between the fixture mounting plate (backplate) and the wall. This will help prevent water from entering the outlet box. If the wal l sur face is lap siding, use caulk and a fi xture moun ting platform especially.
- Please refer to the grounding instructions below to complete all electrical connections.

grounding instructions
Flush Mount Fixtures
For positive grounding in a 3-wire electrical system, fasten the fixture ground wire (E) (typically copper or green plastic coated) to the fixture mounting strap (M ) with the ground screw (S) – see Draw in g 1. Note: On straps for screw-supported fixtures, first install the two mounting screws in strap. Any remaining tapped hole may be used for the ground screw.
Chain Hung Fixtures
Loop fixture ground wire ( E ) (typically copper or green plastic coated) under the head of the ground screw ( S ) on fi xture mounting strap (M ) and connect to the loose end of the fixture ground wire directly to the ground wire of the building system with appropriately sized twist-on connectors – see Draw in g 2.
Post-Mou nt Fixtures
Connect fixture ground wire (E) (typically copper or green plastic coated) to power supply ground with app appropriately sized twist-on connector inside the post. Cover open end of the connector with silicone sealant to form a watertight seal – see Drawing
Caulking Instructions
After securing the fixture to the wall it is recommended that the gap between the wall and the fixture backplate be sealed on the top and both sides, with a good quality waterproof caulk or silicone sealant (NOT INCLUDED) – see Drawing 1.

After securing the fixture in place it is recommended that the gap between the mounting top and fixture base be sealed with any good quality waterproof caulk or silicone sealant (not included). It is also recommended that a small bead of caulk or sealant be put under the ball knobs used to mount the fixture – see Drawing

HINKLEY 33000 Pin Oak Parkway, Avon Lake, OH 44012 800.446.5539 / 440.653.5500 hinkley.com





















