HINKLEY 22030 Flash Mount Instruction Manual

Mounting Instructions
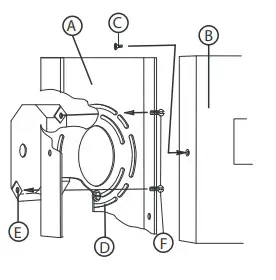
Drawing 1 – Fixture Mounting
- Remove main mounting plate (A) from the fixtures backplate(B) by removing the flat head screws (C) – see Drawing 1.
- Slide the wires from the junction box, through the large center hole, making sure curved slots (D) line up with the threaded holes (E) in the junction box.
- Using two 8-32 screws (F) [not provided] attach the main mounting plate (A) to the junction box, making sure side of mounting plate (A) is vertical.
- Next it will be necessary to attach tail brace bracket (1) to the wall. before mounting the fixture to the wall. This is accomplished by temporarily attach the fixture to the mounting bracket (A). Now locate the centerline of the backplate (B) and measuring down
- ” (125mm), and place a mark at this point. Drill hole for plastic anchor (3) provided, insert anchor, and mount tail brace bracket (1) with screw (4) provided making sure screw hole in top of tail bracket is facing up. – see Drawing 1 and 2. 5. Now wire fixture following instruction sheet (IS-18).
- . After wiring is completed, slip tail brace (5) onto tail (I) slide backplate (B) over mounting plate (A) and tail brace (5) over tail brace bracket (1).
- Next align screws holes in backplate with threaded holes in mounting plate – see
Drawing 1 and 2. 7. Thread in screw (C) removed earlier into holes. Then thread screw (6) into place to secure tail brace (5).
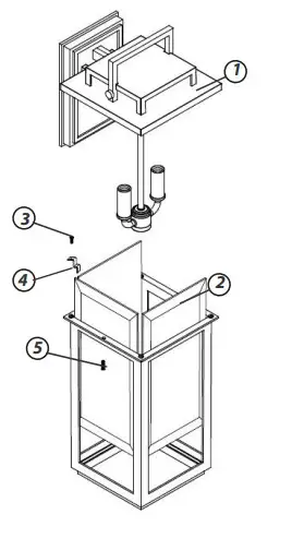
DRAWING 2 – GLASS INSTALLATION
- Find a clear area in which you can work.
- Unpack fixture and glass from carton.
- Carefully review instructions prior to assembly.
- To install glass release fixture top (1) by removing screws (5)
- Slide glass panels (2) into fixture cage
- Secure glass panels using glass clips (4) and screws (3)
- Replace fixture top (1) and screws (5)
- Fixture can now be powered on
I.S. 18 wiring grounding instructions
SAFETY WARNING: READ WIRING AND GROUNDING INSTRUCTIONS (IS 18) AND ANY ADDITIONAL DIRECTIONS. TURN POWER SUPPLY OFF DURING INSTALLATION. IF NEW WIRING IS REQUIRED, CONSULT A QUALIFIED ELECTRICIAN OR LOCAL AUTHORITIES FOR CODE REQUIREMENTS
wiring instructions
Indoor Fixtures
- Connect positive supply wire (A) (typically black or the smooth, unmarked side of the two-conductor cord) to positive fixture lead (B) with appropriately sized twist on connector – see Drawings 1 or 2.
- Connect negative supply wire (C) (typically white or the ribbed, marked side of the two-conductor cord) to negative fixture lead (D).
- Please refer to the grounding instructions below to complete all electrical connections
Outdoor Fixtures
- Connect positive supply wire (A) (typically black or the smooth unmarked side of the two-conductor cord) to positive fixture lead (B) with appropriately sized twist on connector –– see Drawings 2 or
- Connect negative supply wire (C) (typically white or the ribbed, marked side of the two-conductor cord) to negative fixture lead (D).
- Cover open end of connectors with silicone sealant to form a watertight
˜ If installing a wall mount fixture, use caulk to seal gaps between the fixture mounting plate (backplate) and the wall. This will help prevent water from entering the outlet box. If the wall surface is lap siding, use caulk and a fixture mounting platform specially. - Please refer to the grounding instructions below to complete all electrical
grounding instructions
Flush Mount Fixtures
For positive grounding in a 3-wire electrical system, fasten the fixture ground wire (E) (typically copper or green plastic coated) to the fixture mounting strap (M) with the ground screw (S) – see Drawing 1. Note: On straps for screw supported fixtures, first install the two mounting screws in strap. Any remaining tapped hole may be used for the ground screw.
Chain Hung Fixtures
Loop fixture ground wire (E) (typically copper or green plastic coated) under the head of the ground screw (S) on fixture mounting strap (M) and connect to the loose end of the fixture ground wire directly to the ground wire of the building system with appropriately sized twist-on connectors – see Drawing 2.
Post-Mount Fixtures
Connect fixture ground wire (E) (typically copper or green plastic coated) to power supply ground with appropriately sized twist-on connector inside post. Cover open end of connector with silicone sealant to form a watertight seal – see Drawing 3.























