LARK 83531 Flash Mount

MOUNTING INSTRUCTIONS
start here
- Find a clear area in which you can work
- Unpack fixture and glass from the carton
- Carefully review instructions prior to assembly.
DRAWING 1- MOUNTING
- To begin it will be necessary to remove mounting plate (A) from(C) by removing screws (E) located on the side of the backplate – see Drawing 1.
- To begin the installation, first, attach mounting bracket (A) to the junction box (J) by using two 8-32 screws (B) not provided, or the screws from the
previously installed mounting strap or plate. - Next, make all wiring connections. Follow the instruction sheet (IS-18) provided.
SAFETY WARNING
READ WIRING AND GROUNDING INSTRUCTIONS (IS 18) AND ANY ADDITIONAL DIRECTIONS. TURN THE POWER SUPPLY OFF DURING INSTALLATION. IF NEW WIRING IS REQUIRED, CONSULT A QUALIFIED ELECTRICIAN OR LOCAL AUTHORITIES FOR CODE REQUIREMENTS
DRAWING 1 – GLASS INSTALLATION
- After all electrical connections are made, push wires into the junction box.
- Next, slip the canopy (C) over the mounting strap (A) and align the holes in the canopy with the holes in the mounting strap. Now thread in screws (E) removed earlier to secure fixture to the ceiling
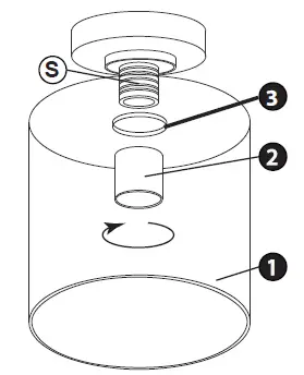
- To install glass (1) first remove the threaded socket cover (2) and steel cover (3) from socket (S) – See Drawing 2.
- Next, slip glass (1) over the socket and hold it in position.
- Now thread socket cover (2) and steel cover (3) onto the socket and tighten till snug to secure the glass.
wiring grounding instructions
SAFETY WARNING: READ WIRING AND GROUNDING INSTRUCTIONS (IS 18) AND ANY ADDITIONAL DIRECTIONS. TURN THE POWER SUPPLY OFF DURING INSTALLATION. IF NEW WIRING IS REQUIRED, CONSULT A QUALIFIED ELECTRICIAN OR
LOCAL AUTHORITIES FOR CODE REQUIREMENTS
Drawing g 1 – Flush Mount
wiring instructions
Indoor Fixtures
- Connect t positive supply wire (A ) (typically black or the smooth Gunma red side of the two-conductor cord) to the positive fixture lead (B ) with an appropriately sized twist on the connector – see Drawings 1 or 2.
- Connect negative supply wire ( C) (typically white or the ribbed, marked side of the two-conduc tor cord) to negative fixture lead (D).
- Please refer to the grounding instructions below to complete all electrical connection s
Outdoor Fixtures
- Connect t positive supply wire ( A) (typically black or the smooth unmarked side of the two-conductor cord) to positive fixture lead (B)
with an appropriately sized twist on the connector — see D drawings 2 or 3. - Connect negative supply wire ( C) (typically white or the ribbed, marked side of the t o-conduct tor cord) to negative fixture lead (D).
- Cove r open end of connectors with silicone sealant to form a watertight seal. If install ling a wall mount t fixture, use caulk to seal gaps between the fixture mounting plate (backplate) and the wall. This will help prevent water from entering the outlet box. If the wall surface is lap siding, use caulk and a fixture mounting pl at form especially.
- Please refer to the grounding instructions below to complete all electrical connections.
Drawing g 2 – Chain Hung
grounding instructions
Flush Mount Fixtures
For positive grounding in a 3-wire electrical system, fasten the fixture ground wire (E) (typically copper or green plastic coated) to the fixture mounting strap (M ) with the ground screw (S) – see Drawing 1.
Note: On straps for screw supported fixtures, first install the two mounting screws in the strap. Any remaining tapped hole may be used for the ground screw.
Chain Hung Fixtures
Loop fixture ground wire (E) (typically y copper or green plastic coated) under the head of the ground screw (S) on the fixture mounting strap (M) and connect to the loose end of the fixture ground wire directly to the ground wire of the building system with an appropriately sized twist- on connectors – see Drawing 2.
Post-Mount Fixtures
Connect t fixture ground wire (E) (typically copper or green plastic coated) to the power supply ground with the appropriately sized twist-on connector inside the post. The cover opens the end of the connector with silicone sealant to form a watertight seal – see Drawing 3.

















