82050 Wall Mount
Instruction Manual
82050 Wall Mount
| DRAWING 1 – MOUNTING | Drawing 2 – Glass Installation |
![]() | ![]() |
| Darwin g 1- Flush Mount | Darwin g 2-Chain Hun g |
![]() | ![]() |
Darwin g 3- Post-Mount 
Wall Mounting Instructions
start here
- Find a clear area in which you can work.
- Unpack fixture and glass from carton.
- Carefully review instructions prior to assembly.
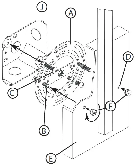
1. Prepare mounting strap (A) by threading the two long mounting screws (B) into the back of the universal strap – see Drawing 1.
• Be sure the holes into which the screws are threaded match the spacing of holes (D) in the back plate (E).
2. Attach mounting plate (A) to junction box (J) using two screws (C). (not provided)
SAFETY WARNING: READ WIRING AND GROUNDING INSTRUCTIONS (IS. 18) AND ANY ADDITIONAL DIRECTIONS. TURN POWER SUPPLY OFF DURING INSTALLATION. IF NEW WIRING IS REQUIRED, CONSULT A QUALIFIED ELECTRICIAN OR LOCAL AUTHORITIES FOR CODE REQUIREMENTS.
Make electrical connections from supply wire to fixture lead wires. Refer to instruction sheet (IS. 18) and follow all instructions to make all necessary wiring connections. Then refer back to this sheet to complete installation of this fixture.
- To mount fixture, slip the two mounting screws (B) through the two mounting holes (D) in the backplate (E) – see Drawing 1.
- While holding fixture in place, thread the two ball knobs (F) on to the end of the mounting screws (B), and tighten.
GLASS INSTALLATION:
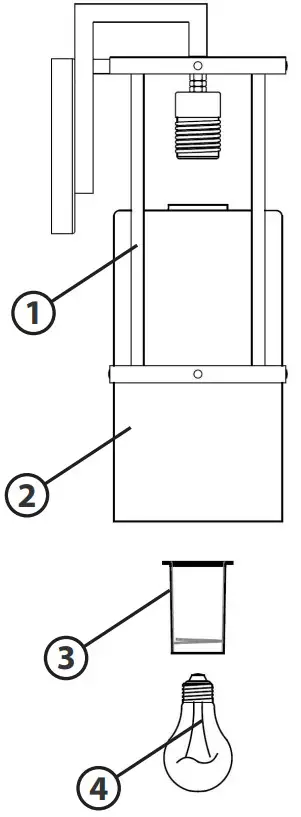
- Slide glass (2) into cage (1)
- Secure glass (2) by screwing on socket cup (3) to socket
- Fixture can now be lamped using appropriate medium base bulb (4) and powered on
1.S.18 wiring grounding instructions
SAFETY WARNING: READ WIRING AND GROUNDING INSTRUCTIONS (IS 18) AND ANY ADDITIONAL DIRECTIONS. TUR N POWER SUPPLY OFF DURING IN STALLATION. IF NEW WIRING IS REQUIRED, CONSU LT A QUALIFIED ELECTRICIAN OR LOCAL AUTHORITIES FOR CODE REQUIREMENTS
wiring instructions
Indoor Fixtures
- Connect positive supply ire (A) (typic ally bbl. ack or the smooth, unmarked side of the t woconduc for cord) to posy tide fixture lead (B) with appropriately sized twist on connector – see Drawings I or 2 .
- Connect negative supply wire (C) (typically w hire or the ribbed, marked side of the Two-conductor cord) to ne dative fixture lead (D).
- Please refer to the grounding Instructions below to comp late all electrical connections.
Outdoor Fixtures
- Connect positive supply wire (A) (typically black or the smooth unmarked side of the t wo-conduce for cord) to positive fixture lead (B) with appropriately sized twist on connector – see Drawings 2 Of 3.
- Connect negative supply wire (C) (typically white or the 0 bred, marked side of the twcr.conduc for cord) to ne dative fixture lead (D).
- Cove r open end of connectors with silicone seal ant to form a watertight seal.
⊗ If in stalling a wall mounfixture, use caulk to seal gaps between the fixture mounting p late (backplate) a nd the wall. This will help prevent water from entering the out let box. If the wall surface is lap siding, use caulk and a fixture mounting platform specially. - Please refer to the grounding Instructions below t o comp let e all electrical connections.
grounding instructions
Flush Mount Fixtures
For positive grounding in a 3-wire electrical system, fasten the fixture ground wire (E) (typically copper Of green plastic coated) to the fixture mounting strap (M) with the ground screw (5) – see Drawing 1. Note: On straps for screw supported fixtures, first install the two mounting screws in strap. Any remaining tapped hole may be used for the ground screw .
Chain Hung Fixtures
Loop fixture ground wire (E) (typically copper or green plastic-coated) under t he head of the ground screw (5) on fixture mounting strap (M) and connect the loose end of the fixture gr unwire directly to the ground wire of the building system w it h appropriately sized twist- on connectors – see Drawing 2 .
Post-Mount Fixtures
Connect fixture ground wire (E) (typic ally copper or green plastic coated) to power supply ground with app ropriately sized 1 wits-on connect tor inside post. Cover open end of connector with silicone sealant t o form a watertight seal – see Drawing 3.
LARK 33000 PIN OAK PARKWAY, AVON LAKE, OH 44012
LarkLiving.com



















