82054 Wall Mount
Instruction Manual
82054 Wall Mount
| DRAWING 1 – MOUNTING | Drawing 2 – Glass Installation |
![]() | ![]() |
Wall Mounting Instructions
start here
- Find a clear area in which you can work.
- Unpack fixture and glass from carton.
- Carefully review instructions prior to assembly.
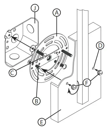
- Prepare mounting strap (A) by threading the two long mounting screws (B) into the back of the universal strap – see Drawing 1.
• Be sure the holes into which the screws are threaded match the spacing of holes (D) in the back plate (E). - Attach mounting plate (A) to junction box (J) using two screws (C). (not provided)
SAFETY WARNING: READ WIRING AND GROUNDING INSTRUCTIONS (I.S. 18) AND ANY ADDITIONAL DIRECTIONS. TURN POWER SUPPLY OFF DURING INSTALLATION. IF NEW WIRING IS REQUIRED, CONSULT A QUALIFIED ELECTRICIAN OR LOCAL AUTHORITIES FOR CODE REQUIREMENTS.
Make electrical connections from supply wire to fixture lead wires.
Refer to instruction sheet (I.S. 18) and follow all instructions to make all necessary wiring connections. Then refer back to this sheet to complete installation of this fixture.
- To mount fixture, slip the two mounting screws (B) through the two mounting holes (D) in the backplate (E) – see Drawing 1.
- While holding fixture in place, thread the two ball knobs (F) on to the end of the mounting screws (B), and tighten.
GLASS INSTALLATION:
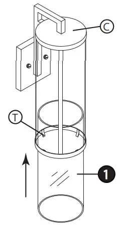
- To install glass, slip glass cylinder (1) into the cage (C) and fold the tabs (T) over the bottom edge of the glass to hold it in place – See Drawing 2.
- Installation and assembly is complete and fixture can now be lamped accordingly and power restored.
wiring grounding instructions
SAFETY WARNING: READ WIRING AND GROUNDING INSTRUCTIONS (IS 18) AND ANY ADDITIONAL DIRECTIONS.
TURN POWER SUPPLY OFF DURING IN STALLATION. IF NEW WIRING IS REQUIRED, CONSULT A QUALIFIED ELECTRICIAN OR LOCAL AUTHORITIES FOR CODE REQUIREMENTS LOCAL AUTHORITIES FOR CODE REQUIREMENTS
| Drawing 1 – Flush Mount | Drawing 2 – Chain Hung | Drawing 3 – Post-Mount |
![]() | ![]() | ![]() |
wiring instructions
Indoor Fixtures
- Connect positive supp ly w ire (A) (typically bl ack or the smooth, unma rked side of the t wo-conduc for cord) to posi tive fixture lead (B ) with ap prop ri ately si zed twist on connector – see Drawings 1 or 2 .
- Connect negative supply wi re ((C) (typica Ily w hi te or the ri bbed , marked side of the tw o-conductor cord) to negative fixt ure lead (D).
- Please refer to the grounding instructions below to comp let e all electrical connections
Outdoor Fixtures
- Connect positive supply w ire (A) (typically bbl. ack or the smooth unman raked side of the t wo-conduce for cord) to posy tide fixture lead (B) with appropriately si zed Twi sty on connector — see ‘D ratings 2 or 3.
- Connect negative supply were ((C) (typical Ily w hi the or the rib bred , marked side of the two-conductor cord) to negative fixt rue lead (D).
- Cove r open end of connect tors wit h silicone seal ant to forma watertight seal. 0 If in stalling a wall moon t fixt ureses cu lotto seal gaps between the fixture mounting p late (backplane the) a nd the wall. This s will help prevent water from enter ring the out let box. If t he wall surface is lap siding, use caulk and a fixture mounting platform specially.
- Please refer to the wounding instructions below t o comp let e all electrical connections.
grounding instructions
Flush Mount Fixtures
For positive ground ing in a 3-wire electrical system, fast en the fixture ground w ire (E) (typically copper or gr een plastic coated) to the fixt ure mounting strap (M) with the ground screw (S) – see Dr aw ing 1.
Note: On straps for screw supported fixtures, first install the two mounting screws in strap. Any remaining tapped hole may be used for the ground screw .
Chain Hung Fixtures
Loop fixture grou nd w ire (E) (typical) y coppe r or gr een plastic coated) unde r t he head of the gr ound screw (S) on fixture mounting strap (M) and connec t t o the loose end of the fixture gr ound wi re directly to the ground w ire of the build ing system w it h ap prop ri ately si zed twist- on connec tors – see Dr aw ing 2 .
Post-Mount Fixtures
Connect fixture ground w ire (E) (typically copper or green plastic coated) to power supp ly gr ound with app rop ri ately si zed twist-on connec for in side post. Cove r open end of connec tor with silicone sealant t o form a watertight seal – see Drawing 3 .
LARK 33000 PIN OAK PARKWAY,
AVON LAKE, OH 44012
LarkLiving.com




















