HINKLEY 17468 Wall Mount

MOUNTING
Wall Mounting Instructions
Start here
- Find a clear area in which you can work.
- Unpack fixture and glass from carton.
- Carefully review instructions prior to assembly
SAFETY WARNING: READ WIRING AND GROUNDING INSTRUCTIONS (I.S. 18) AND ANY ADDITIONAL DIRECTIONS. TURN POWER SUPPLY OFF DURING INSTALLATION. IF NEW WIRING IS REQUIRED, CONSULT A QUALIFIED ELECTRICIAN OR LOCAL AUTHORITIES FOR CODE REQUIREMENTS.
Make electrical connections from supply wire to fixture lead wires. Refer to instruction sheet (I.S. 18) and follow all instructions to make all necessary wiring connections. Then refer back to this sheet to complete installation of this fixture.
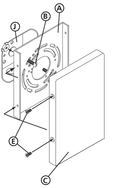
- To begin it will be necessary to remove mounting plate (A) from backplate (C) by removing screws (E) located on the side of the backplate – see Drawing 1.
- To begin installation, first attach mounting bracket (A) to junction box (J) by using two 8-32 screws (B) not provided, or the screws from the previously installed mounting strap or plate. Make sure threaded holes are on the side when installing mounting plate, and plate is plumb by placing a level across the top. Adjust plate and tighten screws to secure mounting plate.
- Next make all wiring connections. Follow instruction sheet (IS-18) provided.
- After all electrical connections are made. Slip backplate (C) over mounting strap (A) and align holes in side of backplate (C) with threaded holes on side of mounting strap (A).
- Thread in screws (E) removed earlier to secure backplate to mounting strap.
- To finish assembly of your fixture see assemlby instructions provided.
Glass Installation

- To replace or install a glass panel it will be necessary to first remove the bottom panel (2) from the cage assembly (4) – see Drawing 2. This is accomplished by removing the 4 screws (1), located in the corners. After the screws are out, the bottom panel (2) can be removed.
Please note: If fixture is installed all the glass panels will fall out as the bottom panel is removed. - Next remove the glass panel by sliding it out.
- Now take the new glass panel and slide it back into the cage making sure the panel slides into the channels (C) of the uprights. Note: make sure to add silicone tubing (5) to the top and bottom of the panels
- After the panel or panels are in place the bottom panel (2) can be mounted back in place. Using the screws removed earlier.
Wiring grounding instructions
SAFE TY WARNI NG: READ WIRIN G AND GR OUNDING INSTRUCTIO NS (IS 18) AND ANY ADDITIONAL DIRECTIONS. TURN POWER SUPPLY OFF DURING INSTALLATION. IF NEW WIRING IS REQUIRED, CONSU LT A QUALIFIED ELECTRICIAN OR LOCAL AUTHORITIES FOR CODE REQUIREMENTS
Wiring instructions
Indoor Fixtures
- Connec t positive supply wire (A) (typically black or the smooth unmarked side of the two-conduc tor cord) to positive fixture lead (B) with appropriately sized twist on connec tor see Dra w ings 1 or 2.
- Connect nega tive supply wire (C) (typically white or the ribbed, marked side of the two-conductor cord) to negative fixture lead (D).
- Please refer to the grounding instructions below to complete all electrical connec tions
Outdoor Fixtures
- Connec t positive supply wire (A) (typical ly black or the smooth unmarked side of the two-conduc tor cord) to positive fixture lead (B) with appropriately sized twist on connector – see Drawings 2 or 3.
- Connect nega tive supply wire (C) (typica lly white or the ribbed, marked side of the two-conductor cord) to negative fixture Iead (D).
- Cover open end of connec tors with silicone sealant to form a watertight seal.
If installing a wall moun t fixture, use caulk to seal gaps between the fxture mounti ng p late (backpla te) and the wall. This will help prevent wa ter from entering the out let box. If the wall surface is lap siding, use caulk and a fixture moun ting plat form specially. - Please refe r to the grounding instructions below to complete all electrical connec tion s.
Grounding instructions
Flush Mount Fixtures
For positive ground ing in a 3-wire elect rical system, fasten the fixture ground wire (E) (typically copper or green plastic coated) to the fixture mounting strap (M) with the ground screw (S) see Drawing 1.
Note: On straps for screw supported fixtures, first install the two mounting Screws in strap. Any remaining tapped hole may be used for the ground screw.
Chain Hung Fixtures
Loop fixture ground wire (E) (typically copper or green plastic coa ted) under the head of the ground screw (S)) on fixture mounting strap (M) and connect to the loo se end of the fixture ground wire directly to the ground wire of the building system with appropriately sized twist-on connectors – see Drawing 2.

Post-Mou nt Fixtures
Connect fixture ground wire (E) (typical ly copper or green plastic coated)to power supply ground with app ropri ately sized twi st-on connec tor inside post. Cover open end of connec tor with silicone sealant to forma watertight seal – see Drawing 3.
Caulking Instructions
After securing fixture to the wall it is recommended that the gap between the wall and the fixture backplate be sealed on the top and both sides, with a good quality waterproof caulk or silicone sealant (NOT INCLUDED) – see Drawing 1.
After securing fixture in place it is recommended that the gap between the mounting top and fixture base be seal ed with any good quality waterproof caulk or silicone sealant (not incl uded). It is also recomm ended that a small bead of caulk or sealant be put under the ball kn obs used to mount fiture – see Drawing2 
33000 Pin Oak Parkway, Avon Lake, OH 44012 800.446.5539
440.653.5500
hinkley.com






















