HINKLEY 27902 Flash Mount

SAFETY WARNING: READ WIRING AND GROUNDING INSTRUCTIONS (I.S. 18) AND ANY ADDITIONAL DIRECTIONS. TURN POWER SUPPLY OFF DURING INSTALLATION. IF NEW WIRING IS REQUIRED, CONSULT A QUALIFIED ELECTRICIAN OR LOCAL AUTHORITIES FOR CODE REQUIREMENTS.
- 1. Shut off electrical current before starting. If the fixture you are replacing is turned on and off by a wall switch, simply turn the switch off. If not, remove the appropriate fuse (or open the circuit breakers) until the fixture is dead.
- DO NOT restore current – either by fuse, breaker or switch – until the new fixture is completely wired and in place.
Hanging Instruction

- Fasten mounting strap (1) to outlet box (A) with the two screws (2) not provided.
- Thread 2 – hex nuts (3a) and (3b) onto threaded tubing (4).
- Thread one end of threaded tubing (4) into loop (5) a minimum of 1/2’’ to 3/4’’. Tighten hex nut (3a) against loop (5) to lock loop in position.
- Thread another end of the threaded tube (4) into the mounting strap approximately 1/2’’.
- Slip canopy (B) over loop (5) and adjust the height of loop so half of the threaded area on the loop is exposed – see Drawing 2 below. After loop height is adjusted, tighten hex nut (3b) up against the mounting strap, and tighten it against the mounting strap to lock the loop and threaded tube in position.
- Remove mounting strap (1) from junction box (A), and thread the third hex nut (3c) onto end of the threaded tube (4) above the mounting strap, tighten against mounting strap to lock the assembly in position.
- Remount the mounting strap to the junction box.
Canopy Adjustment

- Unwrap fixture lead wire and ground wire and weave them up through the chain.
- Slip fixture lead wire and ground wire through center of loop (5).
- Connect ground wire to mounting strap (1) using green ground screw (GS).
- Make electrical connections from supply wire to fixture lead wires. Refer to instruction sheet (I.S. 18) and follow all instructions to make all necessary wiring connections.
- Slip canopy up firmly against the ceiling and secure by turning the threaded collar (6) on loop (5) until tight.
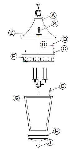
GLASS INSTALL

- To install glass remove screws (S) and water proof gasket (Z) and release fixture top (A)
- Place small glass panels (C) into middle cage (F)
- Secure small panels using glass clips (D) and screws (B)
- Place large glass panels (E) into bottom cage (G) fold down tabs at top of cage to secure
- Secure fixture bottom (H) using knob (J)
- Replace fixture top (A) and screws (S) and water proof gasket (Z)
SAFETY WARNING: READ WIRING AND GROUNDING INSTRUCTIONS (IS 18) AND ANY ADDITIONAL DIRECTIONS. TURN POWER SUPPLY OFF DURING INSTALLATION. IF NEW WIRING IS REQUIRED, CONSULT A QUALIFIED ELECTRICIAN OR LOCAL AUTHORITIES FOR CODE REQUIREMENTS
wiring instructions
Indoor Fixtures
- Connect positive supply wire (A) (typically black or the smooth, unmarked side of the two-conductor cord) to positive fixture lead (B) with appropriately sized twist on connector – see Drawings 1 or 2.
- Connect negative supply wire (C) (typically white or the ribbed, marked side of the two-conductor cord) to negative fixture lead (D).
- Please refer to the grounding instructions below to complete all electrical connections
Flush Mount

Outdoor Fixtures
- Connect positive supply wire (A) (typically black or the smooth unmarked side of the two-conductor cord) to positive fixture lead (B) with appropriately sized twist on connector — see Drawings 2 or 3.
- Connect negative supply wire (C) (typically white or the ribbed, marked side of the two-conductor cord) to negative fixture lead (D).
- Cover open end of connectors with silicone sealant to form a watertight seal.
- If installing a wall mount fixture, use caulk to seal gaps between the fixture mounting plate (backplate) and the wall. This will help prevent water from entering the outlet box. If the wall surface is lap siding, use caulk and a fixture mounting platform especially.
- Please refer to the grounding instructions below to complete all electrical connections.
Chain Hung

grounding instructions
Flush Mount Fixtures
For positive grounding in a 3-wire electrical system, fasten the fixture ground wire (E) (typically copper or green plastic coated) to the fixture mounting strap (M) with the ground screw (S) – see Drawing 1.
Note: On straps for screw-supported fixtures, first install the two mounting screws in strap. Any remaining tapped hole may be used for the ground screw.
Chain Hung Fixtures
Loop fixture ground wire (E) (typically copper or green plastic coated) under the head of the ground screw (S) on fixture mounting strap (M) and connect to the loose end of the fixture ground wire directly to the ground wire of the building system with appropriately sized twist-on connectors – see Drawing 2.
Post-Mount Fixtures
Connect fixture ground wire (E) (typically copper or green plastic coated) to the power supply ground with an appropriately sized twist-on connector inside the post. The cover opens the end of the connector with silicone sealant to form a watertight seal – see Drawing 3.
Post-Mount

- HINKLEY
- 33000 Pin Oak Parkway
- Avon Lake, OH 44012 800.446.5539
- 440.653.5500
- hinkley.com



















