HINKLEY 13300 LED Wall Mount

Mounting Instructions
Item No: 13300 / 13304 / 13305
start here
- Find a clear area in which you can work.
- Unpack fixture and glass from carton.
- Carefully review instructions prior to assembly.
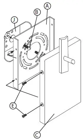
- To begin it will be necessary to remove mounting plate (A) from backplate (C) by removing screws (E) located on the side of the
backplate see Drawing 1. - To begin installation, first attach mounting bracket (A) to junction box (J) by using two 8-32 screws (B) not provided, or the screws from the
previously installed mounting strap or plate. Make sure threaded holes are on the side when installing mounting plate, and plate is plumb by
placing a level across the top. Adjust plate and tighten screws to secure mounting plate. - Next make all wiring connections. Follow instruction sheet (1S-18) provided.
- To begin it will be necessary to remove mounting plate (A) from backplate (C) by removing screws (E) located on the side of the
DRAWING 1 Fixture Installation

SAFETY WARNING: READ WIRING AND GROUNDING INSTRUCTIONS (1.S. 18) AND ANY ADDITIONAL DIRECTIONS. TURN POWER SUPPLY OFF DURING INSTALLATION. IF NEW WIRING IS REQUIRED, CONSULTA QUALIFIED ELECTRICIAN OR LOCAL AUTHORITIES FOR CODE REQUIREMENTS.
Make electrical connections from supply wire to fixture lead wires.
Refer to instruction sheet
(1.S. 18)
and follow all instructions to make all necessary wiring connections. Then refer back to this sheet to complete installation of this fixture.
- After all electrical connections are made. Slip backplate (C) over mounting strap (A) and align holes in side of backplate (C) with threaded holes on side of mounting strap (A).
- Thread in screws (E) removed earlier to secure backplate to mounting strap.
- To finish assembly of your fixture see assemlby instructions provided.
Assembly Instructions
- Find a clear area in which you can work.
- Unpack fixture and glass from carton.
- Carefully review instructions prior to assembly.
Drawing 1 – Glass Installation

- To install the glass, start by removing the roof of the fixture (L) from the cage of the fixture. this is accomplished by unthreading the half round knob (K) on the top of the roof -see Drawing 1.
- Next remove one the screws (A) that are holding the cross starp (S) on the cage (B) so it can be rotated out of the way to install the glass.

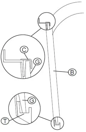
- To install th e glass in the fixture, start by bending the glass clips (C), at the top of the cage (B), up to clear a path for the glass – see drawing 2.
- Then slide the glass (G) through the top of the cage (B) and set bottom edge of the glass into track (T) at the bottom of the cage (B).
- Once in the track (T), bend the clips (C) back over the top of the glass (G) to secure it in place.
- Once the four glass panels are in place and fixture has been lamped attach cross strap (S) to the cage (B) using screw (A) removed earlier. Next place roof (L) onto the cage (B) and thread half round knob (K) onto the stem (P).
I.S. 18 wiring grounding instructions
SAFETY WARNING: READ WIRING AND GROUNDING INSTRUCTIONS (IS 18) AND ANY ADDITIONAL DIRECTIONS. TURN POWER SUPPLY OFF DURING INSTALLATION. IF NEW WIRING IS REQUIRED, CONSULT A QUALIFIED ELECTRICIAN OR LOCAL AUTHORITIES FOR CODE REQUIREMENTS
wiring instructions
Indoor Fixtures
- Connect positive supply wire (A) (typically black or the smooth, unmarked side of the two-conductor cord) to positive fixture lead (B) with appropriately sized twist on connector – see Drawings 1 or 2.
- Connect negative supply wire (C) (typically white or the ribbed, marked side of the two-conductor cord) to negative fixture lead (D).
- Please refer to the grounding instructions below to complete all electrical connections.
Outdoor Fixtures
- Connect positive supply wire (A) (typically black or the smooth unmarked side of the two-conductor cord) to positive fixture lead (B) with appropriately sized twist on connector — see Drawings 2 or 3.
- Connect negative supply wire (C) (typically white or the ribbed, marked side of the two-conductor cord) to negative fixture lead (D).
- Cover open end of connectors with silicone sealant to form a watertight seal.
If installing a wall mount fixture, use caulk to seal gaps between the fixture mounting plate (backplate) and the wall. This will help prevent water from entering the outlet box. If the wall surface is lap siding, use caulk and a fixture mounting platform specially. - Please refer to the grounding instructions below to complete all electrical connections.
grounding instructions
Flush Mount Fixtures
For positive grounding in a 3-wire electrical system, fasten the fixture ground wire (E) (typically copper or green plastic coated) to the fixture mounting strap (M) with the ground screw (S) – see Drawing 1.
Drawing 1 – Flush Mount

Note: On straps for screw supported fixtures, first install the two mounting screws in strap. Any remaining tapped hole may be used for the ground screw.
Chain Hung Fixtures
Loop fixture ground wire (E) (typically copper or green plastic coated) under the head of the ground screw (S) on fixture mounting strap (M) and connect to the loose end of the fixture ground wire directly to the ground wire of the building system with appropriately sized twist-on connectors – see Drawing 2.
Drawing 2 – Chain Hung

Post-Mount Fixtures
Connect fixture ground wire (E) (typically copper or green plastic coated) to power supply ground with appropriately sized twist-on connector inside post. Cover open end of connector with silicone sealant to form a watertight seal – see Drawing 3.
Drawing 3 – Post-Mount

IS200 Caulking Instructions
After securing fixture to the wall it is recommended that the gap between the wall and the fixture backplate be sealed on the top and both sides, with a good quality waterproof caulk or silicone sealant (NOT INCLUDED) – see Drawing 1.

After securing fixture in place it is recommended that the gap between the mounting top and fixture base be sealed with any good quality waterproof caulk or silicone sealant (not included). It is also recommended that a small bead of caulk or sealant be put under the ball knobs used to mount fixture – see Drawing 2.

HINKLEY 33000 Pin Oak Parkway, Avon Lake, OH 44012 800.446.5539/440.653.5500 hinkley.com














