GENELEC 6010A Wall Mount Instruction Manual
Equipment
- speaker holder with wall plate
- decorative plate


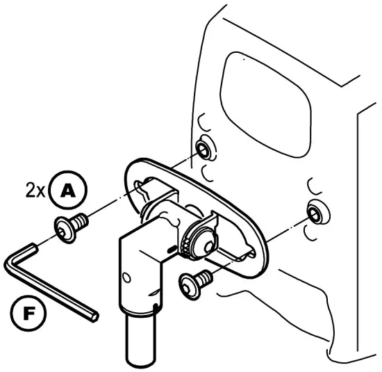
Separate speaker holder from wall plate
- Loosen lower bolted assembly
- Remove speaker holder from wall plate

Wall mount preparation
- Determine wall fastening
- Provided screw/dowel set is suitable for: concrete, full brick, perforated brick & drywall
- For other walls like wood, adobe etc. use adequate anchors
- Adjust wall plate vertically and mark drilling holes (two options)
- Two-hole-pattern
- Three-hole-pattern

- c Anchor holes drilling for two or three hole pattern: – dia. 8 mm

- Blow out holes and place anchors

Wall mount fastening
- Adjust decorative plate according to the drilled two-or-three-hole-pattern
- Two-hole-pattern

- Three-hole-pattern

- Two-hole-pattern
- Bolt down the wall plate along with the decorative plate onto the wall Use two or three screws depending on the prepared hole pattern

Speaker installation
- Bolt speaker plate to GENELEC speaker

- Replace the bolt of the speaker plate (with mounted GENELEC) into wall bracket
- Fix wall plate and speaker bracket by tightening lower bolted assembly

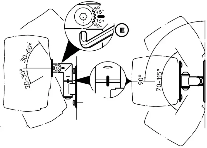
Settings (speaker-based)
- TILT ANGLE Continuously adjustable tilting angles: -up to 30-60° -down to 20-30°, Fix both lateral allen screws (AF5 mm)
- tilting marks (no latching)
- DIRECTION Pivoting attachment around vertical axis
- pivoting mark centric adjustment 90° (no latching)

- pivoting mark centric adjustment 90° (no latching)
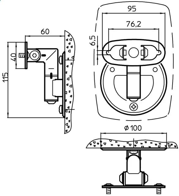
Dimensions (in mm)
Weight: 0,5 kg

Safety Instructions
Choose a position and mounting method compliant with local
- building codes and regulations
- For use only by trained installers
- For use only at proper walls with adequate anchors
- Not suitable are fragile walls. Beware of power supply lines and water conduits. In case ask an expert.
- Inspect bolted assemblies periodly
- For indoor use only


























