
Installation Instructions
OMLK-B1-00 1-Link Wall Mount
Innovative Ergonomic Solutions companies

Parts List
NOTE: THERE MAY BE ADDITIONAL PARTS UNDER THE TRAY. PLEASE REVIEW THE ENTIRE PACKAGE PRIOR TO DISCARDING IT.
![]() | A. Wall Mount RP406795 | ![]() | B. Quick Connect VESA Plate 114808 |
![]() | C. Monitor Tilter 8500 Tilter | ![]() | D. M4 x 12mm Phillips Pan Head Screw (4-pack) 702096 |
![]() | E. Dog Washer 105189 | ![]() | E. 10-32 x 3/8″ FPhMS w/Lock Patch 705198 |
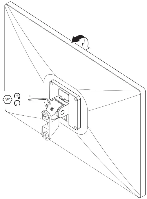
![]() | G. 1/8″ Allen Wrench 701312 | ||
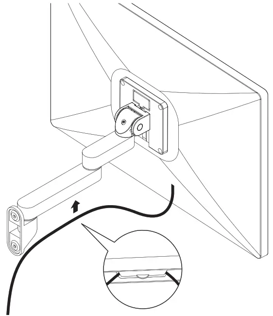
![]() | ![]() |

MLK-B1-00

OMLK-B8-04
![]() | ![]() |

Innovative Ergonomic Solutions
800 524 2744
HAT Collective
408 437 8770
[email protected]
[email protected]
team-ies.com
hatcollective.com
© 2021 Innovative Ergonomic Solutions REV A





























