Infinite Mounting Possibilities
Full Motion Wall Mount 9080
AD-WM-9080
Installation Guide
COMPONENT CHECKLIST

NOTE:
! Wall Plate Mounting Fasteners are NOT supplied with Wall Mounts.
Professional installer to ensure correct Mounting Fastener type, location & quantity to suit structure where Wall Mount is installed.
! ALWAYS use a washer between the chosen fastener and the wall plate.
! Mounting fasteners to be used as per manufacturers instructions, including minimum engagement to achieve necessary performance.
![]()
REQUIRED TOOLS
- Stud finder
- Spirit level
- Power drill
- Suitable drill bits
- Driver bit for selected wall fasteners
- Phillips head screwdriver
- Socket wrench set
WEIGHT CAPACITY
0 – 90.7kg
(0 – 200lb)
IMPORTANT INFORMATION
! Please ensure this product is installed as per these installation instructions.
! The manufacturer accepts no responsibility for incorrect installation.
! Failure to mount this product correctly may cause serious injury/death during or following installation.
! This product is not suitable for outdoor use.
! Do not use this product for mobile applications.
! Wall Plate only achieves maximum weight rating when appropriately fastened to a wall of adequate structural capacity.
! Professional installer to ensure adequate structural capacity of wall (including appropriate safety factor) to support total weight of all equipment being mounted.
! Drilling into electrical wires can cause death – use appropriate equipment and caution when drilling holes in walls to avoid electrical cables, water pipes and gas pipes. Do not drill into structures unless you have established it’s safe to do so.
Mount the Wall Mount Assembly to the wall
NOTE:
- Lifting and securing of the wall mount should be perfomed by two people.
- Use supplied drilling template Z to mark and drill holes as required.
- Choice and supply of appropriate wall mount fasteners is the responsibility of the installer.
- Consult a preferred fastener supplier or a structural engineer to select fasteners which are most appropriate for the weight of the display and wall construction method.
- Wall mount must be level. Verify using a quality spirit level tool.
- On a Stud Wall or Drywall use a good quality Stud Finder to position mounting fasteners in the centre of studs.
- On a Masonry Wall avoid positioning Wall mount mounting fasteners in a mortar join.

Adjust the horizontal alignment of the display arms (OPTIONAL)
2.1. During installation, the final horizontal alignment of the display arms can be selected.
To do so, remove the four Phillips head screws from the arm assembly and remove the security plates.
2.2. Support the arm assembly and horizontally slide it left or right along the wall plate within the allowable range – where the holes on the arm assembly align with those on the wall plate.
2.3. Replace the security plates and the four Phillips head screws, ensuring the proper alignment of the holes on the display arm assembly, the wall plate and the security plates.

A – FOR DISPLAYS WITH 100×100 TO 200×200 VESA SPACING
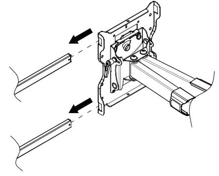
A3. Remove the horizontal VESA rails from the Wall Mount Assembly
A3.1. Use a Phillips head screwdriver to remove the safety screws from the centre and at least one side of each rail.
A3.2. Slide the rails out of the display mount assembly.
Save these for future display upgrades.
A4. Remove the Display Plate
A4.1. Use supplied spanner H or a socket wrench to remove the two security nuts from the display plate.
A4.2. Unhook the display plate from the display arms.
A5. Attach the Display Plate to the Display
NOTE:
- When selecting screws, ensure the display is not loose and screws are not forced too deep into the display.

A6. Hook the Display onto the Arm Assembly
A6.1. Angle the display and hook the slot on the Display Plate to the hook on the Arm Assembly.
This should be completed by two people.
WARNING: Ensure the round protrusion on the display plate sits inside the slot on the arm assembly before proceeding.

A6.2. Use supplied spanner H or a socket wrench to replace the two security nuts removed in Step A4.
Tighten to the desired level of friction for level correction/rotation adjustment
B – FOR DISPLAYS WITH 300×100 TO 800×600 VESA SPACING
B3. Attach the Display Brackets to the Display
NOTE:
- When selecting screws, ensure the display is not loose and screws are not forced too deep into the display.

B4. Hook the Display onto the Arm Assembly
B4.1. Angle the display and hook the Display Brackets on to the horizontal rails of the Arm Assembly.
This should be completed by two people.

B5. Secure the Display
B5.1. Position the four Security Clips Y behind the Display brackets as shown, ensuring that the flange on each Security Clip is aligned with the rectangular slot on each Display Bracket.
B5.2. Secure each Security Clip Y using Security Screw F.
CABLE MANAGEMENT
- Use the pre-installed cable management clips to route cables along the arms of the mount.
- Ensure that cables will not become tangled in the arms during motion.

ADJUSTMENTS
Display Tilt

NOTE:
- Pulling and holding the spring-loaded levers outward will allow the lever handles to rotate without adjusting the tilt tension. This will allow for additional adjustment range.
- Alternatively, use a suitable hex key tool to adjust the tilt tension.
Level Adjustment

To adjust rotation friction, loosen or tighten the two nuts below the Display Arms using supplied spanner H or a socket wrench tool.
WARNING:
Only loosen, do not remove the two nuts.
MAINTENANCE
- Tighten fasteners and check if the mount is secure and safe to use at regular intervals (at least every three months.)
- Please contact your distributor if you have any questions.
No portion of this document or any artwork contained herein should be reproduced in any way without the express written consent of Atdec Pty Ltd. Due to continuing product development, the manufacturer reserves the right to alter specifications without notice. ©20220323
Please Recycle
AD-WM-9080
















