ATDEC AD-WF-8060 Fixed Wall Mount 8060

COMPONENT CHECKLIST

NOTE:
- Wall Plate Mounting Fasteners are NOT supplied with Wall Mounts. Professional installer to ensure correct Mounting Fastener type, location & quantity to suit structure where Wall Mount is installed.
- ALWAYS use a washer between the chosen fastener and the wall plate.
- Mounting fasteners to be used as per manufacturers instructions, including minimum engagement to achieve necessary performance.
REQUIRED TOOLS
- Phillips head screwdriver
- Power drill
- Suitable drill bit
- Driver bit for selected wall fasteners
- Stud finder
- Spirit level
WEIGHT RANGE
0 – 80kg
(0 – 176lb)
IMPORTANT INFORMATION
- Please ensure this product is installed as per these installation instructions.
- The manufacturer accepts no responsibility for incorrect installation.
- Failure to mount this product correctly may cause serious injury/death during or following installation.
- This product is not suitable for outdoor use.
- Do not use this product for mobile applications.
- Wall Plate only achieves maximum weight rating when appropriately fastened to a wall of adequate structural capacity.
- Professional installer to ensure adequate structural capacity of wall (including appropriate safety factor) to support total weight of all equipment being mounted.
- Drilling into electrical wires can cause death – use appropriate equipment and caution when drilling holes in walls to avoid electrical cables, water pipes and gas pipes. Do not drill into structures unless you have established it’s safe to do so.
Mount the Wall Plate to the Wall

NOTE:
- Choice and supply of appropriate wall plate fasteners is the responsibility of the installer.
- Consult a preferred fastener supplier or a structural engineer to select fasteners which are most appropriate for the weight of the display and wall construction method.
- Wall plate must be level. Verify using a quality spirit level tool or the included spirit level E.
- On a Stud Wall or Drywall use a good quality Stud Finder to position mounting fasteners in the centre of studs.
- On a Masonry Wall avoid positioning Wall Plate mounting fasteners in a mortar join.

- Fasteners shown are not included
Attach the Display Brackets to the Display

NOTE:
- Always use multi-washers M-F.
- Ensure the display brackets are not loose and screws are not forced too deep into the display.
- If spacers are needed, use the shortest possible combination between the display bracket and the display.

Hook and Secure the Display onto the Wall Plate
Angle the display and hook the Display Brackets over the top of the Wall Plate. This should be completed by two people.

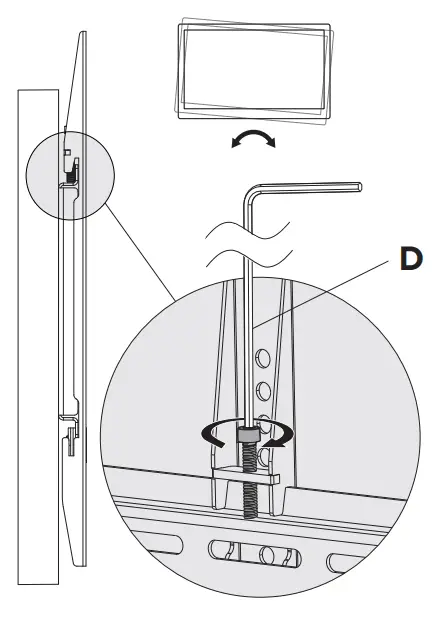
NOTE: Ensure level adjustment screws are retracted with Hex Key D before attempting to mount display.
Slide Security Bar C through the slots at the bottom of eachDisplay Bracket, ensuring the Security Bar sits to the rear of the Wall Plate and the display cannot be lifted up and off the Wall Plate.
(OPTIONAL) To prevent theft of the display, add a padlock to the end of Security Bar C.

Level Adjustment
If needed, carefully turn the screws at the top of each display bracket clockwise using Hex Key D to level the display.

NOTE: Support display whilst turning the level adjustment screws.
No portion of this document or any artwork contained herein should be reproduced in any way without the express written consent of Atdec Pty Ltd. Due to continuing product development, the manufacturer reserves the right to alter specifications without notice. ©20220323



















