HARPER TVF-32 Full Motion Wall Mount

INTRODUCTION
Thank you for choosing HARPER products. Before use, please study the given user manual and keep it for future references.
CONTENTS OF DELIVERY
- Wall plate
- Vertical profiles
- Fasteners
- Built-in bubble level
- User manual
- Warranty card
TECHNOCALPARAMETERS
- Maximum load 20kg
- VESA up to 100x100mm
- Distance to wall 60-185 mm
- Mount supports diagonal LED /LCD TVs from 10″-32″
- Tilt angle change -15 °/+ 15 °
SAFETY INSTRUCTIONS
- Do not disassemble the device.
- It may lead to malfunction.
- In case of malfunction please contact authorized service centre.
- Do not leave device and accessories unattended. Please keep it out of reach of children and animals. Small parts can become cause of suffocation.
- The device is intended for use in normal climate conditions. Extreme climate conditions (temperature below 0°C or above 45°C or high humidity) can become reason of malfunction of device.
PARTS LIST
Please check the parts in the package in comparison with the following list, make sure all of the parts are in the package. Never use defective parts, never replace part with different specification.
INSTALLATION AND OPERATION INSTRUCTIONS
NOTE: Please read the instructions carefully before installing.
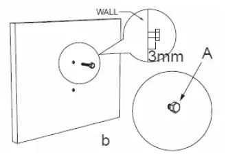
- Use the wall plate as a template to draw two holes.

- Drill holes of dia. 8 mm and 60mm depth in the wall.

- Wedge two plastic anchors into the holes.

- Screw the self-tap screw into the plastic anchor that on the top one, but do not tighten, keep self-tap screws away from the wall 3mm.

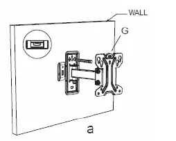
- Install the wall plate. Screw the other two self-tap screws into the holes. Move the wall plate to keep it level and tighten the self-tap screws. Install the wall plastic cover onto the wall plate.

- Install the screws onto the top two holes of the TV through the plastic sleeve, and keep the screw away from plastic sleeve 3 mm. Hang the TV on the screws, and move the TV down. Put the screws into the other holes, make tighten.

- Loosen the screws to adjust the angle of monitor/TV 15 up and down, then screw the screws firmly.
NOTICE
Your device designed and manufactured high-quality from materials and components that can be recycled and reused. If the product has a symbol with a crossed-out wheelie bin, it means that the product complies with the European Directive 2002/96/EC. Check out the local system for separate collection of electrical and electronic goods. Follow local rules. Dispose of old devices separately from household waste. The correct disposal of your old product will help prevent potential negative consequences for the environment and human health. Due to constant improvement of technical characteristics and design, manufacture has the right to make changes without prior notice.
Information about certification: the product is not subject to compulsory certification Production date is indicated on the package
Life duration of product: 24 months
Warranty period: 12 months Warranty service is provided on the base of warranty card that goes together with the product. Warranty card and User manual are inevitable parts of the product. For additional information about the product and authorized service centers, you may find at harper.ru or by telephone 8-800-600-7 107. Manufacture: Harper International Trading Limited 15F, Radio City, 505 Hennessy Road, Causeway Bay, HongKong, PRC Importer: LLC «Progress-Plyus», App.11, floor 2, Build.SO, k.1, Udaltsova Str., Moscow, Russia, 119607, tel: +7495 13302 10, [email protected]
HARPER TVF-32 Full Motion Wall Mount



















