FONESTAR MOV-222N Full Motion TV Wall Mount
Product Information
MOV-222N Full Motion TV Wall Mount
- Maximum weight capacity: 20kg
- Mounting plate holes: M4x14 (x4) M-A, M5x14 (x4) M-B, M6x14 (x4) M-C, M8x20 (x4) M-D
- Accessories: (x1) A, (x1) M-H, ST6.3×55 (x3) W-A, 10×45 (x3) W-B
- Manufacturer: FONESTAR
- Website: www.fonestar.com
Product Usage Instructions
- Follow the installation recommendations provided in the instruction manual.
- Ensure that the installation surface is completely flat and that the holes in the wall coincide with the holes on the mounting plate. Screw the mount to the wall in a vertical position only.
- The mount must be properly and firmly attached to the wall or installation surface to ensure that it can hold the maximum weight capacity. FONESTAR is not responsible for any damage or breakages that may occur due to incorrect installation or handling.
- Use the provided accessories to assemble the wall mount.
- Attach the TV to the mount using the appropriate screws. Refer to the user manual for instructions on screw selection and placement.
- Adjust the mount to the desired viewing angle and tighten any loose screws or bolts.
- Check that the mount is securely attached to both the TV and the wall before use.
IMPORTANT
- Follow the installation recommendations in the instruction manual.
- The installation surface must be completely flat. Make sure the holes in the wall coincide with the holes on the plate. Screw the mount to the wall, in vertical position only.
- The mount must be properly and firmly attached to the wall or installation surface to make sure that the support holds the maximum weight. FONESTAR does not hold itself responsible for damage or breakages due to the mount falling away from the wall because it was incorrectly attached, the wall was in bad conditions or it was handled incorrectly.
ACCESSORIES INCLUDED

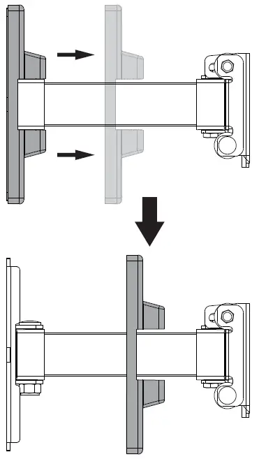
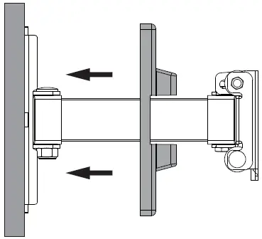
ASSEMBLY INSTRUCTIONS
























