
26-85″ FULL-MOTION TV MOUNT 8087382
Instruction Manual

CACAUTION
This product was designed to be installed on wood stud walls and solid concrete walls. Before installing make sure the supporting surface will support the combined load of the equipment and hardware. Never exceed the Maximum Load Capacity. This product is intended for indoor use only. Use of this product outdoors could lead to product failure or personal injury.
WARNINGS
- Please read these instructions before you begin. If you’re unsure of any part of the installation process, contact a professional contractor or installer for assistance.
- The wall of the mounting surface MUST be capable of supporting the combined weight of the mount and the TV. If not, the structure MUST be reinforced.
- Before drilling, locate pipes, wires or any other hazards in the wall where you want to install the mount.
- Safety gear and the proper tools MUST be used. Failure to do so may result in injury or damage.
- Two people are recommended for installation. DO NOT attempt to lift a heavy TV without assistance.
- Follow all instructions and recommendations regarding adequate ventilation and suitable locations for mounting your TV. Consult your TV’s owner’s manual for more information.
- The wall mount is only intended for use with the maximum weight of 60kg (130Ibs). If used with weights heavier than 60kg(130Ibs), it may result in instability and cause possible injury.
- This product contains small items that could be a choking hazard if swallowed. Keep these items away from small children.
TOOLS REQUIRED
- Phillips head screwdriver
- Electric or portable drill
- 3mm (1/8″) drill bit and stud finder (for drywall installation)
- 8mm (5/16″) masonary bit (for concrete installation)
- Tape measure
- Level
- Pencil
WHAT’S INCLUDED
- 1 wall plate
- 2 mount arms
- 1 hardware kit
- 4 adapters
- 1 instruction manual
SPECIFICATIONS
TV Size Range: 26-85″
Maximum Loading Capacity: 60kg (130Ibs)
Vesa Mounting Pattern:
Min: 200 x 200 mm
Max: 600 x 400 mm
Tilt Range: 5° up and 10° down
Pan/Swivel Range: Up to 180°
Profile: 6.5 by 50.5 cm
HARDWARE KIT

PREPARATION
Prepare the mount for installation by removing the safety screws to detach the display plate from the mount (Fig. 1). Place the screws in a safe location.
INSTALLATION
Part 1 A – MOUNTING TO THE WALL (DRYWALL)
IMPORTANT! For safety reasons, this mount MUST be secured to at least two wood studs no less than 16″ apart. The studs MUST be capable of supporting the combined weight of the mount and display. DO NOT mount to drywall alone.
- Use a high-quality stud finder to locate the stud on the wall where you want to install your mount. Mark both edges of each stud to help locate the exact center.
NOTE: Use the center of each stud to prevent cracking or splitting the wood. - Place the wall plate against the wall with the arrow on the mount pointing up, and level it with the integrated bubble level. Make sure it is level.

- While another person holds the mount in place, mark the four locations (two per stud) for securing the mount to the wall (Fig. 2).
- Set the mount aside and drill a 1/8″ pilot hole at each marked location.
- Place the mount back against the wall and attach it using the
lag bolts (A) and washers (C) provided (Fig. 3). DO NOT over-tighten these screws. Ensure that the mount remains level after all screws are secured.
Part 1B – MOUNTING TO WALL (CONCRETE) IMPORTANT!
IMPORTANT! For safety reasons, the concrete wall MUST be capable of supporting the combined weight of the mount and the TV. The manufacturer takes no responsibility for failure caused by walls of insufficient strength.
- Place the wall plate against the wall over the desired location with the arrow on the mount pointing up. Level it using the integrated bubble level.

- While another person holds the mount in place, mark four locations for securing the mount to the wall (Fig. 4).
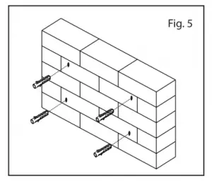
- Set the wall plate aside and drill a 5/16″ hole at each marked location. Remove any excess dust from the holes.
- Insert a concrete anchor (B) into each hole so that it is flush with the concrete surface. (Fig. 5). A hammer can be used to lightly tap the anchors into place if necessary. NOTE: The concrete anchor MUST pass through anything that is over the concrete-i.e. plaster or drywall-and be completely flush with the surface of the concrete.

- Attach the wall plate to the wall with the arrow pointing up using the lag bolts (A) provided (Fig. 3). DO NOT over-tighten these bolts and DO NOT release the wall plate until all bolts are secure. Ensure that the mount remains level.
Part 2 – ATTACHING THE MOUNT ARMS TO THE TV
IMPORTANT! Use extra care during this part of the installation. Avoid placing your TV facedown, as it may damage the viewing surface.
NOTE: This mount comes with a variety of screw diameters to accommodate different TV models. Not all of the hardware in the kit will be used. If you cannot find the appropriate screw size in the kit provided, consult with the manufacturer of your TV or a professional installer.
- Examine the mounting holes on the back of your TV.
- If the mounting holes are spaced between 100 x 100 mm and 200 x 200 mm apart, skip this section and proceed with step 2
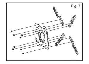
- If the mounting holes are spaced more than 200 x 200 mm apart, check the chart and illustrations below to determine the correct orientation for attaching the adapter plates to the mount (Fig. 6).

- Attach the adapters (I) to the TV plate as shown in the following illustration, using the M8 x 10 screws (P) from the provided kit (Fig. 7).

- Determine the correct length of screw to use by examining the back of your TV.
- If the back of your TV is flat and the mounting holes are flush with the surface, you will use the shorter screws (I, K, M, P)
- If the back of your TV is curved, has a protusion or if the mounting holes are recessed, you will need to use the longer screws (J, L, N, Q) and may also need to use the spacers (F)
- Determine the correct diameter of the screw by carefully trying one of each size from the hardware kit. DO NOT force any of the screws. If you feel resistance, STOP IMMEDIATELY and try a smaller diameter screw.
- Place the TV plate of the mount over the back of your TV and line it up with the holes. Make sure the arrow on the TV plate is pointing up.
- Attach the TV plate to the back of your TV, using the screws identified in steps 1 and 2 (Fig. 8).

- If you are using the M4 or M6 screws (I, J, M, N), you will need to use the M6 washers (D)
- If you are using the M8 screws (P, Q), you will need to use the M8 washers (E)
- If you are using the longer screws on a TV with a curved or recessed back, you may also need to use the spacers (F). Use one spacer or two spacers stacked as needed. Only use a spacer if necessary.
PART 3 – FINAL ASSEMBLY
- To complete the installation, carefully place the TV plate with your TV attached to the mount as shown (Fig. 9).
DO NOT release the TV until the TV plate is securely placed on the mount. - Replace the safety screws removed in Part 1 and tighten.
IMPORTANT! The safety screws MUST be tightened at all times to prevent the TV from being accidentally knocked off the mount. - Install the cable management clip (G) as shown in the illustration (Fig. 10).
Cables can be routed through the hook located on the mount to keep them organized and out of the way. Slide the plastic cover back to the mount.
OPERATION AND ADJUSTMENT
- To change the tilt angle, have one person hold the TV firmly in place while another person loosens the tilt screws, located on each side of the mount using the S4 Allen key (H) from the kit (Fig. 11). Once loosened, you may move your TV to the desired position. Re-tighten the screws to lock the tilt angle in place. DO NOT release the TV until these screws are fully tightened.
IMPORTANT! Never fully loosen or remove the screws while operating the mount.
- Swivel adjustments can be made simply by moving the TV to the desired position.
- To make level correction adjustments, have one person hold the TV firmly in place while another person slightly loosens the safety screws as shown in the illustration, using the screwdriver. Rotate the TV until level and then re-tighten the safety screws. Never fully loosen or remove these screws.
- Periodically clean your mount with a dry cloth. Inspect all screws and hardware at regular intervals to ensure that no connections have become loose over time. Re-tighten as needed.
WARNINING
This product contains small items that could be a choking hazard if swallowed. Keep these items away from young children!
- Make sure these instructions are read and completely understood before attempting installation. If you are unsure of any part of this installation, contact a professional installer for assistance.
- The wall or mounting surface must be capable of supporting the combined weight of the mount and the display; otherwise the structure must be reinforced.
- Safety gear and proper tools must be used. A minimum of two people are required for this installation. Failure to use safety gear can result in property damage, serious injury or death.
THE SOURCE – WARRANTY
The Source warrants that this product will be free from defects in materials and workmanship for a period of one (1) year from the date of purchase. Within this period, simply take the product and your proof of purchase to any The Source store or participating dealer and the product will be replaced (where available) without charge. Any product which has been subject to misuse or accidental damage is excluded from this warranty.
This warranty is only applicable to a product purchased through The Source company-owned stores or participating dealers in Canada where the warranty is included with the product. While this warranty does not confer any legal rights other than those set out above, you may have additional statutory rights which will vary under the laws of the various countries, states, provinces and other governmental entities in which The Source operates. This warranty is subject to all statutory rights you may have in Canada.
Imported by: The Source, Barrie, Ontario, Canada, L4M 4W5

Manufactured in China www.thesource.ca
© 2020 The Source All rights reserved.

lag bolts (A) and washers (C) provided (Fig. 3). DO NOT over-tighten these screws. Ensure that the mount remains level after all screws are secured.




DO NOT release the TV until the TV plate is securely placed on the mount.
Cables can be routed through the hook located on the mount to keep them organized and out of the way. Slide the plastic cover back to the mount.
















