HINKLEY 22030 Lighting Fixture

Mounting Instructions
start here
- Find a clear area in which you can work.
- Unpack the fixture and glass from carton.
- Carefully review instructions prior to assembly.
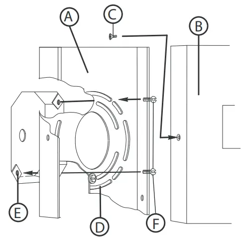
Drawing 1 – Fixture Mounting

- Remove the main mounting plate (A) from the fixture’s backplate(B) by removing the flat head screws (C) see Drawing 1.
- Slide the wires from the junction box, through the large center hole, making sure curved slots (D) line up with the threaded holes (E) in the Junction bOx.
- Using two 8-32 screws (F) [not provided] attach the main mounting plate (A) to the junction box, making sure side of the mounting plate (A) is vertical.
- Next, it will be necessary to attach tail brace bracket (1) to the wall. before mounting the fixture to the wall. This is accomplished by temporarily attaching the fixture to the mounting bracket (A). Now locate the centerline of the backplate (B) and measure down 5″ (125mm), and place a mark at this point. Drill hole for plastic anchor (3) provided, insert anchor, and mount tail brace bracket (1) with screw (4) provided making sure screw hole in top of tail bracket is facing up. – see Drawings 1 and 2.
- Now wire the fixture following the instruction sheet (I5-18).
- After wiring is completed, slip tail brace (5) onto tail (T) slide backplate (B) Over mounting plate (A) and tail brace (5) over tail brace bracket (1). Next, align screw holes in the backplate with threaded holes in the mounting plate – see Drawings 1 and 2.
- Thread in screw (C) removed earlier into holes. Then thread screw (6) into place to secure tail brace (5).
SAFETY WARNING: READ WIRING AND GROUNDING INSTRUCTIONS (L.S. 18) AND ANY ADDITIONAL DIRECTIONS. TURN POWER SUPPLY OFF DURING INSTALLATION. IF NEW WIRING IS REQUIRED, CONSULT A QUALIFIED ELECTRICIAN OR LOCAL AUTHORITIES FOR CODE REQUIREMENTS. Make electrical connections from supply wire to fixture lead wires. Refer to the instruction sheet (1.S. 18) and follow all instructions to make all necessary wiring connections. Then refer back to this sheet to complete the installation of this fixture.
Glass Replacement
start here
- Find a clear area in which you can work.
- Unpack fixture and glass from carton.
- Carefully review instructions prior to assembly.
DRAWING 2 – GLASS INSTALLATION

wiring grounding instructions
SAFETY WARNING: READ WIRING AND GROUNDING INSTRUCTIONS (IS 18) AND ANY ADDITIONAL DIRECTIONS. TURN POWER SUPPLY OFF DURING INSTALLATION. IF NEW WIRING IS REQUIRED, CONSULT A QUALIFIED ELECTRICIAN OR LOCAL AUTHORITIES FOR CODE REQUIREMENTS
Drawing 1 – Flush Mount

wiring instructions
Indoor Fixtures
- Connect positive supply wire (A) (typically black or the smooth, unmarked side of the two-conductor cord) to positive fixture lead (B) with appropriately sized twist on the connector – see Drawings 1 or 2.
- Connect negative supply wire (C) (typically white or the ribbed, marked side of the two-conductor cord) to negative fixture lead (D).
- Please refer to the grounding instructions below to complete all electrical connections
Drawing 2 – Chain Hung

Outdoor Fixtures
- Connect positive supply wire (A) (typically black or the smooth unmarked side of the two-conductor cord) to positive fixture lead (B) with an appropriately sized twist on connector — see Drawings 2 or 3.
- Connect negative supply wire (C) (typically white or the ribbed, marked side of the two-conductor cord) to negative fixture lead (D).
- The cover open end of connectors with silicone sealant to form a watertight seal.
- If installing a wall mount fixture, use caulk to seal gaps between the fixture mounting plate (backplate) and the wall. This will help prevent water from entering the outlet box. If the wall surface is lap siding, use caulk and a fixture mounting platform especially.
- Please refer to the grounding instructions below to complete all electrical connections.
Drawing 3 – Post-Mount

grounding instructions
Flush Mount Fixtures
For positive grounding in a 3-wire electrical system, fasten the fixture ground wire (E) (typically copper or green plastic coated) to the fixture mounting strap (M) with the ground screw (S) – see Drawing 1.
Note: On straps for screw-supported fixtures, first install the two mounting screws in strap. Any remaining tapped hole may be used for the ground screw.
Chain Hung Fixtures
Loop fixture ground wire (E) (typically copper or green plastic coated) under the head of the ground screw (S) on the fixture mounting strap (M) and connect to the loose end of the fixture ground wire directly to the ground wire of the building system with appropriately sized twist-on connectors – see Drawing 2.
Post-Mount Fixtures
Connect fixture ground wire (E) (typically copper or green plastic coated) to the power supply ground with an appropriately sized twist-on connector inside the post. The cover opens the end of the connector with silicone sealant to form a watertight seal – see Drawing 3.
HINKLEY 33000 Pin Oak Parkway, Avon Lake, OH 44012 800.446.5539 / 440.653.5500 hinkley.com

















