HINKLEY 83070 Kichler Krysalis 9.5 Bathroom Lighting

MOUNTING

- To begin installation of your fixture it will first be necessary to remove the mounting plate (A) from the backplate (B). This is accomplished by first removing the two screws (C), located at the left and right of the backplate (B). Set screws in a safe place for use later.
- Next attach mounting plate (A) to junction box (J) with two screws (D), NOT PROVIDED.
Note: The holes in the canopy (H) and the holes in the mounting plate
(E) should be facing left and right - Make all necessary electrical connections following instruction sheet IS-18 provided. NOTE: additional anchor holes (X) are provided on the fixture mounting plate. Please use appropriate mounting hardware. (Not Provided)
SAFETY WARNING
READ WIRING AND GROUNDING INSTRUC-TIONS (1.S. 18) AND ANY ADDITIONAL DIRECTIONS. TURN POWER SUPPLY OFF DURING INSTALLATION. IF NEW WIRING Is REQUIRED, CONSULT A QUALIFIED ELECTRICIAN OR LOCAL AUTHORITIES FOR CODE REQUIREMENTS.
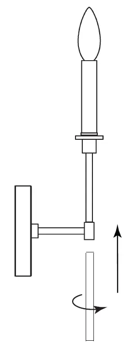
After all connections are made, tuck wires into junction box (J) and slip backplate (B) over mounting flange (E) and align threaded holes, in flange (E), with holes (H) in backplate (B). Thread in screws (C) removed earlier, and tighten to secure fixture to wall. Attach the bottom stem by screwing stem in the main fixture body as shown in drawing 2.
fixture assembly

Wiring instructions
Indoor Fixtures
- Connect positive supply wire (A) (typically black or the smooth, unmarked side of the two-conductor cord) to positive fixture lead (B) with appropriately sized twist on connector – see Drawings 1 or 2.
- Connect negative supply wire (C) (typically white or the ribbed, marked side of the two-conductor cord) to negative fixture lead (D).
- Please refer to the grounding instructions below to complete all electrical connections
Outdoor Fixtures
- Connect positive supply wire (A) (typically black or the smooth unmarked side of the two-conductor cord) to positive fixture lead (B) with appropriately sized twist on connector -see Drawings 2 or 3.
- Connect negative supply wire () (typically white or the ribbed, marked side of the two-conductor cord) to negative fixture lead (D).
- Cover open end of connectors with silicone sealant to form a watertight seal. If installing a wall mount fixture, use caulk to seal gaps between the fixture mounting plate (backplate) and the wall. This will help prevent water from entering the outlet box. If the wall surface is lap siding, use caulk and a fixture mounting platform specially.
- Please refer to the grounding instructions below to complete all electrical connections.
grounding instructions
Flush Mout Fixtures
For positive grounding in a 3-wire electrical system, fasten the fixture ground wire (E) (typically copper or green plastic coated) to the fixture mounting strap (M) with the ground screw (S) – see Drawing 1.
Note: On straps for screw supported fixtures, first install the two mounting screws in strap. Any remaining tapped hole may be used for the ground screw.
Chain Hung Fixturees
Loop fixture ground wire (E) (typically copper or green plastic coated) under the head of the ground screw (S) on fixture mounting strap (M) and connect to the loose end of the fixture ground wire directly to the ground wire of the building system with appropriately sized twist-on connectors -see Drawing 2.
Post-Mount Fixtures
Connect fixture ground wire (E) (typically copper to power supply ground with appropriately sized twist-on connector inside post. Cover open end of connector with silicone sealant to form a watertight seal – see Drawing 3. or green plastic coated




















