KICHLER 55143BK Bathroom Vanity Light and Wall Sconce

Product Information
The product is a fixture for interior lighting that can be mounted on an outlet box. The fixture comes with a mounting strap, canopy, strap mounting screws, socket ring, shade, flat steel ring, socket, decorative end, and mounting screws. The product is designed to be installed with wire connections and grounding instructions. The fixture can be mounted with the shade in an up or down position and is compatible with various types of wires and bulbs.
Product Usage Instructions
- Attach the mounting strap to the outlet box using the strap mounting screws. Mounting strap can be adjusted to suit the position of the fixture. Make sure to mount the mounting strap with the bent tabs at the far edges of the mounting strap in the 12 and 6 o’clock position.
- Refer to grounding instructions and connect the ground wire from the outlet box to the green ground screw provided on the fixture’s mounting strap. If the fixture comes with ground wire, connect it to the outlet box ground wire with a wire connector.
- Refer to the wire connections chart and connect the wires accordingly. Connect black or red supply wire to black and white supply wire to white. For parallel cords, the neutral wire is square shaped or ridged, and the other wire will be round in shape or smooth.
- Push the fixture against the wall while aligning threaded holes in bent tabs of mounting strap with mounting screw holes in the top and bottom of canopy. Make sure all wires are inside canopy and do not get pinched between mounting strap and canopy or wall and canopy of fixture.
- Screw two mounting screws into the holes in the canopy and mounting strap to attach the fixture to the wall. One at the top and one at the bottom. Tighten to secure.
- Slip the shade over the socket and make sure it is fully seated in the socket base cup. While holding the shade in place, slip the flat steel ring over the socket and screw the socket ring onto threads on the outside of the socket. Tighten socket ring to secure the shade. Do not over tighten.
- Thread the decorative end into coupling on the bottom of fixture as shown. Tighten to secure.
- Insert the recommended bulb (not included).
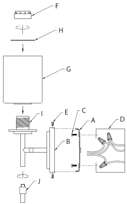
FIXTURE DIAGRAM

PARTS LIST
- [A] Mounting Strap
- [B] Canopy
- [C] Strap Mounting Screw (Qty. 2)
- [D] Outlet Box (Not supplied)
- [E] Mounting Screw (Qty. 2)
- [F] Socket Ring
- [G] Shade
- [H] Flat Steel Ring
- [I] Socket
- [J] Decorative End
CAUTIONS
CAUTION – RISK OF SHOCK:
Disconnect Power at the main circuit breaker panel or main fusebox before starting and during the installation.
WARNING:
- This fixture is intended for installation in accordance with the National Electrical Code (NEC) and all local code specifications. If you are not familiar with code requirements, installation by a certified electrician is recommended. Failure to adhere to these codes and instructions may result in serious injury and/or property damage and will void the warranty.
CLEANING:
- Always be certain that electric current is turned off before cleaning.
- Only a soft damp cloth should be used. Harsh cleaning products may damage the finish.
INSTALLATION INSTRUCTIONS
- Attach mounting strap[A] to outlet box[D] using the strap mounting screws[C]. Mounting strap can be adjusted to suit position of fixture. NOTE: Mounting strap[A] should be mounted with the bent tabs at the far edges of the mounting strap in the 12 and 6 o’clock position.
- Grounding instructions: (See Illus. a or b).
- On fixtures where mounting strap is provided with a hole and two raised dimples, wrap ground wire from outlet box around green ground screw, and thread into hole.
- On fixtures where a cupped washer is provided, attach ground wire from outlet box under cupped washer and green ground screw, and thread into mounting strap.
If fixture is provided with ground wire, connect fixture ground wire to outlet box ground wire with wire connector after following the above steps. Never connect ground wire to black or white power supply wires.
- Make wire connections. Reference chart below for correct connections and wire accordingly.
Connect Black or Red Supply Wire to: Connect White Supply Wire to: Black White *Parallel cord (round & smooth) *Parallel cord (square & ridged) Clear, Brown, Gold or Black without Tracer Clear, Brown, Gold or Black with Tracer Insulated wire (other than green) with copper conductor Insulated wire (other than green) with silver conductor *Note: When parallel wire (SPT 1 & SPT 2) are used. The neutral wire is square shaped or ridged and the other wire will be round in shape or smooth (See illus.) 
- Push fixture to wall, carefully aligning threaded holes in bent tabs of mounting strap[A] with mounting screw holes in the top and bottom of canopy[B].
NOTE: Fixture can be mounted with shade[G] in the up or down position. Make sure all wires are inside canopy[B] and do not get pinched between mounting strap and canopy or wall and canopy of fixture. - Screw two (2) mounting screws[E] into the holes in the canopy and mounting strap to attach fixture to wall. One at the top and one at the bottom. Tighten to secure.
- Carefully slip shade[G] over socket[I]. Make sure shade is fully seated in socket base cup.
- While holding shade in place on socket base cup, carefully slip flat steel ring[H] over the socket, and screw socket ring[F] onto threads on outside of socket. Tighten socket ring to secure shade. DO NOT OVER-TIGHTEN.
- Thread decorative end[J] into coupling on the bottom of fixture as shown. Tighten to secure.
- Insert recommended bulb (not included).
For warranty information please visit: kichler.com/warranty
















