Lighting 70034 Swansea Vanity Light
Instruction Manual
START FROM HERE
- Make sure the power is completely off at the fuse box.
- Have your fixture installed by a qualified licensed electrician
- Prepare everything in a clear area.
- Wear gloves at all times during this installation.
- Read the instructions carefully before you start assembly.
- Keep this instruction sheet for future reference.

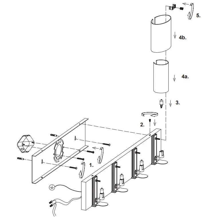
Vanity with round white opal inner glass and oval outer clear glass
- Remove the fixture from its original packaging. Remove the canopy mounting plate from within the canopy and attach it to the electrical junction box, and wall, using the four screws provided in the hardware package.
- Now attach the canopy to the mounting plate which is attached to the electrical junction box on the wall. First attach all wiring with the provided markets (white to white “N”, black to black “L”, ground to ground “G”).
Push the canopy onto the mounting plate installed on the wall. Align the four holes (two above & two below) on the canopy to the holes on the mounting plate. Once aligned, screw in the four screws provided to secure the fixture to the wall. - You can now install the G-9 light bulbs with the correct wattage.
- Now install the glass light covers onto the fixture. (4a) First install the smaller glass light cover by sliding it into place along the glass receiver bar installed on the canopy of the fixture. (4b) Then install the second bigger glass light cover by sliding it over top of the smaller glass light cover along the glass receiver bar installed on the canopy.
- Now install the metal clip, and attach it to the canopy using the locking nut to secure the glass covers to the canopy.
- You have now completed the installation of your fixture, please enjoy.
19054 28th Avenue Surrey, BC Canada V3Z 6M3
T: 604 538 7162 TF: 1-855 85 KUZCO F: 604 538 7196
W: kuzcolighting.com
20181127
















