KICHLER 37531 Zagara 3-Light Vanity

ATTACH YOUR RECEIPT HERE
Serial Number
Purchase Date
Questions, problems, missing parts? Before returning to your retailer, call our customer service department at 800-554-6504, 8 a.m. – 4:30 p.m, EST, Monday – Friday. kichler.com/customer-care/contact-us
PACKAGE CONTENTS

| PART DESCRIPTION QUANTITY | ||
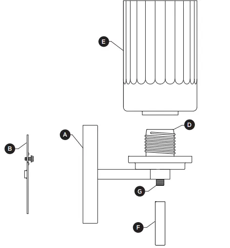
| A | Canopy | 1 |
| B | Mounting Bracket | 1 |
| C | Socket Ring | 3 |
| D | Socket | 3 |
| E | Shade | 3 |
| F | Rod | 3 |
| G | Threaded Pipe | 3 |
HARDWARE CONTENTS

SAFETY INFORMATION
Please read and understand this entire manual before attempting to assemble, operate or install the product.
WARNING
- CAUTION – RISK OF SHOCK –
Disconnect Power at the main circuit breaker panel or main fusebox before starting and during the installation. - WARNING:
This fixture is intended for installation in accordance with the National Electrical Code (NEC) and all local code specifications. If you are not familiar with code requirements, installation by a certified electrician is recommended. - Do not use bulbs with wattage greater than specified on this fixture.
- California Proposition 65
WARNING: This product can expose you to chemicals including lead, which is known to the State of California to cause cancer, birth defects, or other reproductive harm. For more information, go to http://www.P65Warnings.ca.gov
CAUTION
- If you have any doubts about how to install this lighting fixture, or if the fixture fails to operate completely, please contact a licensed electrical contractor.
- All parts must be used as indicated in these instructions. Do not substitute any parts, leave parts out, or use any parts that are worn out or broken. Failure to obey this instruction could invalidate ETL listing and/or C.S.A. certification of this fixture.
PREPARATION
Before beginning assembly of product, make sure all parts are present. Compare parts with package contents list and hardware contents list. If any part is missing or damaged, do not attempt to assemble the product.
Estimated assembly time: 30 minutes to 1 hour
Tools Required for Assembly (not included): Phillips screwdriver, flathead screwdriver, wire strippers, electrical tape, ladder, safety glasses.
ASSEMBLY INSTRUCTIONS
- Orient the mounting bracket (B) so the raisedcenter portion protrudes into the outlet box. Insert long machine screws (DD) through mounting bracket (B). With long machine screws (DD) protruding outward, connect the mounting bracket (B) to the outlet box (not included) with short machine screws (BB).
Hardware Used
- Wire connection guide:

Ground wire:- For installation in the United States: Wrap ground wire from outlet box around ground screw on mounting bracket (B) no less than 2 in. from wire end. Tighten ground screw. If fixture is supplied with a ground wire, connect to outlet ground wire with a wire connector (AA).
- For installation in Canada: If fixture is supplied with ground wire, wrap ground wire around ground screw on mounting bracket (B). Tighten ground screw. Connect fixture ground wire to outlet ground wire with a wire connector (AA).
Supply wires:
Connect the Neutral (White) supply wire from the outlet box to the Neutral fixture wire (White or Parallel Cord “D” shaped and ribbed).
Connect the Hot (Black) supply wire from the outlet box to the Hot fixture wire (Black or Parallel Cord round and smooth). - NOTE:
Fixture wires will either be:
Black and White.
Parallel Cord SPT-1 lamp wire with one round smooth wire and one “D” shaped ribbed wire.
Hardware Used

- Thread rod (F) to exposed threaded pipe (G).
Repeat for remaining rods. - Pass Canopy (A) over the long machine screws (DD) protruding from the mounting bracket (B) and secure in place
with lockwashers (EE) and threaded knobs (CC).
NOTE: The fixture can be installed with the sockets facing either up or down.
Hardware Used
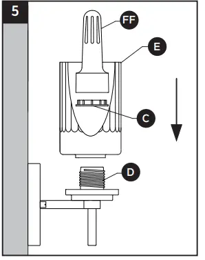
- Pass shades (E) over sockets (D). While holding the shades in place, secure shades to sockets with socket rings (C) using the wrench (FF).
DO NOT OVER-TIGHTEN.
Hardware Used
- Insert 3 bulbs (not included). Use a 60-wattmax. medium-base incandescent bulb or a LED/CFL equivalent.

CARE AND MAINTENANCE
- Always be certain that electric current is turned off before cleaning this item.
- Use a soft, moist cloth with mild non-abrasive soap to clean fixture. Never use glass cleaner on fixture, as it will damage the metal finish.
- All glass shades may be washed in a towel-lined sink with warm water and mild soap. Do not wash shades in an automatic dishwasher.
TROUBLESHOOTING
| PROBLEM | POSSIBLE CAUSE | CORRECTIVE ACTION |
| Fixture does not light. | 1. Fixture may be wired incorrectly. 2. Worn or broken bulb. | 1. Check wiring. 2. Replace bulb. |
Distributed by: Kichler Lighting LLC 30455 Solon Rd Solon, OH 44139 Printed in China







Hardware Used


















