LED Vanity Light
INSTALLATION SHEET
VL63636
START FROM HERE
- Make sure POWER is COMPLETELY OFF at the fuse box
- Have your fixture installed by a qualified licensed electrician
- Prepare everything in a clear area
- Wear gloves at all times during this installation
- Read instructions carefully before you start assembly
- Keep this installation sheet for future reference
Please Note:
- This Kuzco fixture comes with pre-wired LED module(s)
- Unless instructed, Do Not touch any part of the LED module(s) as any unnecessary contact with the module could cause permanent damage
- Use ELV (Electronic Low Voltage) or TRIAC type of dimmer for dimming application
- 120V input voltage
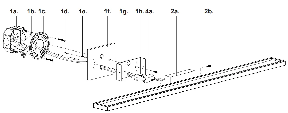
Octagon junction box install
- Remove the fixture from its original packaging. Next, remove the mounting plate (1g) from the canopy (2a) by removing fixture screws (2b)
- Secure the universal mounting plate (1c) to the electrical junction box (1a) with junction box screws (1d) provided in the hardware package. Secure backplate (1f) to mounting plate (1g) with screws (1e). Attach backplate (1f) and mounting plate (1g) assembly to universal mounting plate (1c) with screws (1h)
- Make proper electrical connections (black to hot “L”, white to neutral “N”, ground to “GND”) with wire nuts (1b) provided in the hardware package and place driver (4a) inside the canopy (2a)
- Attach the canopy (2a) to mounting plate (1g) and secure it with fixture screws (2b)

(Octagon junction box install)
Single gang box install
- Remove the fixture from its original packaging. Next, remove the mounting plate (1g) from the canopy (2a) by removing fixture screws (2b)
- Secure the mounting plate (1g) to the electrical junction box (1a) with junction box screws (1d) provided in the hardware package
- Make proper electrical connections (black to hot “L”, white to neutral “N”, ground to “GND”) with wire nuts (1b) provided in the hardware package and place driver (4a) inside the canopy (2a)
- Attach the canopy (2a) to the mounting plate (1g) and secure it with fixture screws (2b)
(Single gang box install)
19054 28th Avenue Surrey, BC Canada V3Z 6M3
T: 604 538 7162 TF: 1-855 85 KUZCO F: 604 538 7196
W: kuzcolighting.com
20210409


















