Kuzco Lighting VL63416 LED Vanity Light Installation Guide
Safety instruction
- Make sure power is completely off at the fuse box.
- Have your fixture installed by a qualified licensed electrician
- Prepare everything in a clear area.
- Wear gloves at all times during this installation.
- Read instructions carefully before you start assembly.
- Keep this instruction sheet for future reference
Please Note:
- This Kuzco LED fixture comes with pre-wired LED module(s)
- Unless instructed, Do Not touch any part of the LED module(s) as any unnecessary contact with the module could cause permanent damage
- For dimming, an ELV (Electronic Low Voltage) type of dimmer is required
- 120V input
Technical Support: 1-855-855-8926
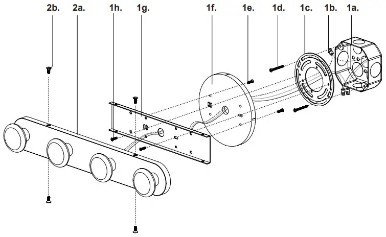
Octagon junction box install
- Remove the fixture from its original packaging. Next, remove the mounting plate (1g) from the fixture (2a) by
removing fixture screws (2b) - Secure the universal mounting plate (1c) to the electrical junction box (1a) with junction box screws (1d) provided in the hardware package. Secure backplate (1f) to mounting plate (1g) with screws (1e). Attach backplate
- (1f) and mounting plate (1g) assembly to universal mounting plate (1c) with screws (1h)
- Make proper electrical connections (black to hot “L”, white to neutral “N”, ground to “GND”) with wire nuts (1b) provided in hardware package
- Attach the fixture (2a) to mounting plate (1g) and secure with fixture screws (2b)

Single gang box install
- Remove the fixture from its original packaging. Next, remove the mounting plate (1g) from the fixture (2a) by removing fixture screws (2b)
- Secure the mounting plate (1g) to the electrical junction box (1a) with junction box screws (1d) provided in the
hardware package. - Make proper electrical connections (black to hot “L”, white to neutral “N”, ground to “GND”) with wire nuts (1b) provided in hardware package.
- Attach the fixture (2a) to the mounting plate (1g) and secure with fixture screws (2b)

Support
19054 28th Avenue Surrey, BC Canada V3Z 6M3
T: 604 538 7162 TF: 1-855 85 KUZCO
F: 604 538 7196
W: kuzcolighting.com
20210401



















