LED Vanity Light
VL47337
INSTALLATION SHEET
VL47337 LED Vanity Light
START FROM HERE
- Make sure POWER is COMPLETELY OFF at the fuse box
- Have your fixture installed by a qualified licensed electrician
- Prepare everything in a clear area
- Wear gloves at all times during this installation
- Read instructions carefully before you start assembly
- Keep this installation sheet for future reference
Technical Support: 1-855-855-8926
Please Note:
- All Kuzco LED fixtures to come with pre-wired LED module(s).
- Unless instructed to do so, please do not touch any part of the LED module(s) as any unnecessary contact with the module could cause permanent damage.
- For dimming, an ELV (Electronic Low Voltage) type of dimmer is required.
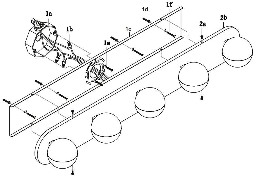
- Remove the fixture from its original packaging. Remove the mounting plate (1c) from the canopy(2b) by unscrewing four screws (2a). Attach this mounting plate (1c) to the electrical junction box (1a), by using screws (1e) provided in the hardware package.
- Attach the canopy to the mounting plate, which is attached to the electrical junction box on the wall. First connect all wires correctly G ground to ground, N neutral wire (white to white), L live wire (black to black) with provided barrettes (1b) from the hardware package. For extra support, use the woodscrews (1d & 1f) to secure the mounting plate (1c). Now place the canopy (2b) onto the mounting plate (1c). As you move the backplate, align the top & bottom holes to the holes on the mounting plate (1c). Secure the canopy (2b) by using the screws (2a) provided.
- You have now completed the installation of your fixture, enjoy.

19054 28th Avenue Surrey, BC Canada V3Z 6M3
T: 604 538 7162 TF: 1-855 85 KUZCO F: 604 538 7196
W: kuzcolighting.com
20181127

















