NITE collection¹
INSTALLATION MANUAL
http://www.domusline.com/installation_manuals/3477500_NITE_r4.pdf
| phone | 0039 0434 595911 |
| fax | 0039 0434 923345 |
| [email protected] | |
| website | www.domusline.com |
WATCH THE VIDEO TUTORIAL FOR QUICK AND EASY INSTALLATION

https://www.youtube.com/watch?v=2PbEaeoOkts&list=PLI_4cmGK4dRW7vbRo4NeY0ywugOvsNjJ3
![]() | Device in insulation class II. Connection to the earthing circuit is not necessary. |
IP44 | IP44 protection. The appliance is protected against water splashes. |
![]() | Photobiological safety: The device belongs to the risk 0 group (EXEMPT) in accordance with EN62471. The product must be disposed of separately from urban waste, delivering it to the collection centers established by the prevailing standard. Adequate sorted waste collection contributes to preventing negative effects on the environment and health and favors reuse and/or recycling materials. Incorrect disposal of the product implies the application of the administrative sanctions envisaged by the prevailing regulation. |
![]() | Device only for indoor installation. |
| TYPE DESIGNATION | RATED WATTAGE | T.COLOR WW | T.COLOR NW | T.COLOR CW |
| NITE 305 | 5,0W | 3000K | 4000K | 6000K |
| NITE 550 | 7,0W | 3000K | 4000K | 6000K |
| NITE 800 | 7,0W | 3000K | 4000K | 6000K |
| Rated Voltage | AC 230V, 50/60Hz |
| Protection class | 2 |
| Degree of Protection | IP44 (indoor use only) |


¹ This installation manual contains instructions valid for all configurations of the NITE device
WARNING:
Safety is guaranteed if these instructions are followed and therefore they must be kept. Installation may require qualified personnel to be involved. Before proceeding with the installation of the device ensure that the environmental conditions are in compliance with and suitable for the product characteristics. Before carrying out any operation on the device remove mains power.
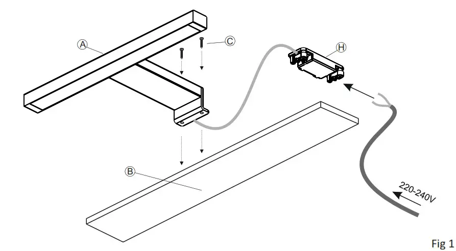
SHELF INSTALLATION (fig. 1):
– Secure the light (A) to the shelf (B) using the provided screws (C).
INSTALLATION ON MIRROR (Fig. 2,3):
– Fix the spotlight (A) to the support bracket (E) with the screws (D).
-Insert the bracket (E) on the mirror (F) making sure its thickness does not exceed 6,5mm (Fig. 2).
– Secure the bracket (E) to the mirror (F) with the grub screw(G).
ELECTRICAL CONNECTION:
– If the provided connector terminal is not used, used connection devices are certified in compliance with the EN 60998 standard.
– House this device in an adequately sized box.
– Do not use the device if the power cable and/or the connection cables are defective. Defective cables and/or connectors must be immediately replaced by qualified personnel authorized by DOMUS Line.
– Never run any cable through sharp corners and edges.
– Never run the cable over hot parts and always protect it against contact with liquids.
– Install the device in a position that is out of the reach of children.
– If the cable needs to be secured use only insulated clips or plastic cable ties.
– Ensure that the cable is not crushed between the wall and the mirror.
– Never use extension cables that are not compatible with the original connection system.
– Before cleaning the device ensure that you have switched it off and wait until it has cooled.
– Never immerse the device in water.
– To clean the metallic parts of the device use a soft and dry cloth and never, under any circumstances, use liquid detergents, abrasive products or similar items that could irreparably scratch and damage the surface.
– For stubborn dirt a cloth slightly dampened with water may be used. In this case, never bring the cloth into contact with
the live electrical parts (cables, connectors, etc.), and after cleaning, dry the device very well and ensure that no residual dampness remains.




















