46313BLK Aros Contemporary Black 13 Inch Foyer Lighting Fixture
Instruction Manual
46313BLK Aros Contemporary Black 13 Inch Foyer Lighting Fixture
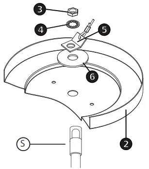
IS-30-2 Convertible Canopy Assembly
DRAWING 1-Flush mount

DRAWING 2-Pendent mount

THIS FIXTURE CAN BE MOUNTED CLOSE TO CEILING, TO PREPARE FIXTURE FOR MOUNTING FOLLOW THESE INSTRUCTIONS.
Flush mount mounting
- To mount fixture as a flush first locate short stem (7)
- Next insert threads of stem into canopy (2)
- Place flat washer (6) and safety cable (5) on to stem
- Secure stem to canopy using lock washer (4) and hex nut (3)
- Fixture can now be wired and mounted
Pendent mount mounting
- To mount fixture as a flush first locate the canopy swivel (S)
- Next insert threads of swivel (S) into canopy (2)
- Place flat washer (6) and safety cable (5) on to swivel
- Secure swivel to canopy usinglock washer (4) and hex nut (3) -Drawing (2)
- Fixture can now be wired and mounted
Drawing 1 – Stem Assembly

Drawing 2 – Mounting Detail

Drawing 3 – Mounting Detail

Assembly Instructions 46313
start here
- Find a clear area in which you can work.
- Unpack fixture and glass from carton.
- Carefully review instructions prior to assembly.
Shut off electrical current befoer starting. If the fixture you are replacing is turned on and off by a wall switch, simply turn the switch off. If not, remove the appropriate fuse (or open the circuit breakers) until the fixture is dead.• DO NOT restore current – either by fuse, breaker, or switch – until the new fixture is completely wired and in place.
STEP 1
- Feed wire through stem (S) or stems and canopy (C).
- Secure stems together if needed. Note fixture is supplied with multiple stem not all stems have to be used. Fixture can be mounted as a flush
- Secure bottom stem (S) to coupler (Z) at the top of of fixture.
- Secure top stem to canopy
- Fixture mounting can now be started
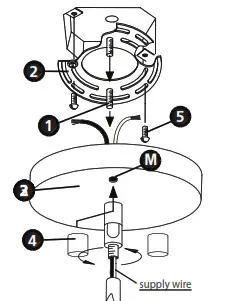
STEP 2
- Thread two long 8-32 screws (1) into the mounting strap (2).NOTE: The two screws must be threaded into holes that match the mounting hole spacing (M) on the canopy (3) – see Drawing 2.
- Attach the mounting strap (2) to the junction box with two 8-32 screws (5) [NOT PROVIDED]
- Now with assistance take the assembled fixture and lift it up and using hook on end of inspection cable, hook it into the mounting strap. Now slowly release the fixture until it is safely hanging from the inspection cable – see Drawing 3 and DETAIL 1.
- Make electrical connections following instruction sheet [IS18] provided.
- To install fixture, first lift assembled fixture up to ceiling and slip screws
1) on mounting bracket through holes (M) in canopy (3). Secure fixture to ceiling by threading barrel knobs (4) onto end of screws (1) and tightening.
SAFETY WARNING: READ WIRING AND GROUNDING INSTRUCTIONS (I.S. 18) AND ANY ADDITIONAL DIRECTIONS. TURN POWER SUPPLY OFF DURING INSTALLATION. IF NEW WIRING IS REQUIRED, CONSULT A QUALIFIED ELECTRICIAN OR LOCAL AUTHORITIES FOR CODE REQUIREMENTS.
Make electrical connections from supply wire to fixture lead wires. Refer to instruction sheet (I.S. 18) and follow all instructions to make all necessary wiring connections. Then refer back to this sheet to complete installation of this fixture.
Drawing 1 – Flush Mount

Drawing 2 – Chain Hung

Drawing 3 – Post-Mount

I.S. 18 wiring grounding instructions
SAFETY WARNING: READ WIRING AND GROUNDING INSTRUCTIONS (IS 18) AND ANY ADDITIONAL DIRECTIONS. TURN POWER SUPPLY OFF DURING INSTALLATION. IF NEW WIRING IS REQUIRED, CONSULT A QUALIFIED ELECTRICIAN OR LOCAL AUTHORITIES FOR CODE REQUIREMENTS
Wiring instructions
Indoor Fixtures
- Connect positive supply wire (A) (typically black or the smooth, unmarked side of the two-conductor cord) to positive fixture lead (B) with appropriately sized twist on connector – see Drawings 1 or 2.
- Connect negative supply wire (C) (typically white or the ribbed, marked side of the two-conductor cord) to negative fixture lead (D).
- Please refer to the grounding instructions below to complete all electrical connections
Outdoor Fixtures
- Connect positive supply wire (A) (typically black or the smooth unmarked side of the two-conductor cord) to positive fixture lead (B) with appropriately sized twist on connector – – – see Drawings 2 or 3.
- Connect negative supply wire (C) (typically white or the ribbed, marked side of the two-conductor cord) to negative fixture lead (D).
- Cover open end of connectors with silicone sealant to form a watertight seal.
If insta ling a wall mount fixture, use caulk to seal gaps between the fixture mounting plate (backplate) and the wall. This will help prevent water from entering the outlet box. If the wall surface is lap siding, use caulk and a fixture mounting platform specially. - Please refer to the grounding instructions below to complete all electrical connections.
Grounding instructions
Flush Mount Fixtures
For positive grounding in a 3-wire electrical system, fasten the fixture ground wire (E) (typically copper or green plastic coated) to the fixture mounting strap (M) with the ground screw (S) – see Drawing 1.
Note: On straps for screw supported fixtures, first install the two mounting screws in strap. Any remaining tapped hole may be used for the ground screw.
Chain Hung Fixtures
Loop fixture ground wire (E) (typically copper or green plastic coated) under the head of the ground screw (S) on fixture mounting strap (M) and connect to the loose end of the fixture ground wire directly to the ground wire of the building system with appropriately sized twist-on connectors – see Drawing 2.
Post-Mount Fixtures
Connect fixture ground wire (E) (typically copper or green plastic coated) to power supply ground with appropriately sized twist-on connector inside post. Cover open end of connector with silicone sealant to form a watertight seal – see Drawing 3.
HINKLEY 33000 Pin Oak Parkway,
Avon Lake, OH 44012 800.446.5539
440.653.5500
hinkley.com
















