PROGRESS LIGHTING P500433-191 Vertex 1 Light 12 inch Brushed Gold Foyer Light Ceiling Light Instruction Manual

PACKAGE CONTENTS

HARDWARE CONTENTS (not actual size)

Safety Information
Please read and understand this entire manual before attempting to assemble, operate or install the product.
CAUTION: Read instructions carefully and turn electricity off at main circuit breaker panel before beginning installation.
CAUTION: Risk of fire. Min. 90°C supply conductors. Consult a qualified electrician to ensure correct branch circuit conductor.
WARNING: If any Special Control Devices are used with this fixture, follow instructions carefully to assure full compliance with
N.E.C. requirements. If there are any questions, contact a qualified electrical contractor.
CAUTION: All glass is fragile. Use care when handling glass shades and bulbs.
Preparation
- Before beginning installation, make sure all parts are included using the contents diagrams from page 1. If any part is missing or damaged, do not attempt to assemble, install or operate the product.
- Estimated assembly time: 30 minutes.
- Tools required for assembly (not included): Phillips screwdriver, pliers, wire stripper, safety glasses, electrical tape, ladder.
Care and Maintenance
Shut off main power supply before cleaning product or changing light bulbs. To clean, wipe with damp cloth. Do not use abrasive cleaners or cleaners that contain alcohol.
Assembly Instructions
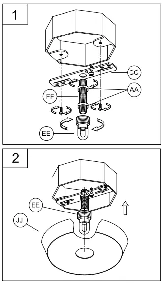
- Install the chain holder (EE) onto the nipple (FF).
Next, loosely thread the hex nuts (AA) onto the nipple (FF) and then thread this assembly onto the mounting strap (CC). Install this assembly to the outlet box using the mounting screws supplied with the outlet box (not included). - In this step, you will adjust the depth of the chain holder in relation to the canopy depth.
Take the canopy (JJ) and slip it over the chain holder (EE). You will need to adjust the chain holder so at least 1/411 of the threaded portion is exposed through the canopy hole. This is done by adjusting the depth of the nipple (FF) on the mounting strap
(CC). When the chain holder (EE) is correctly adjusted, remove the canopy (JJ) and tighten the top hex nut (AA) against the mounting strap (CC) and the bottom hex nut (AA) against the chain holder (EE). 1/4″ [6mm] Thread nipple


ASSEMBLY INSTRUCTIONS
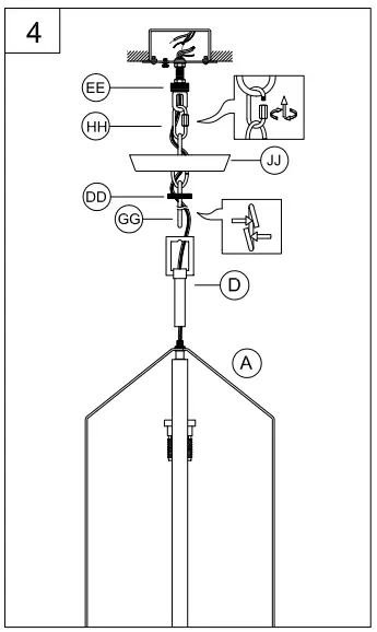
3. Equally adjust the arms by carefullyturning them out from the center.
NOTE: During this step, determine the hanging length of your fixture by removing chain links (GG) and optionally cutting the electrical and ground wire to length.Do NOT cut electrical or ground wires until this overall length is determined. Leave AT LEAST 6 inches
MINIMUM of wire past the chain holder (EE) to allow for easy connections in step 5.
(Chain links can be spread open with 2 pairs of pliers. Twist the split link ends in opposite directions and close by squeezing them back together.)
4. Once hanging length is determined, pass the wires through the chain loop (D), tighten the chain loop (D) to the nipple of fixture(A) secure tightly. open the chain link at one end of chain (GG). attach the chain link to chain loop (D), Close the chain links back together with the pliers.
Attach the other end of chain (GG) and chain holder (EE) onto the quick link (HH), close the quick link.
You can now weave the wires through every third chain link (GG). Continue to pass the wires AND chain through the screw collar (DD) and canopy (JJ).

5. Strip 3/811 of insulation from the electrical wire ends. Using wire nuts (BB), connect the RIBBEDfixture wire Ato the WHITE supply wire from the outlet box; connect the SMOOTH fixture wire to the BLACK supply wire.
Connect the fixture ground wire and supply ground wire using a wire nut or by fastening to the ground screw on the mounting strap. Push all wire connections into the outlet box.

ASSEMBLY INSTRUCTIONS
6. Tuck the wires into the junction box and slip the canopy (JJ) over the chain holder. Thread the screw collar (DD) onto the chain holder to secure the canopy tightly to the ceiling.

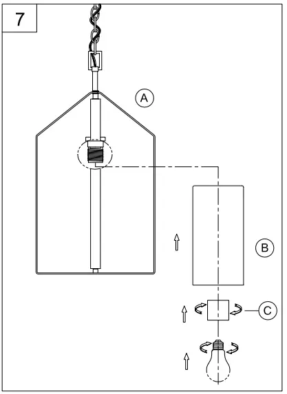
7. Attach the glass shade (B) onto the socket of fixture (A) use the socket ring (C) to secure tightly.
Thread the lamps (not included) into the fixture sockets. Use 100-watt MAX incandescent medium base, SBCFL or SBLED.

WARRANTY AND EXCLUSIVE REMEDY: Progress products, when properly installed and under normal conditions of use, are warranted to our customers only to be free from defects in material and workmanship at time of shipment. All warranty claims must be asserted within one year from date of purchase of the subject items; thereafter, warranty claims will not be honored. Customers’ sole remedy for a warranty claim or otherwise shall be limited to repair or replacement of the subject product if it is shown to have been defective in material or workmanship at time of shipment. Progress’s sole and maximum liability for a defective
product shall never exceed the cost of the subject product. EXCEPT FOR SUCH A WARRANTY AND EXCLUSIVE REMEDY AS STATED (AND THE EXPRESS WARRANTY OF TITLE), WE DISCLAIM ALL OTHER
WARRANTIES, WHETHER EXPRESS OR IMPLIED, AND SPECIFICALLY DISCLAIM THE IMPLIED WARRANTIES OF MERCHANTABILITY AND FITNESS FOR A PARTICULAR PURPOSE. IN NO EVENT SHALL WE BE LIABLE TO CUSTOMER IN WARRANTY, CONTRACT, NEGLIGENCE, STRICT LIABILITY OR OTHERWISE, FOR ANY DAMAGES, WHETHER INCIDENTAL OR CONSEQUENTIAL, WHICH ARE ALLEGED TO BE CAUSED BY ONE OR MORE OF OUR PRODUCTS, BEYOND THE COST TO THE CUSTOMER OF THE SUBJECT PRODUCT OR PRODUCTS. Therefore, the customer’s sole and exclusive remedy against us for breach of the warranty, breach of
contract or negligence or strict liability or otherwise shall be limited to repair or replacement of the subject product at our option (excluding installation and removal charges which shall not be our liability) or, if we choose, refund of the purchase price. In no case does our warranty and exclusive remedy extend to anybody other than our customers. Our customers are not authorized to extend warranties or remedies on our behalf to anyone. Such unauthorized extensions of warranties or remedies by the customer shall remain customer’s responsibility. Customer is responsible for determining the suitability of our products for
customer’s use or resale, or for incorporating them into objects or for applications which customer designs, assembles, constructs or manufactures.
Instructions d’Assemblage et Installation
Mise en garde: Lire les instructions avec soin et couper le courant au
disjoncteur central avant de commencer !’installation.
MISE EN GARDE: Lire les instructions avec soin et couper le courant au disjoncteur central avant de commencer !’installation.
MISE EN GARDE: Risque d’incendie. Min 90°C conducteurs d’alimentation. Consulter un electricien qualifie pour assurer le ban conducteur de circuit de derivation.
AVERTISSEMENT – S’il ya d’autres mecanismes regulateurs qui s’emploient avec ce dispositif, suivre soigneusement les instructions pour satisfaire aux exigences NEC. Si vous avez des questions, consulter un electricien qualifie.
MISE EN GARDE – Le verre est toujours fragile; maniez le(s) composant(s) et/ou I’ {les) ampoule(s) avec prudence.

lnstrucciones de ensamblaje e instalaci6n
Precauci6n: Lea cuidadosamente las instrucciones y desconecte la electricidad del cortacircuitos principal antes de iniciar la instalaci6n.
PRECAUCl6N: Lea cuidadosamente las instrucciones y desconecte la electricidad del cortacircuitos principal antes de iniciar la instalaci6n.
PRECAUCl6N: Riesgo de fuego. Min. 90°C las cables de suministro. Consulte a un electricista calificado para asegurarse de que el conductor del circuito derivado correcto.
ADVERTENCIA – Si usa alg(m dispositivo especial de control con este aparato de luz, siga las instrucciones cuidadosamente para asegurar la completa conformidad con las requisites N.E.C. Si existe alguna duda, contacte un electricista calificado.
PRECAUCION – El vidrio es fragil; tenga cuidado al manipular el {las) elemento(s) de vidrio y/o la(s) bombilla(s).
















