PROGRESS LIGHTING 4-LIGHT Foyer P500363
PACKAGE CONTENTS


| PART | DESCRIPTION | QUANTITY |
| A | Fixture | 1 |
| B | Rectangle ring | 1 |
| C | Screw | 8 |
| D | Rectangle tube | 4 |
| E | Support plate | 1 |
| F | Coupling | 1 |
HARDWARE CONTENTS (not actual size)

Safety Information
Please read and understand this entire manual before attempting to assemble, operate or install the product.
CAUTION
- Read instructions carefully and turn the electricity off at the main circuit breaker panel before beginning installation.
- Risk of fire. Min. 90°C supply conductors. Consult a qualified electrician to ensure the correct branch circuit conductor.
WARNING: If any Special Control Devices are used with this fixture, follow instructions carefully to assure full compliance with N.E.C. requirements. If there are any questions, contact a qualified electrical contractor.
CAUTION: All glass is fragile. Use care when handling glass shades and bulbs.
Preparation
- Before beginning installation, make sure all parts are included using the contents diagrams from page 1. If any part is missing or damaged, do not attempt to assemble, install or operate the product.
- Estimated assembly time: 30 minutes.
- Tools required for assembly (not included): Phillips screwdriver, pliers, wire stripper, safety glasses, electrical tape, ladder.
Care and Maintenance
- Shut off main power supply before cleaning product or changing light bulbs. To clean, wipe with damp cloth. Do not use abrasive cleaners or cleaners that contain alcohol.
Assembly Instructions

- Loosely thread the screws (AA) and the hex nuts (DD) onto the round mounting plate (CC) as shown. You now need to adjust the screw length according to the fixture canopy depth.

- Attach this assembly to the outlet box using the mounting screws supplied with the outlet box (not provided). Tighten securely. Lift up the fixture and pass the screws (AA) through the two mounting hole in the fixture canopy. While holding the fixture with one hand, thread the screws (AA) in or out of the round mounting plate (CC) until 3/16″ of threads are showing. That should be enough to mount the fixture as instructed in step4. Next, take the fixture down and go back and tighten the hex nuts (DD) up against the mounting strap (CC). You now should have the correct length of threads for mounting the fixture.

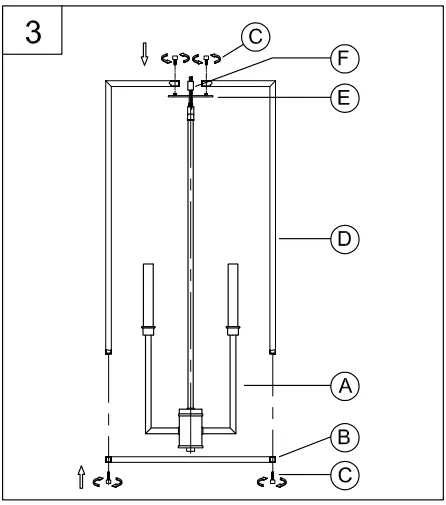
- Pass the wires through the support plate (E) and coupling (F), attach the support plate (E) to the hang straight of fixture (A) use the coupling (F) to secure tightly. Then attach four rectangle tube (D) to the support plate (E) use screw (C) to secure tightly. Attach the rectangle ring (B) to the rectangle tube (D) use screw (C) to secure tightly.

- NOTE: During this step, determine the hanging length of your fixture by adding or removing stems. The electrical and ground wire may also optionally be cut to length. Do NOT cut electrical or ground wires until this length is determined. Leave AT LEAST 6 inches MINIMUM of wire past the canopy 90 swivel to allow for easy connections in step 5.

- NOTE: During this step, determine the hanging length of your fixture by adding or removing stems. The electrical and ground wire may also optionally be cut to length. Do NOT cut electrical or ground wires until this length is determined. Leave AT LEAST 6 inches MINIMUM of wire past the canopy 90 swivel to allow for easy connections in step 5.
- Once hanging length is determined, pass wires through four pipe (FF), nipple (HH) and pipe (GG), tightening the stem assembly to fixture (A) as you go to avoid twisting the wires. Pass wires through fiberglass sleeving (JJ) and canopy. tightening the 90° swivel of canopy to the stem assembly.

- Strip 3/8″ of insulation from the electrical wire ends. Using wire nuts (BB), connect the RIBBED fixture wire to the WHITE Supply wire from the outlet box; connect the SMOOTH fixture wire to the BLACK supply wire. Connect the fixture ground wire and supply ground wire using a wire nut or by fastening to the ground screw on the round mounting plate. Push all wire connections into the outlet box.
- Pass the screws through the two holes in the canopy. Secure the fixture (A) to the screws (AA) using the two cylinder nuts (EE). Tighten securely.

- Thread the lamp (not included) into the fixture socket. Use 60-watt MAX incandescent candelabra base, SBCFL or SBLED.
WARRANTY AND EXCLUSIVE REMEDY
Progress products, when properly installed and under normal conditions of use, are warranted to our customers only to be free from defects in material and workmanship at the time of shipment. All warranty claims must be asserted within one year from the date of purchase of the subject items; thereafter, warranty claims will not be honored. Customers’ sole remedy for a warranty claim or otherwise shall be limited to repair or replacement of the subject product if it is shown to have been defective in material or workmanship at the time of shipment. Progress’s sole and maximum liability for a defective product shall never exceed the cost of the subject product. EXCEPT FOR SUCH A WARRANTY AND EXCLUSIVE REMEDY
AS STATED (AND THE EXPRESS WARRANTY OF TITLE), WE DISCLAIM ALL OTHER WARRANTIES, WHETHER EXPRESS OR IMPLIED, AND SPECIFICALLY DISCLAIM THE IMPLIED WARRANTIES OF MERCHANTABILITY AND FITNESS FOR A PARTICULAR PURPOSE. IN NO EVENT SHALL WE BE LIABLE TO THE CUSTOMER IN WARRANTY, CONTRACT, NEGLIGENCE, STRICT LIABILITY, OR OTHERWISE, FOR ANY DAMAGES, WHETHER INCIDENTAL OR CONSEQUENTIAL, WHICH ARE ALLEGED TO BE CAUSED BY ONE OR MORE OF OUR PRODUCTS, BEYOND THE COST TO THE CUSTOMER OF THE SUBJECT PRODUCT OR PRODUCTS.
Therefore, the customers sole and exclusive remedy against us for breach of the warranty, breach of contract or negligence or strict liability or otherwise shall be limited to repair or replacement of the subject product at Our option (excluding installation and removal charges which shall not be our liability) or, if we choose, refund of the purchase price. In no case does our warranty and exclusive remedy extend to anybody other than our customers. Our customers are not authorized to extend warranties or remedies on our behalf to anyone. Such unauthorized extensions of warranties or remedies by the customer shall remain the customer’s responsibility. The customer is responsible for determining the suitability of our products for customer use or resale, or for incorporating them into objects or for applications that the Customer designs, assembles, constructs, or manufactures.

























