nathan james 14601 Izzy Modern 18 Inch 2 Light Vanity Light Fixture

Product Information
| Description | Qty |
|---|---|
| Fixture | 1 |
| Glass Shade | 2 |
| Towel Bar | 1 |
| Hand Towel Hook | 1 |
| Toilet Paper Holder | 1 |
| Hand Towel Ring | 1 |
| M4*26mm Screw | 2 |
| Wire Nut | 3 |
| Mounting Bracket | 1 |
| Ball Nut | 2 |
| Mounting Plate | 5 |
| Dry Wall Wall Anchor | 10 |
| M3.5*50mm Screw for Dry Wall Anchor | 10 |
| Non-Dry Wall Anchor | 10 |
| M3.5*35mm Screw for Non-Dry Wall Anchor | 10 |
Product Usage Instructions
Safety Precautions:
- Do not modify the structure of this product in any way.
- Use this light fixture and accessories responsibly with the primary concern for your safety.
- Follow assembly instructions carefully and inspect the product upon receipt and each use.
- Any modifications to the product can create significant safety issues for which Nathan James will not be responsible.
- Nathan James and its parent companies cannot be held legally responsible for any injuries or death resulting from failure to follow instructions or improper use of this product.
Proper Use:
- Do not use the product for commercial purposes.
- Do not leave spilled liquid on the fixture.
- Do not use the light fixture if damaged.
- Do not make temporary repairs.
- Do not use incorrect bulbs.
Warning:
Inspect the wire insulation for any cuts, abrasions, or exposed copper that may have occurred during shipping. If there is a defect in the wire, do not attempt installation. Please reach out to our Customer Happiness team at [email protected] or call 1-866-619-1004.
Before starting the installation, disconnect the power by turning off the circuit breaker or by removing the appropriate fuse at the fuse box. Turning the power off at the switch is NOT SUFFICIENT to prevent electrical shock. Please consult a qualified electrician if you have any electrical questions.
Pre-Installation:
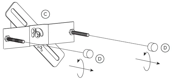
- Step 1: Remove the Ball Nuts (D) from the Mounting Bracket (C).
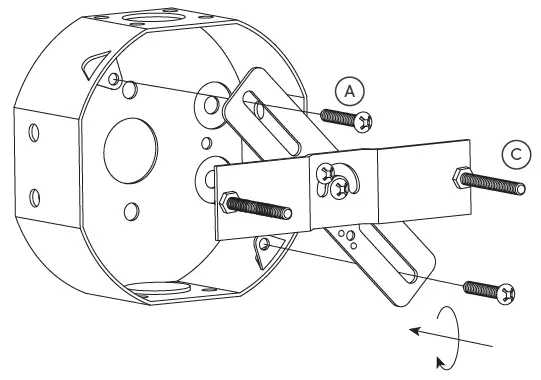
- Step 2: Using the M4*26mm Screws (A), install the Mounting Bracket (C) to your pre-installed electrical box. Note: Be sure that you are only making the connections to a 120V 60Hz AC circuit. If you do not have a pre-existing electrical box, we strongly advise using a certified electrician.
- Step 3: First, wrap the ground wire from the Fixture (1) around the grounding screw on the Mounting Bracket and then tighten the screw to secure it.
Fixture

Ok, let’s get rolling
This should be easy, just follow our instructions and you will be back to Netflix in no time.
Estimated time for assembly
- 75:00
What you need
- Your favorite snack or energy bar (Save the bubbly for once your fixture is safely installed!)
- Use the packaging carton as a working surface to prevent product damage during assembly
- For Non-Drywall Anchors, use a 1/4” drill bit
- For Drywall Anchors, use a 5/16” drill bit
Toll-free at 1-866-619-1004 [email protected] Nathanjames.com/help.
Safety first, fun later
Safe use of this product starts with you.
Use this light fixture and accessories responsibly with the primary concern for your safety. Follow assembly instructions carefully and inspect product upon receipt and each use. Nathan James and its parent companies cannot be held legally responsible for any injuries or death resulting from failure to follow instructions or improper use of this product.
Do not modify the structure of this product in any way.
Our products have been tested to meet specific safety measures as they were originally intended to be sold. Any modifications will present the risk of creating significant safety issues which Nathan James will not be responsible for.
Proper use
- DO NOT use for commercial purposes
- DO NOT leave spilled liquid on the fixture
- DO NOT use light fixture if damaged
- DO NOT make temporary repairs
- DO NOT use incorrect bulbs
WARNING
Inspect the wire insulation for any cuts, abrasions, or exposed copper that may have occurred during shipping. If there is a defect in the wire, do not attempt installation. Please reach out to our Customer Happiness team at [email protected] or 1-866-619-1004
WARNING: RISK OF
ELECTRIC SHOCK
Before starting the installation, disconnect the power by turning off the circuit breaker or by removing the appropriate fuse at the fuse box. Turning the power off at the switch is NOT SUFFICIENT to prevent electrical shock. PLEASE CONSULT A QUALIFIED ELECTRICIAN IF YOU HAVE ANY ELECTRICAL QUESTIONS.
Parts List
The goods

IMPORTANT
- Do not tighten bolts/screws completely until all bolts/screws are lined up and inserted into holes.
- Do not over-tighten screws and bolts to avoid stripping.
- Please use hand tools to assemble this product. Do not use power tools.
Pre-Installation
- Read all instructions prior to beginning assembly.
- To avoid damaging this product, assemble it on a soft, non-abrasive surface such as carpet or cardboard.
- Keep the receipt and these instructions for proof of purchase.
- 120 V 60Hz AC Only.
- Suggested Bulb: Type A15 (not included) or LED equivalent
- Max. Wattage: 120W (60W per bulb)
Installation
Step 1
- Let’s get this thing fired up! Or should we say, lit!
- Remove the Ball Nuts (D) from the Mounting Bracket (C).

Step 2
Using the M4*26mm Screws (A), install the Mounting Bracket (C) to your pre-installed electrical box.
Note:
Be sure that you are only making the connections to a 120V 60Hz AC circuit. If you do not have a pre-existing electrical box, we strongly advise using a certified electrician.

Step 3
- First, wrap the ground wire from the Fixture (1) around the grounding screw on the Mounting Bracket & then tighten the screw to secure it.
- Next, using a Wire Nut (B), join the ground wire from the Fixture (1) with the ground wire from your pre-installed electrical box.

Step 4
- Before moving forward any further, be sure that the threaded components on the Mounting Bracket are horizontal & level.
- Once they are horizontal and level, go ahead and tighten the center screw on the Mounting Bracket to hold it in place.

- Tip from a friend to a friend: Be sure that the threaded components on the Mounting Bracket are horizontal & level before fully tightening the Mounting Bracket.
Step 5
- Use Wire Nuts (B) to connect the matching colored wires (White to White, Black to Black). You’re doing great!
- Once complete, tuck the excess wire into the electrical box.

Step 6
- Using the Ball Nuts (D), mount the Fixture (1) to the Mounting Bracket on your electrical box.
- Be sure that all excess wire is tucked neatly into the electrical box.

Step 7
Install your light bulbs into each socket.

Step 8
- Twist the Shades into place on the Fixture.
- Cue the party music! Your vanity light is complete!

Step 9
Onto the bathroom hardware! For each component, use a Mounting Plate (E) as a template to on the wall for where you will need to drill your holes.

- For the Towel Bar, you will be using 2 Mounting Plates (E) with their centers 450mm apart from one another.
- Use 1 Mounting Plate (E) as your first template to mark your first set of holes then measure 450mm from the center of those marks and use the other Mounting Plate (E) to mark your second set of holes.

Step 10
Using a drill & the reference marks from Step 9, drill your holes into the wall.

Step 11
Insert wall anchors into the newly drilled holes.
Please note
- Part H is for non-drywall applications.
- Part F is for drywall applications.

Step 12
Using the provided screws & newly installed wall anchors, mount the Mounting Plates (E) to the wall.

Please note
- Part H & I are for non-drywall applications.
- Parts F & G are for drywall applications.
Step 13
- Time to mount! First, loosen the set screw on the bottom of each bathroom hardware component.
- Then, mount that bathroom hardware component over the Mounting Plate (E) and set it in place by re-tightening the set screw.

Step 14
- Shower, rinse, and repeat for the Towel Bar (3).
- Loosen the set screw on the bottom of the Towel Bar (3).
- Then mount it over the Mounting Plate (E) and set it in place by re-tightening the set screw.

- Now that everything’s installed, grab your favorite bubbly and take a relaxing bath (or shower) in your updated bathroom!
FAQs
Questions? Don’t worry, we’ve got the answers
What other light bulbs can fit in this light?
The bulb must not be greater than the max wattage for the fixture. It must match the base size, and the diameter of any area of the bulb should be less than the diameter of any area of shade so that it can fit.
Can I use an LED light bulb?
Yes, so long that the base size matches and the diameter of any area of the bulb is less than the diameter of any area of shade so that it can fit.
Is this UL/ETL certified?
Yes, all our products are either UL or ETL.
Do I need an electrician to set up the hardware?
We recommend using a certified electrician for all hardwiring, although all of our fixtures can be set up without an electrician, as long as you are replacing an existing fixture or have an existing junction box ready for a fixture installation. ENSURE THE POWER IS OFF WHEN INSTALLING. For all new constructions, please use a certified electrician.
Can I retrofit this hard-wired to a plug-in or vice-versa?
Yes, a plug-in fixture can be turned into a hardwired fixture and a hardwired fixture can become a plug-in fixture. For many products we will provide all the necessary hardware to make these changes, if not, you will need to purchase the necessary hardware.
Is this light compatible outside North America?
Our lighting is only warranted in Canada and the United States.
What do I do if the product is not working?
Try a different light bulb and confirm proper installation.
Can these lights work on a dimmer?
Disability is related to the light bulb and the wall switch, not the light fixture. All our hardware fixtures are compatible with dimmable light bulbs. We recommend using a dimmer switch, as it extends the life of the bulb and allows for energy saving and great ambiance. If using a LED bulb, please ensure both your LED bulb and dimmer switch are compatible.
Can I use the fixture outdoors?
No, this product was designed to be used indoors only in dry or damp locations.
No heartburn, when we handle the return
Give us a call at 1-866-619-1004 or shoot us a message at [email protected] we will issue you a free replacement with zero hassle.

We really don’t want you to go through the hassle of re-packaging your item and sending it back, because let’s be honest…nobody has time for that.
We are only in business if you’re happy
For starters, thanks for being you.
- Toll-free at 1-866-619-1004
- [email protected].
- NathanJames.com/help.
We do our best to ensure your product arrives without any problems, but occasionally mistakes happen—as humans, we are imperfect beings. In the event that a part is damaged or missing, we will be more than happy to provide you with replacement part(s) for free.
Warranty
This product comes with a lifetime warranty from the date of purchase. Please use your phone to scan the QR code to register your product or visit https://goo.gl/i9dk3q.
Did we do alright? Please spread the love!
If you are happy with your product, tell your friends and family about us or even better leave us a review online. Spreading the word gives us the opportunity to make more people happy and keep our prices low for your next purchase.
Scan me!
Inspiration Digital Instructions Free Lifetime Warranty





















