nathan james 12502 Frank Vanity Light

Scan me!
Inspiration Digital Instructions Free Lifetime Warranty
Ok, let’s get rolling
- This should be easy, just follow our instructions and you will be back to Netflix in no time.
Estimated time for assembly

What you need
- Your favorite snack or energy bar (Save the bubbly for once your fixture is safely installed!)
- Use the packaging carton as a working surface to prevent product damage during assembly
- Phillips head screwdriver
What’s included
| Description | Qty | |
| 1 | Fixture | 1 |
| 2 | Socket Ring | 2 |
| 3 | Shade | 2 |
| A | Junction Box Screws | 2 |
| B | Wire Connectors | 3 |
| C | Cross Bar | 1 |
| D | Wrench | 1 |
| E | Decorative Nuts | 2 |
Safety first, fun later
Safe use of this product starts with you.
Use this light fixture responsibly with the primary concern for your safety. Follow assembly instructions carefully and inspect product upon receipt and each use. Nathan James and its parent companies cannot be held legally responsible for any injuries or death resulted from failure to follow instructions or improper use of this product.
Proper use
- DO NOT use for commercial purposes
- DO NOT leave spilled liquid on fixture
- DO NOT use light fixture if damaged
- DO NOT make temporary repairs
- DO NOT use outdoors
Do not modify the structure of this product in any way.
Our products have been tested to meet specific safety measures as they were originally intended to be sold. Any modifications will present the risk of creating significant safety issues which Nathan James will not be responsible for.
WARNING
Inspect the wire insulation for any cuts, abrasions, or exposed copper that may have occurred during shipping. If there is a defect in the wire, do not attempt installation. Please reach out to our Customer Happiness team at [email protected] or 1-866-619-1004
WARNING: RISK OF ELECTRIC SHOCK
Before starting the installation, disconnect the power by turning off the circuit breaker or by removing the appropriate fuse at the fuse box. Turning the power off at the switch is NOT SUFFICIENT to prevent electrical shock. PLEASE CONSULT A QUALIFIED ELECTRICIAN IF YOU HAVE ANY ELECTRICAL QUESTIONS.
The goods

IMPORTANT
- Do not tighten bolts / screws completely until all bolts / screws are lined up and inserted into holes.
- Do not over tighten screws and bolts to avoid stripping.
- Please use hand tools to assemble this product. Do not use power tools.
Pre-Installation
- Read all instructions prior to beginning assembly.
- To avoid damaging this product, assemble it on a soft, non-abrasive surface such as carpet or cardboard.
- Keep the receipt and these instructions for proof of purchase.
- Use 2 type G50 bulbs up to 60 watts or CFL or LED equivalent (not included).
Step 1
Okay, time to get started! Don’t worry, we made the first step extra easy. Thread the middle post section into the back of the Fixture (1) and remove the Socket Rings (2).
Helpful tip: Righty-tighty, lefty-loosey!
Step 2
Secure the back plate of the Fixture (1) to the middle post section using the provided hardware. Tighten with the Wrench (D).
Step 3
You’re doing great! Are you a professional or something? Now it’s time to attach the Shades (3) to the Fixture (1) using the Socket Rings (2).
Step 4
You’re almost halfway done! Time for a snack break… Okay, back to work. Now it’s time to make sure your fixture will be nice and level when it’s installed. To do this, turn the round plate on the back of the Fixture (1) to ensure the holes in the round plate are horizontal/level. You can place the Fixture on a table top to help with this step. Once the holes in the plate are horizontal, secure the nut on the back of the round plate using the Wrench (D).
Step 5
- Remove the Finial Nuts (E) from the Cross Bar (C).

Step 6
Okay, now for the fun part. Install the Cross Bar (C) to your pre-installed electrical box using the Junction Box Screws (A). Tighten using a Phillips head screwdriver.
Note: Be sure that you are only making the connections to a 120V AC 60Hz circuit. If you do not have a pre-existing electrical box, we strongly advise using a certified electrician.
Step 7
Now wrap the ground wire around the grounding screw on the Cross Bar (C). Secure by tightening the screw using a Phillips head screwdriver.
Step 8
Join the matching colored wires (white to white, black to black, and ground to ground) with Wire Connectors (B). Tuck the excess wire into the electrical box.
Step 9
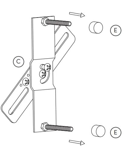
Now it’s time to secure the Fixture (1) to the Cross Bar (C) on your pre-installed electrical box using the Decorative Nuts (E). Be sure that you have all of the excess wire tucked into the electrical box.
Step 10
Now for the final touch: install the light bulbs! We recommend 2 type G50 bulbs. And voila, let there be light!

Troubleshooting
| Problem | Possible Causes | Solutions |
| The bulb will not light. | The bulb is burned out. | Replace the light bulb. |
| The power is off. | Ensure the power supply is on. | |
| The circuit breaker is off. | Ensure the circuit breaker is in the ON position. | |
| The fuse blows or circuit breaker blows when the light is turned on. | There is an exposed wire. | Discontinue use of the light. Contact a qualified electrician or reach out to our Customer Happiness team at [email protected] or 1-866-619-1004. |
Questions? Don’t worry, we’ve got the answers
What other light bulbs can fit in this light?
The bulb must not be greater than the max wattage for the fixture. It must match the base size, and the diameter of any area of the bulb should be less than diameter of any area of shade, so that it can fit.
Can I use an LED light bulb?
Yes, so long that the base size matches and the diameter of any area of bulb is less than diameter of any area of shade, so that it can fit.
Is this UL/ETL certified?
Yes, all our products are either UL or ETL.
Do I need an electrician to set up the hardwire?
We recommend using a certified electrician for all hardwiring, although all of our fixtures can be set up without an electrician, as long as you are replacing an existing fixture or have an existing junction box ready for a fixture installation. ENSURE POWER IS OFF WHEN INSTALLING. For all new constructions, please use a certified electrician.
Can I retrofit this hard-wired to a plug-in or vice-versa?
Yes, a plug-in fixture can be turned into a hardwire fixture and a hardwire fixture can become a plug-in fixture. For many products we will provide all the necessary hardware to make these changes, if not, you will need to purchase the necessary hardware. Is this light compatible outside
North America?
Our lighting is only warranted in Canada and the United States.
What do I do if the product is not working?
Try a different light bulb and confirm proper installation.
Can these lights work on a dimmer?
Dimmability is related to the light bulb and the wall switch, not the light fixture. All our hardwire fixtures are compatible with dimmable light bulbs. We recommend using a dimmer switch, as it extends the life of the bulb and allows for energy saving and great ambiance. If using a LED bulb, please ensure both your LED bulb and dimmer switch are compatible.
Can I use the fixture outdoors?
For vanity light fixtures, we have a damp rating, which approves the use in bathrooms or other damp areas, but is not approved for outdoor use unless specified.
No heartburn, when we handle the return
Give us a call 1-866-619-1004 or shoot us a message at [email protected] we will issue you a free replacement with zero hassle.
We really don’t want you to go through the hassle of re-packaging your item and sending it back, because let’s be honest…nobody has time for that.
We are only in business if you’re happy
For starters, thanks for being you.
Toll-free at 1-866-619-1004- [email protected]
- NathanJames.com/help
We do our best to ensure your light fixture arrives without any problems, but occasionally mistakes happen—as humans we are imperfect beings. In the event that a part is damaged or missing, we will be more than happy to provide you with replacement part(s) for free.
Warranty
This product comes with a lifetime warranty from the date of purchase. Please use your phone to scan the QR code to register your product or visit https://goo.gl/i9dk3q
Did we do alright? Please spread the love!
If you are happy with your product, tell your friends and family about us or even better leave us a review online. Spreading the word gives us the opportunity to make more people happy and keep our
prices low for your next purchase.















