Uolfin 5069685 3-Light Matte Gold Contemporary Vanity Light

Item Number: 5069685
WARNING (To reduce the risk of fire, electric shock, or personal injury):
- We suggest installation by a licensed electrician.
- Please read the instruction carefully and save it as you may need it at a later time.
- Before you start, NEVER attempt any work without shutting off the electricity until the work is done.
A) Go to the main fuse, or circuit breaker, box in your home. Place the main power switch in the “OFF” position.
B) Place the wall switch in the “OFF” position. - Mounting surface should be clean, dry, flat, strong enough and 1/4” larger than the canopy on all sides. Any gaps between the mounting surface and canopy exceeding 3/16” should be corrected as required.
- Make sure that the ceiling or wall can stand the weight of the lamp before installation.
- Make sure the voltage you are using is 120V. The maximum wattage is 40W per bulb.
- Keep the lamp away from acidic and alkaline substances in case of damaging the surface of the lamp.
- When replacing bulbs, you should turn off or unplug the lamp and you must wait until it is cool as bulbs get hot quickly.
- The safety instructions appearing in this manual are not meant to cover all possible conditions that may occur. It must be understood that common sense, caution and care must be used with any electrical products.
TOOLS REQUIRED (NOT INCLUDED)
Before starting assembly and installation please prepare the needed tools as below picture

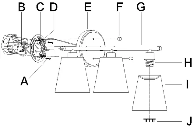
PARTS INCLUDING

- (C) Green ground screw (1)
- (D) Mounting plate (1)
- (E) Back plate (1)
- (F) Knob nut (2)
- (G) Arm (1)
- (H) Socket (3)
- (I) Cloth shade (3)
- (J) Socket ring (3)
ACCESSORIES ENCLOSED:
- (A) Mounting screw (2)
- (B) Plastic wire connector (3)
ASSEMBLY & INSTALLATION INSTRUCTIONS:
- Carefully remove the fixture from the carton and check that all parts and accessories are included as shown in the above illustration.
- Turn off power
Before you start the installation, NEVER attempt any work without shutting off the electricity until the work is done.
A. Go to the main fuse, or circuit breaker, box in your home. Place the main power switch in the “OFF” position.
B. Place the wall switch in the “OFF” position. - Make assembly

- Step A1: Unscrew knob nuts (F) from back plate (E), then set them aside for later installation.
- Step A2: Secure mounting plate (D) to the outlet box with mounting screws (A).
- Step A3: Make wire connections
Connect wires as below wires connection shown. PLEASE NOTE THAT GROUND WIRE IS BARE COPPER WIRE, NEVER CONNECT OTHER WIRES TO GROUND WIRES.Connect ground wires according to the below chart

Connect wires according to the below chart
Twist wires together with plastic wire connectors until tightly joined, and wrap each connector with approved electrical tape. Be sure that no wire strands are exposed and then carefully tuck all wires into the outlet box. - Step A4: Align the holes in back plate (E) with the pre-assembled mounting screws, then attach back
plate (E) to mounting plate (D) with the previously removed knob nuts (F). Hand tighten until snug.
Note: back plate (E) should be snug against the wall with knob nuts (F). If not, remove back plate (E), adjust the threaded length of pre-assembled mounting screws on mounting plate assembly (D) by unscrewing the pre-assembled hex nuts and then screwing the
pre-assembled mounting screws in or out of mounting plate (D) until the secure length is achieved. Tighten the pre-assembled hex nuts and back to Step A4. - Step A5: Fix cloth shades (I) to sockets (H) with socket rings (J). Install bulbs (Not included) (Please do not exceed the maximum wattage recommended on the socket.)
Check everything is installed properly, then you could turn on the light. Enjoy!
CLEANING
To clean, wipe the fixture with a soft cloth. Clean glass with a mild cleaner (such as mild and non-abrasive soap.) Do not use abrasive materials such as scouring pads or powders, steel wool or abrasive paper.
ORDERING PARTS
Keep this sheet for future reference in case you need to order replacement parts. All parts for this fixture can be ordered from the place of purchase. Be sure to use exact wording from illustration when ordering parts.























