Pia Ricco 31 Inch 3 Light Bronze Modern Industrial Bathroom Vanity Light

Product Information
The product is a light fixture that includes shades, mounting unit, ball nuts, mounting screws, wire nuts, and other required hardware for installation. The fixture requires a ladder, safety glasses, electrical Phillips screwdriver, flat blade screwdriver, pliers, and wire strippers for assembly. The exploded parts diagram and caution instructions are provided in the user manual for safe and correct installation.
Product Usage Instructions
- Unscrew the ball nuts from the mounting unit. Use the mounting screws to attach the mounting unit to the junction box (not included).
- Make the electrical connection from the junction box to the fixture. Connect the ground wire to the mounting unit using the preinstalled green ground screw. Then, connect the positive, negative and ground wires with the supplied wire nuts and secure with electrical tape.
- Attach the fixture to the mounting unit through screw holes as shown, and secure it with ball nuts.
- Remove the socket rings from the socket. Attach shades onto fixture using socket rings.
- Install bulbs (not included).
For installation on a wall, follow these instructions:
- Place the mounting plate on the wall in the desired location and mark the center of the top and bottom mounting plate holes with a pencil. Remove the mounting plate from the wall.
- Determine if there is a stud behind the marked hole locations. If there is a stud behind the marked hole locations, skip to step 5. If there is not a stud behind the marked hole locations, proceed to step 3.
- Using a 5/16 drill bit, drill holes at the marked hole locations.
- Insert the mounting plate anchor into the wall.
- Line up the holes in the mounting plate with the hole locations and attach the mounting plate to the wall with the screws provided.
- Attach the robe hook or tissue holder to the mounting plate by hooking the slot onto the top edge of the plate.
- Finish attaching by inserting and tightening the set screw as shown.
- Orient the hook in the desired position and tighten set screw B for tissue holder or set screw A for robe hook.
ASSEMBLY INSTRUCTIONS
CAUTION
- Inspect the wire insulation for any cuts, abrasions, or exposed copper that may have resulted during shipping. If there is a defect in the wire, do not attempt installation
- Before starting installation of this fixture or removal of a previous fixture, disconnect the power by turning off the circuit breaker or by removing the fuse at the fuse box.
TOOLS REQUIRED

HARDWARE INCLUDED

PARTS SHOWN MAY DIFFER SLIGHTLY PER LIGHT FIXTURE
EXPLODED PARTS

INSTALLATION
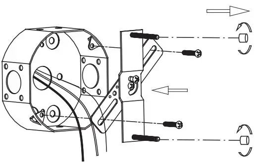
STEP 1
Unscrew the ball nuts from the mounting unit. Use the mounting screws to attach the mounting unit to the junction box(not included).

STEP 2
Make the electrical connection from the junction box to the fixture. Connect the ground wire to the mounting unit using the preinstalled green ground screw. Then, connect the positive, negative and ground wires with the supplied wire nuts. Secure with electrical tape.

ASSEMBLY INSTRUCTIONS (INSTALLATION)
STEP 3
Attach the fixture to the mounting unit through screw holes as shown, and secure it with ball nuts.

STEP 4
Remove the socket rings from the socket. Attach shades onto fixture using socket rings.

STEP 5
Install bulb (not included)

ASSEMBLY AND INSTALLATION
- Place the MOUNTING PLATE on the wall in the desired location, and mark the center of the top and bottom MOUNTING PLATE holes with 1 pencil. Remove the MOUNTING PLATE from the wall.
- Determine if there is a stud behind the marked hole locations.
- a. If there is a stud behind the marked hole locations, skip to step 5.
- b. If there is NOT a stud behind the marked hole locations, proceed to step 3.
- Using a 5/16″ DRILL BIT, drill holes at the marked hole locations.
- Insert the screw ANCHORS into the holes. The ANCHORS should sit fully within the hole, flush with the wall.
- Line up the holes in the MOUNTING PLATE with the hole locations, and attach the MOUNTING PLATE to the wall with the SCREWS provided.
- Attach the ROBE HOOK to the MOUNTING PLATE by hooking the SLOT onto the top edge of the MOUNTING PLATE and holding it flush against the wall.
- Finish attaching by inserting and tightening the SET SCREW as shown.

- Place the MOUNTING PLATE on the wall in the desired location, and mark the center of the top and bottom MOUNTING PLATE holes with a pencil. Remove the MOUNTING PLATE from the wall.
- Determine if there is a stud behind the marked hole locations.
- a. If there is a stud behind the marked hole locations, skip to step 5.
- b. If there is NOT a stud behind the marked hole locations, proceed to step 3.
- Using a 5/16″ DRILL BIT, drill holes at the marked hole locations.
- Insert the screw ANCHORS into the holes. The ANCHORS should sit fully within the hole, flush with the wall.
- Line up the holes in the MOUNTING PLATE with the hole locations, and attach the MOUNTING PLATE to the wall with the SCREWS provided.
- Attach the TISSUE HOLDER to the MOUNTING PLATE by hooking the SLOT onto the top edge of the MOUNTING PLATE and holding it flush against the wall.
- Finish attaching by inserting and tightening the SET SCREW-A as shown.
- Orient the TISSUE HOLDER hook in the desired position, and tighten SET SCREW-B.

- Place the MOUNTING PLATE on the wall in the desired location, and mark the center of the top and bottom MOUNTING PLATE holes with a pencil. Remove the MOUNTING PLATE from the wall.
- Determine if there is a stud behind the marked hole locations.
- a. If there is a stud behind the marked hole locations, skip to step 5.
- b. If there is NOT a stud behind the marked hole locations, proceed to step 3.
- Using a 5/16″ DRILL BIT, drill holes at the marked hole locations.
- Insert the screw ANCHORS into the holes. The ANCHORS should sit fully within the hole, flush with the wall.
- Line up the holes in the MOUNTING PLATE with the hole locations, and attach the MOUNTING PLATE to the wall with the SCREWS provided.
- Attach the TOWEL RING to the MOUNTING PLATE by hooking the SLOT onto the top edge of the MOUNTING PLATE and holding it flush against the wall.
- Finish attaching by inserting and tightening the SET SCREW as shown.

- Place a MOUNTING PLATE on the wall in the desired location, and mark the center of the top and bottom MOUNTING PLATE holes with a pencil. Remove the MOUNTING PLATE from the wall.
- Using a TAPE MEASURE and a LEVEL, measure 19″ to the center of the second MOUNTING PLATE and mark. Place the MOUNTING PLATE on the wall. lining up the center mark, and mark the centers for the top and bottom holes. Repeat for the other MOUNTING PLATE.
- Determine if there is a stud behind the marked hole locations.
- a. If there is stud behind the marked hole locations, skip to step 6.
- b IS If there is NOT a stud behind the marked hole locations, proceed to step 4.
- Using a 5/16″ DRILL BIT, drill holes at the top and bottom marked hole locations.
- Insert the screw ANCHORS into the holes. The ANCHORS should sit fully within the hole, flush with the wall.
- Line up the holes in the MOUNTING PLATE with the hole locations, and attach the MOUNTING PLATE to the wall with the SCREWS provided.
- Attach the TOWEL BAR to the MOUNTING PLATES by hooking the SLOT onto the top edge of the MOUNTING PLATES and holding it flush against the wall.
- Finish attaching by inserting and tightening the SET SCREWS as shown.


















