nathan james 13101 Heidi 26 Inch 3 Light Bathroom Vanity Light Fixture Instruction Manual
Ok, let’s get rolling
This should be easy, just follow our instructions and you will be back to Netflix in no time.
Estimated time for assembly
25:00
What you need
- Your favorite snack or energy bar (Save the bubbly for once your fixture is safely installed!)
- Use the packaging carton as a working surface to prevent product damage during assembly
Do not use a dril
Toll-free at 1-866-619-1004
[email protected]
Nathanjames.com/help
What’s included
| Description | Qty |
| A Fixture | 1 |
| B Mounting Plat | 1 |
| C Finial Cop | 2 |
| D M4*25mm Mounting Screws | 2 |
| E Wire Nuts | 3 |
| F Glass Shade | 3 |
| G Decorative Screw | 12 |
Scan me!
Inspiration
Digital Instructions Free Lifetime Warranty
Safety first, fun later
Safe use of this product starts with you.
Use this light fixture responsibly with the primary concern for your safety. Follow assembly instructions carefully and inspect product upon receipt and each use.
Nathan James and its parent companies cannot be held legally responsible for any injuries or death resulted from failure to follow instructions or improper use of this product
Proper use
DO NOT use for commercial purposes
DO NOT leave spilled liquid on fixture
DO NOT use light fixture if damaged
DO NOT make temporary repairs
DO NOT use outdoors
WARNING
Inspect the wire insulation for any cuts, abrasions, or exposed copper that may have occurred during shipping. If there is a defect in the wire, do not attempt installation. Please reach out to our Customer Happiness team at [email protected] or 1-866-619-1004
WARNING: RISK OF ELECTRIC SHOCK
Before starting the installation, disconnect the power by turning off the circuit breaker or by removing the appropriate fuse at the fuse box. Turning the power off at the switch is NOT SUFFICIENT to prevent electrical shock. PLEASE CONSULT A QUALIFIED ELECTRICIAN IF YOU HAVE ANY ELECTRICAL QUESTIONS.
The goods

IMPORTANT
- Do not tighten bolts / screws completely until all bolts / screws are lined up and inserted into holes.
- Do not over tighten screws and bolts to avoid stripping.
- Please use hand tools to assemble this product. Do not use power tools.
Pre-Installation
- Read all instructions prior to beginning assembly.
- To avoid damaging this product, assemble it on a soft, non-abrasive surface such as carpet or cardboard.
- Keep the receipt and these instructions for proof of purchase.
- Use 3 Type A or Type ST Vintage Bulbs or 13W LED Bulbs (not included).
- 120V 60Hz AC Only
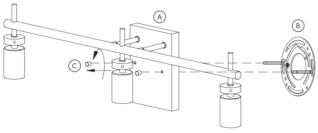
Step 1
Alright, time to get started! Don’t worry, this will only take 25 minutes, so order that pizza, and by the time it gets here you’ll be all ready.
To start off, remove the Mounting Plate (B) from the Fixture’s (A) backplate by removing the Finial Caps (C) and separating the components.
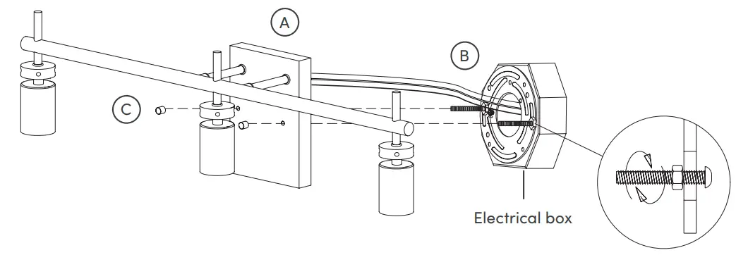
Step 2
Next, secure the Mounting Plate (B) to your pre-installed electrical box using the Mounting Screws (D).

For downward-facing bulbs
Step 3
Wrap the ground wire around the grounding screw on the Mounting Plate (B) and secure in place with a screwdriver.
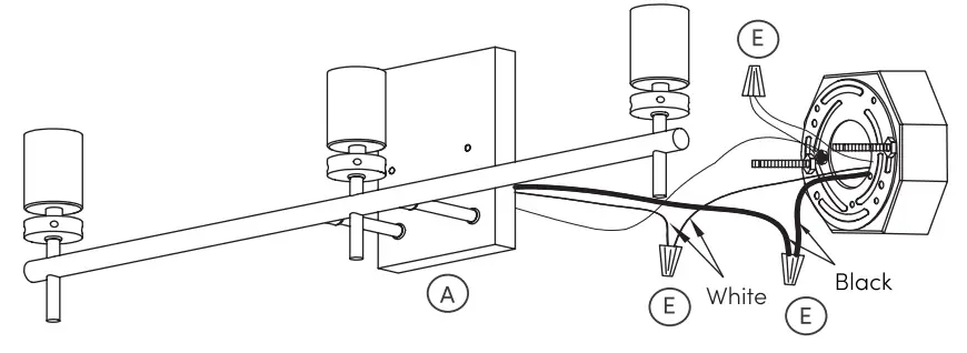
Step 4
Use the Wire Nuts (E) to connect the matching colored wires (white to white, black to black and ground to ground). Once complete, tuck the excess wire into the electrical box
Note: Be sure that you are only making the connections to a 120V AC 60Hz circuit. If you do not have a pre-existing electrical box, we strongly advise using a certified electrician.
Step 5
Secure the Fixture (A) to the screws on the Mounting Plate (B) with the Finial Caps (C). Be sure that you have all of the excess wires tucked into the electrical box.
Thread in or out to adjust for proper threading length to properly fasten the finial caps on.
Step 6
We’re so proud of you, you made it to the last step! To finish up, install the Glass Shades (F) by inserting the Decorative Screws (G) through the provided holes in the GlassShades before continuing to fasten them into the threaded holes on the Fixture (A).
All that’s left to do is add bulbs! See the pre-installation instructions on page 5 for our recommendations.
And just like that, you’re all done! Time to dig into that pizza.
For upward-facing bulbs
Step 3
Wrap the ground wire around the grounding screw on the Mounting Plate (B) and secure in place with a screwdriver.
Step 4
Use the Wire Nuts (E) to connect the matching colored wires (white to white, black to black and ground to ground). Once complete, tuck the excess wire into the electrical box.
Note: Be sure that you are only making the connections to a 120V AC 60Hz circuit. If you do not have a pre-existing electrical box, we strongly advise using a certified electrician.
Step 5
Secure the Fixture (A) to the screws on the Mounting Plate (B) with the Finial Caps (C). Be sure that you have all of the excess wires tucked into the electrical box.
Step 6
We’re so proud of you, you made it to the last step! To finish up, install the Glass Shades (F) by inserting the Decorative Screws (G) through the provided holes in the Glass Shades before continuing to fasten them into the threaded holes on the Fixture (A).
All that’s left to do is add bulbs! See the pre-installation instructions on page 5 for our recommendations.
And just like that, you’re all done! Time to dig into that pizza.
Troubleshooting
| Problem | Possible Causes | Solutions |
| The bulb will not light. | The bulb is burned out. | Replace the light bulb. |
| The power is off. | Ensure the power supply is on. | |
| The circuit breaker is off. | Ensure the circuit breaker is in the ON position. | |
| The fuse blows or circuit breaker blows when the light is turned on. | There is an exposed wire. | Discontinue use of the light.Contact a qualified electrician or reach out to our Customer Happiness team at help©nathanjames.com or 1-866-619-1004. |
Questions? Don’t worry, we’ve got the answers
What other light bulbs can fit in this light?
The bulb must not be greater than the max wattage for the fixture. It must match the base size, and the diameter of any area of the bulb should be less than diameter of any area of shade, so that it can fit
Can I use an LED light bulb?
Yes, so long that the base size matches and the diameter of any area of bulb is less than diameter of any area of shade, so that it can fit
Is this UL/ETL certified?
Yes, all our products are either UL or ETL.
Do I need an electrician to set up the hardwire?
We recommend using a certified electrician for all hardwiring, although all of our fixtures can be set up without an electrician, as long as you are replacing an existing fixture or have an existing junction box ready for a fixture installation. ENSURE POWER IS OFF WHEN INSTALLING. For all new constructions, please use a certified electrician.
Can I retrofit this hard-wired to a plug-in or vice-versa?
Yes, a plug-in fixture can be turned into a hardwire fixture and a hardwire fixture can become a plug-in fixture. For many products we will provide all the necessary hardware to make these changes, if not, you will need to purchase the necessary hardware.
Is this light compatible outside North America?
Our lighting is only warranted in Canada and the United States.
What do I do if the product is not working?
Try a different light bulb and confirm proper installation
Can these lights work on a dimmer?
Dimmability is related to the light bulb and the wall switch, not the light fixture. All our hardwire fixtures are compatible with dimmable light bulbs. We recommend using a dimmer switch, as it extends the life of the bulb and allows for energy saving and great ambiance. If using a LED bulb, please ensure both your LED bulb and dimmer switch are compatible.
Can I use the fixture outdoors?
For vanity light fixtures, we have a damp rating, which approves the use in bathrooms or other damp areas, but is not approved for outdoor use unless specified.
No heartburn, when we handle the return
Give us a call 1-866-619-1004 or shoot us a messageat [email protected] we will issue you a free replacement with zero hassle.
Our way
Give us a call
Replacement
You
Their way
Re-package item
Schedule pick up
Track package
Replacement
You
We really don’t want you to go through the hassle of re-packaging your item and sending it back, because let’s be honest…nobody has time for that.
We are only in business if you’re happy
For starters, thanks for being you.
Toll-free at 1-866-619-1004
[email protected]
NathanJames.com/help
We do our best to ensure your furniture arrives without any problems, but occasionally mistakes happen—as humans we are imperfect beings. In the event that a part is damaged or missing, we will be more than happy to provide you with replacement part(s) for free.
Warranty
This product comes with a lifetime warranty from the date of purchase. Please use your phone to scan the QR code to register your product or visit https://goo.gl/i9dk3q
Did we do alright? Please spread the love!
If you are happy with your product, tell your friends and family about us or even better leave us a review online. Spreading the word gives us the opportunity to make more people happy and keep our prices low for your next purchase.
Founder, Nathan James














