2557 Alford Place LED Outdoor Pier Mount

Product Information
- The product is a HINKLEY fixture with item number 2557. It is a lighting fixture that requires assembly and installation. The fixture comes with a glass component and requires electrical connections.
- The product is manufactured by HINKLEY, located at 33000 Pin Oak Parkway, Avon Lake, OH 44012. They can be contacted at 800.446.5539/ 440.653.5500 or through their website hinkley.com.
- The product manual is available in multiple languages, including English, Spanish, and French.
Product Usage Instructions
Assembly Instructions
- Find a clear area in which you can work.
- Unpack the fixture and glass from the carton.
- Carefully review the instructions prior to assembly.
SAFETY WARNING
- Read wiring and grounding instructions (I.S. 18) and any additional directions. Turn off the power supply during installation. If new wiring is required, consult a qualified electrician or local authorities for code requirements.
- Make electrical connections from the supply wire to fixture lead wires. Refer to the instruction sheet (I.S. 18) and follow all instructions to make all necessary wiring connections. Then refer back to this sheet to complete the installation of this fixture.
Installing Bulbs
- To access sockets for bulb installation, first remove the four screws (S) from underneath the roof edge (R). NOTE: After screws are removed, the top half of the cage (G) can be lifted off.
- Install bulbs and replace the cage bottom half using the screws (S) removed earlier.
Mounting Instructions
Prior to installation, make sure you have the appropriate hardware for attaching the mounting bracket to the material it will be installed. For example, if attaching to a mortar or concrete pier top, make sure to purchase fasteners appropriate for masonry. If using screws or bolts, 1/4″ diameter is recommended. Follow the mounting instructions on page 2 to continue installing the fixture.
Glass Replacement
- Find a clear area in which you can work.
- Unpack the fixture and glass from the carton.
- Carefully review the instructions prior to assembly.
Wiring Instructions for Indoor Fixtures
Connect the positive supply wire (A) (typically black or the smooth, unmarked side of the two-conductor cord) to the positive fixture lead (B) with an appropriately sized twist-on connector. Refer to Drawings 1 or 2 for more details.
Assembly Instructions
start here
- Find a clear area in which you can work.
- Unpack fixture and glass from carton.
- Carefully review instructions prior to assembly.
SAFETY WARNING: READ WIRING AND GROUNDING INSTRUCTIONS (I.S. 18) AND ANY ADDITIONAL DIRECTIONS. TURN POWER SUPPLY OFF DURING INSTALLATION. IF NEW WIRING IS REQUIRED, CONSULT A QUALIFIED ELECTRICIAN OR LOCAL AUTHORITIES FOR CODE REQUIREMENTS.
Make electrical connections from supply wire to fixture lead wires. Refer to instruction sheet (I.S. 18) and follow all instructions to make all necessary wiring connections. Then refer back to this sheet to complete installation of this fixture.
- To access sockets to install bulbs, first remove the four screws (S) from underneath the roof edge (R). NOTE: after screws are removed the TOP half of the cage (G) can be lifted off..
- Install bulbs and replace cage bottom half using the screws (S) removed earlier

Mounting Instructions
DRAWING 1 – MOUNTING
NOTE: prior to installation make sure you have the appropriate hardware for attaching the mounting bracket to the material it will be installed. (Example: if attaching to a mortar or concrete pier top, make sure to purchase fasteners are appropriate for masonry). If using screws or bolts 1/4” dia. is recommended.
- To begin installation it is necessary to remove the mounting bracket (1) from the base of the fixture. This is accomplished by removing the two screws (2) from the base. Set screws aside in a safe place for use later.
- To mount your fixture onto the top of a flat surface. First determine the location you want the mounting bracket installed.
- Using the long slotted holes (H), in the mounting bracket (1) as a guide. Mark the location where you want to install the mounting screws (S) (not provided).
- After holes are marked. Follow the instruction for the fasteners you have purchased to install the mounting bracket to the pier top.
- Next make all necessary wiring connections following instruction sheet IS-18 provided.
- After wires are connected, attach fixture to mounting bracket by slipping base over bracket, align holes in side of base to threaded holes in mounting bracket. Now thread in screws removed earlier.
MOUNTING FIXTURE ON A PYRAMID SHAPED PIER TOP.
DRAWING 2 – MOUNTING OPTION 2
- This fixture can be mounted on a pyramid style pier top. Please note: the center hole in the bracket should not touch the top of the pier when mounting bracket is reversed.- see Drawing 2.
- It will be necessary to reverse the mounting bracket (1) so the tabs on the ends point down.
- Using the long slotted holes (H), in the mounting bracket (1) as a guide. Mark the location where you want to install the mounting screws (S) (not provided).
- After holes are marked. Follow the instruction for the fasteners you have purchased to install the mounting bracket (1) to the pier top. But to prevent the mounting bracket (1) from bending when tightening the hardware. A
spacer (not provided) must be used between the bracket and the slanted surface of the pier top. - Next make all necessary wiring connections following instruction sheet IS-18 provided.
- After wires are connected, attach fixture to mounting bracket by slipping base over bracket, align holes in side of base to threaded holes in mounting bracket. Now thread in screws removed earlier.
Glass Replacement
- Find a clear area in which you can work.
- Unpack fixture and glass from carton.
- Carefully review instructions prior to assembly.
DRAWING 1 – GLASS INSTALLATION

- If glass in top of fixture needs replacing first remove the bottom half of the cage or top roof depending on your particular fixture instructions.
- Next remove screw (1) which holds the glass clip (2) in place – see Drawing 1.
- Next remove glass panel (3) along with silicone gasket that is between the glass panel and the cage roof.
- Remove gasket and place on new piece of glass. Slip glass into cage roof, making sure the top edge is behind tab (T) in roof.
- Lay glass into roof, making sure to center it.
- Now replace glass clips (2) and secure with screws (1) removed earlier.
- Now replace bottom of cage per your fixture instructions.
DRAWING 1 – GLASS INSTALLATION
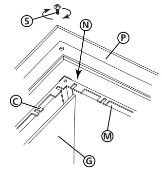
- If glass in bottom of the luminaire cage needs replacing first remove the votre luminaire. top of the cage per you fixture instructions.
- Next remove the four screws (S) in the four corners of the bottom cage top casing (P). Lift casting off of bottom cage (C) – see Drawing 2.
- Now bend glass clips (C) up so glass panel (G) can be removed. Lift panel out of bottom cage by aligning glass panel with notched (N) in metal top band (M) of bottom cage.
- Slip new glass panel into bottom cage, bend glass clips over to secure glass in cage.
- Now replace top casting onto cage removed earlier and secure with screws.
- Assemble cage to roof following your fixture instructions.
I.S. 18 wiring grounding instructions
SAFETY WARNING: READ WIRING AND GROUNDING INSTRUCTIONS (IS 18) AND ANY ADDITIONAL DIRECTIONS. TURN POWER SUPPLY OFF DURING INSTALLATION. IF NEW WIRING IS REQUIRED, CONSULT A QUALIFIED ELECTRICIAN OR LOCAL AUTHORITIES FOR CODE REQUIREMENTS
wiring instructions
Indoor Fixtures
- Connect positive supply wire (A) (typically black or the smooth, unmarked side of the two-conductor cord) to positive fixture lead (B) with appropriately sized twist on connector – see Drawings 1 or 2.
- Connect negative supply wire (C) (typically white or the ribbed, marked side of the two-conductor cord) to negative fixture lead (D).
- Please refer to the grounding instructions below to complete all electrical connections
Drawing 1 – Flush Mount
Outdoor Fixtures
- Connect positive supply wire (A) (typically black or the smooth unmarked side of the two-conductor cord) to positive fixture lead (B) with appropriately sized twist on connector — see Drawings 2 or 3.
- Connect negative supply wire (C) (typically white or the ribbed, marked side of the two-conductor cord) to negative fixture lead (D).
- Cover open end of connectors with silicone sealant to form a watertight seal.
- If installing a wall mount fixture, use caulk to seal gaps between the fixture mounting plate (backplate) and the wall. This will help prevent water from entering the outlet box. If the wall surface is lap siding, use caulk and a fixture mounting platform specially.
- Please refer to the grounding instructions below to complete all electrical connections.
Drawing 2 – Chain Hung
grounding instructions
- Flush Mount Fixtures
For positive grounding in a 3-wire electrical system, fasten the fixture ground wire (E) (typically copper or green plastic coated) to the fixture mounting strap (M) with the ground screw (S) – see Drawing 1.
Note: On straps for screw supported fixtures, first install the two mounting screws in strap. Any remaining tapped hole may be used for the ground screw. - Chain Hung Fixtures
Loop fixture ground wire (E) (typically copper or green plastic coated) under the head of the ground screw (S) on fixture mounting strap (M) and connect to the loose end of the fixture ground wire directly to the ground wire of the building system with appropriately sized twist-on
connectors – see Drawing 2. - Post-Mount Fixtures
Connect fixture ground wire (E) (typically copper or green plastic coated) to power supply ground with appropriately sized twist-on connector inside post. Cover open end of connector with silicone sealant to form a watertight seal – see Drawing 3.
Drawing 3 – Post-Mount
IS200 Caulking Instructions
- After securing fixture to the wall it is recommended that the gap between the wall and the fixture backplate be sealed on the top and both sides, with a good quality waterproof caulk or silicone sealant (NOT INCLUDED) – see Drawing 1.

- After securing fixture in place it is recommended that the gap between the mounting top and fixture base be sealed with any good quality waterproof caulk or silicone sealant (not included). It is also recommended that a small bead of caulk or sealant be put under the ball knobs used to mount fixture – see Drawing 2.

HINKLEY
33000 Pin Oak Parkway,
Avon Lake, OH 44012
800.446.5539 / 440.653.5500
hinkley.com

















