
INSTALLATION INSTRUCTIONS
Model 593PHMS;592PHMS;593PHBS;592PHBS
592PHMS Two Light Outdoor Pier Mount
FOR YOUR SAFETY WARNING: BE SURE THE ELECTRICITY TO THE WIRES YOU ARE WORKING ON IS SHUT OFF; EITHER THE FUSE IS REMOVED OR THE CIRCUIT BREAKER IS SHUT OFF.
CAUTION: THE PRODUCT SHOULD BE INSTALLED BY A QUALIFIED ELECTRICIAN THAT IS AWARE OF THE CONSTRUCTION AND OPERATION OF THE PRODUCT AND THE HAZARDS INVOLVED GENERAL You don’t need special tools to install this fixture. Be sure to follow the steps in the order given. Under no circumstances should a fixture be hung on house electrical wires, nor should a swag-type fixture be installed on a ceiling that contains a radiant-type heating system. Read instructions carefully. If you are unclear as to how to proceed, consult a qualified electrician.
NOTE: Proper wiring is essential for the safe operation of this fixture.
MOUNTING THE FIXTURE (Fig. 1)
- Shut off the power at the circuit breaker and remove the old fixture including the mounting hardware.
- Carefully unpack your new fixture and lay out all the parts in a clear area. Take care not to lose any small parts necessary for installation.

Wiring instruction - If you are replacing an existing fixture, remove and disconnect the old fixture
- Exposed the wires from the post or the pier mount supporting the fixture, to make the wire connection
- Connect the Black wire from the fixture to the black (hot) supply wire from the post or the pier mount; connect the White wire from the fixture to the white (neutral) wire from the post or the pier mount, Connect the ground wire from the fixture to the ground wire from the post or the pier mount. Make sure all wire nuts are secured as per Fig 2. You may wrap the connections with electrical tape.
- tuck them carefully inside the post or the pier mount.
- Place the fixture post fitter (A) onto the post or the pier mount, and secure with the 3 mounting screws (B)
COMPLETING THE INSTALLATION (Fig. 1) - Install the bulb (not provided) into the E12 candle base in accordance with the fixture’s specification.

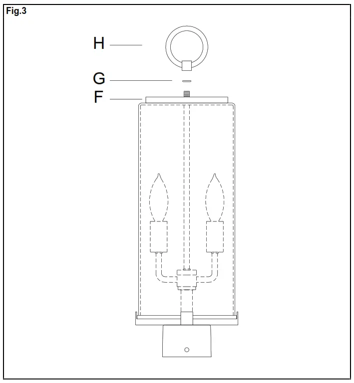
- Install glass shade (I). (Fig.3)
Align the glass shade (I) to the center rod (E), make the glass shade (I) sitting in the base (C), put the top cap (H) and Gasket(G) on the glass shade, then tighten top loop (H) on the center rod (E)
DO NOT EXCEED THE MAXIMUM WATTAGE RATING!
Your installation is now complete. Return power to the junction box and test the fixture
FOR YOUR SAFETY WARNING: BE SURE THE ELECTRICITY TO THE WIRES YOU ARE WORKING ON IS SHUT OFF; EITHER THE FUSE IS REMOVED OR THE CIRCUIT BREAKER IS SHUT OFF.
CAUTION: THE PRODUCT SHOULD BE INSTALLED BY A QUALIFIED ELECTRICIAN THAT IS AWARE OF THE CONSTRUCTION AND OPERATION OF THE PRODUCT AND THE HAZARDS INVOLVED GENERAL You don’t need special tools to install this fixture. Be sure to follow the steps in the order given. Under no circumstances should a fixture be hung on house electrical wires, nor should a swag-type fixture be installed on a ceiling that contains a radiant-type heating system. Read instructions carefully. If you are unclear as to how to proceed, consult a qualified electrician.
NOTE: Proper wiring is essential for the safe operation of this fixture. 
ASSEMBLY AND INSTALLATION INSTRUCTIONS
CAUTION: TO PREVENT POSSIBLE INJURY FROM ELECTRICAL SHOCK, POWER MUST BE TURNED OFF AT THE MAIN BREAKER PANEL OR FUSE BOX BEFORE INSTALLATION OF THIS ELECTRICAL DEVICE.
INSTALLATION STEPS:
- Insert the underground electrical cable as required from the power source into the inlet hole near the base of the post and continue to feed the cable to the top of the post, allowing sufficient wire leads for splicing purposes.
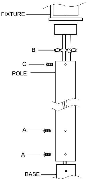
- Put the pole onto the base and secure it with 8 stainless steel Screws (A).
- Make wire connections with wire nuts:

a. The black wire from the fixture to the black wire from the power source.
b. The white wire from the fixture to the white wire from the power source.
c. Attach the ground wire from the fixture to the outlet box ground screw or to the green screw located on the crossbar. - Place the Fixture on the Post, and then secure with 4 Mounting Screws (C).
NOTE: If you need to reduce the height of the pole, please use an electric tool to cut down to the height you need, and use the tap part (included) to drill the hole and make screws thread.
We recommend that you check your local wiring codes and consult an electrical contractor before installation.
SAFETY ALERT!
FIND THE LOCATION OF ANY UNDERGROUND PLUMBING, POWER, LINES, AND OTHER LINES BEFORE DIGGING.
- Anchor bolt set Installation: (Fig.2)
a. Dig a hole 12″ -15″ in diameter and to the required depth (Approx.12″ —16″ deep).
b. Set the 2 Anchor Bolts ( E) into the holes of the square installation plate ( D ).
c. Pour concrete into the hole up to the level of the ground and sink the anchor set into the concrete. Make sure the top surface of the Square installation plate ( D) is level with the ground surface, and the anchor bolts ( E) protrude above the square installation plate ( D ) surface by 4- 1/4″
NOTE: Make sure the concrete is solid and dry before installing the lamp post. ( Usually, this takes up to 24 hours) - Attached is the Base to the Anchor Bolts (E), and (astern with 2 washes (B) and 2 Cap nuts (A). (Fig.1)
- Set the entire post and lantern assembly onto the Base, and secure the lamp post using 8 stainless steel screws (C).

536P-BKIORB-BASE















