
ITEM #0047859
OUTDOOR POST LIGHT LUZ PARA POSTE PARA EXTERIORES
MODEL #AL0344MORB
QUICK REFERENCE GUIDE

HARBOR BREEZE and logo design are trademarks or registered trademarks of LF, LLC. All rights reserved.
AL0344MORB Outdoor Post Light Outdoor Post Light
Thank you for purchasing this Harbor Breeze product. We’ve created these easy-to-follow instructions to en sure you spend your time enjoying the product instead of putting it together. But, if you need more information than what is provided here, please visit Lowes.com, search the item number and refer to the
Guides & Documents tab on the product’s page.
If the item is no longer for sale, or if you have any questions or problems, please call our customer service department at 888-251-1003 , 8 a.m. – 8 p.m., EST, Monday – Sunday.You could also contact us at [email protected].
SAFETY INFORMATION
Please read and understand this entire manual before attempting to assemble, operate or install the product.
WARNING
- Some metal parts in the fixture may have sharp edges. To prevent cuts and scrapes, wear gloves when handling the parts.
- Account for small parts and destroy packing material, as these may be hazardous to children.
- Use flashlight or alternate light source to light work area during installation.
- Assistance may be required to support fixture during installation.
CAUTION
- Workable for dimming circuits when using appropriate light bulbs with dimmable function.
CARE AND MAINTENANCE
· Wipe with damp cloth or use window cleaner. Do not use abrasive cleansers.
WARRANTY
· The manufacturer warrants all of its lighting fixtures against defects in materials and workmanship for three (3) years limited from the date of purchase.
FEELING CONFIDENT? START YOUR NEXT PROJECT
• Visit lowes.com for more information. lowes.com.

TROUBLESHOOTING
| PROBLEM | POSSIBLE CAUSE | CORRECTIVE ACTION |
| Bulb will not light | 1. Bulb is burned out. 2. Faulty wire connection. | 1. Replace light bulb. 2. Check wiring. |
PREPARATION
Before beginning assembly of product, make sure all parts are present. Compare parts with package contents list and hardware contents list.
If any part is missing or damaged, do not attempt to assemble the product.
Estimated Assembly Time: 20-30 minutes
TOOLS REQUIRED (NOT INCLUDED)

PACKAGE CONTENTS

HARDWARE CONTENTS

INSTALLATION OVERVIEW


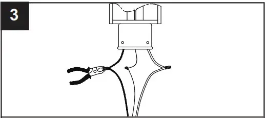
Feed wires. Twist stripped wire ends together with pliers (not included), black to black, white to white, and ground/bare to ground/bare.

Attach BB to connections with electrical tape (not included).


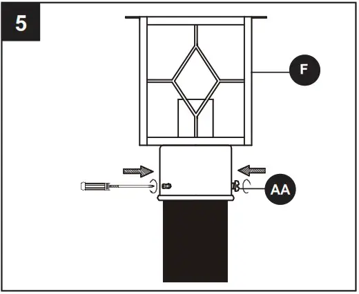
Install light bulb (not included). Use 100-watt max. standard-base incandescent bulb or CFL/LED equivalents.


Assembly is complete. Turn power back on.
Made in China















