MINKA LAVERY 7996-66 Gloucester 4-Light Black Aluminum Hardwired Outdoor Weather Resistant Post Light Instruction Manual
INSTALLATION INSTRUCTIONS
WARNING! SHUT POWER OFF AT FUSE OR CIRCUIT BREAKER.
PREPARING FOR INSTALLATION (Fig. 1)
- Shut off power at the fuse box or circuit breaker box and remove the old fixture including the mounting hardware.
- Carefully unpack your new fixture and lay out all theparts in a clear area. Take care not to misplace any small parts necessary for installation.
CONNECTING THE WIRES (Fig. 2)
- While supporting fixture, connect electrical wires as shown in Fig. 2, making sure all wire connectors (F) are secured. If your post has a ground wire (green or bare copper), connect fixture ground wire to it. If not, consult your electrician for proper grounding.
- After wires are connected, tuck them carefully inside post cup (G) (not included).
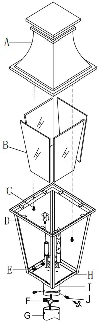
COMPLETING THE INSTALLATION (Fig. 1) - Attach post (I) to post cup (G) with set screws (J).
- Install glass panels (B) into holder of fixture body (H) and secure with tabs (E) on top and bottom.
- Install (4) four candelabra base bulbs (D) up to 60 watts or CFL or LED equivalent (not included) in accordance with the fixture specification. —DO NOT EXCEED THE MAXIMUM WATTAGE RATING! (NE PAS DEPASSER LA PUISSANCE NOMINALE MAXIMALE!)
- Place cover (A) onto fixture body (H) and secure with screws (C).
Your installation is now complete. Return power and test the fixture.
IMPORTANT: FIXTURE SHOULD BE INSTALLED BY A QUALIFIED ELECTRICIAN TO ENSURE PROPER WIRING AND INSTALLATION.
- Glass# G7992 for 7995, Glass# G7993 for 7996
- Candle Cover# CCV21065P-66 Short Sand Coal for 7995
- Candle Cover# CCV21065P-06 Short Soft Cream for 7995
- Candle Cover# CCV21090P-66 Long Sand Coal for 7995
- Candle Cover# CCV21090P-06 Long Soft Cream for 7995
- Candle Cover# CCV21075P-66 Short Sand Coal for 7996
- Candle Cover# CCV21075P-06 Short Soft Cream for 7996
- Candle Cover# CCV21100P-66 Long Sand Coal for 7996
- Candle Cover# CCV21100P-06 Long Soft Cream for 7996













