saxby 49910 Equinox Stainless Steel Outdoor Post Light Instruction Manual
Thank you for purchasing this light fitting. Please read the instructions carefully before use to ensure safe and satisfactory operation of this product. Please retain these instructions for future reference.
Safety information
For your safety, always switch off the power supply before changing lightbulbs, or cleaning.

This bulb is protected by a shade. This part must be replaced immediately should the shade become cracked or damaged. This fitting must not be used without the shade in place.
Warning
This is a Class 1 product and must be earthed.
Please read these instructions carefully before commencing any work.
This unit must be fitted by a competent and qualified electrician.
Install in accordance with IEE Wiring regulations and current Building Regulation.
To prevent electrocution switch off at mains supply before installing or maintaining this fitting. Ensure other persons cannot restore the electrical supply without your knowledge. If you are in any doubt, please consult a qualified electrician.
This light fitting should be connected to a fused circuit.
If replacing an existing fitting, make a careful note of the connections.
Always use the correct type and wattage bulb. Never exceed the wattage stated.
When changing a bulb, always switch off at the mains and allow the old bulb to cool down before handling.
Dispose of used bulbs carefully and responsibly.
Waste electrical products should not be disposed of with household waste. Please recycle where facilities exist. Check with your local authority or retailer for recycling advice.
This product is rated at IP44.
The entire unit gets hot whilst on for a period of time.
Specification
Voltage: 240V 50Hz a.c.
Lamp: 1 x Max. 60W E27
IP rating: 44
Layout
- Plan the desired layout of this fitting carefully, ensuring the cables will reach the distance between the junction box and the light fitting
- Avoid locating any cables in positions that would cause a hazard. Position cables and junction boxes (not supplied) away from areas where they may be at risk from being cut, trapped or damaged
- Cables in walls must be protected using suitable conduit or plastic trunking.
- We recommend that you use HO5RN-F specification cable (not supplied) which is an outdoor grade, rubber sheathed cable. The mains supply cable must have a minimum cross sectional area of 1.0mm,
- These fitting must be mounted on either a concrete surface or a paving slab that has been concreted in position.
Installation

Existing fittings must be completely removed before installation of a new product. Before removing the existing fitting, carefully note the position of each set of wires.
- Using the base plate as a template, mark the fixing holes onto the mounting surface.
- Drill holes to the necessary size and depth – taking care not to damage any concealed pipes or wiring below the mounting surface.
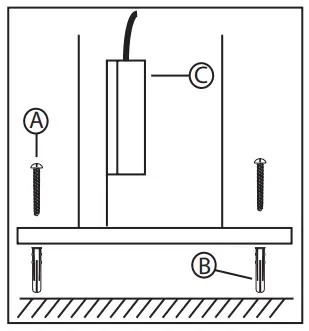
- This product comes complete with screw and rawl plugs (A & B) which are suitable for use on most surfaces, however alternative fixings may be required.
- Push the rawl plugs into the mounting holes.
Wiring

Having correctly identified the wiring from your existing light fitting, pull the wire through the hole and connect to the connection block inside the product in the following way:
- Pull terminal block (C) from inside of tube.
- Unscrew the 4 screws which attach the black box to the spacing strip. Open the black box and pull out the terminal block.
- Connect Live input wire to brown wire on product (or terminal on terminal block marked ‘E).
- Connect Neutral input wire to blue wire on product (or terminal on terminal block marked ‘N’).
- Connect Input Earth wire (Green/yellow) to Earth wire on fitting,
- Check that you have correctly identified the supply wires, the connections are tight and that no loose strands have been left out of the connection block.
- Push terminal block back into the black box. Re-attach the black box to the mounting bracket.
Commissioning
- Push the terminal block up into of the tube.
- stand the product in place inline over the mounting holes and use a suitably sized screwdriver to tighten them so that they hold the fitting securely to the mounting surface.
- Replace fuse or circuit breaker and switch on. Your light is now ready for use.
Fitting/replacing bulb

When changing a bulb, always switch off at the mains and allow the bulb to cool before handling. Dispose of used bulbs carefully.
Do not exceed the wattage stated or use a different shape bulb from that indicated on the fitting.
To access the bulb, simply unscrew the shade. Unscrew the old bulb from the lampholder and replace with a new one. Then screw the shade back in place.
Care and Cleaning
Do not use solvents or abrasive cleaners as these could damage the finish.
In normal circumstances, stainless steel is very resistant to corrosion. It does however require maintenance to preserve the high quality appearance. Wash the product with warm soapy water, removing all surface deposits.
Rinse with clear water and with a soft cloth, wipe dry.
In some cases, surface corrosion may arise after installation. This is normally caused by tiny iron particles left behind after the brushing process when finishing.
Wash and dry as detailed above. Then with a soft cloth soaked with a protective oil, wipe all over.
However if the product is subject to extreme environmental conditions such as marine locations, industrial pollution and acid rain these maintenance procedures should be carried out around four times a year. For severe corrosion, non-abrasive cream cleaners or proprietary stainless steel cleaners should be used to remove the corrosion. Wash and dry as detailed above. Then with a soft cloth soaked with a protective oil, wipe all over.
Glass parts – Remove and wash in warm water or just use a damp cloth. Do not use abrasive materials as these will damage the finish. glass parts – Remove and wash in warm water or just use a damp cloth. Do not use abrasive materials as these will damage the finish.
Do not clean the units with a pressure washer.
Recycling advice
Waste electrical products should not be disposed of with household waste. Please recycle where facilities exist. Check with your Local Authority or retailer for recycling advice.













