MOUNT-ASROG Desk Clamp Designed for ASUS ROG Monitor

Product Information: Desk Clamp Designed for ASUS ROG Monitor
The Desk Clamp Designed for ASUS ROG Monitor is a product that allows you to mount your ASUS ROG monitor to your desktop, freeing up valuable desk space. The product comes with a casted base, upper clamp, lower clamp, and various screws and wrenches needed for assembly. The product is compatible with Type 1 and Type 2 monitor stands, and can be used with desktops up to 6.5mm thick.
Package Contents
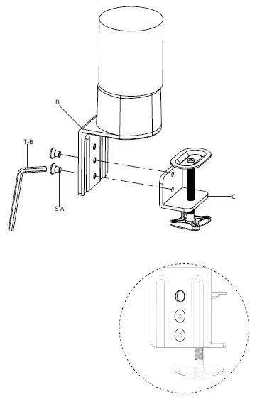
- A (x1) Casted Base
- B (x1) Upper Clamp
- C (x1) Lower Clamp
- S-A (x2) M8x12mm Screw
- S-B (x5) M6x16mm Screw
- S-C (x2) M6x25mm Screw
- S-D (x1) M5x35mm Screw
- S-E (x2) M4x30mm Screw
- T-A (x1) 4mm Allen Wrench
- T-B (x1) 5mm Allen Wrench
- Phillips Screwdriver
Tools Needed
- 4mm Allen Wrench (T-A)
- 5mm Allen Wrench (T-B)
- Phillips Screwdriver
Warning
Choking hazard: Small parts – not for children under 3 years. Adult supervision is required.
Product Usage Instructions
- Set the ASUS ROG monitor on a flat surface and remove the stand according to the manufacturer’s instructions.
- Determine the type of stand you have (Type 1 or Type 2) and follow the instructions for that stand.
- Option A (Type 1 Stand)
- Slide the Casted Base (A) onto the back of the stand, aligning it with the unique cutout shown in the image.
- Secure the Casted Base (A) using two M6x25mm Screws (S-C) and the 4mm Allen Wrench (T-A).

- Option B (Type 2 Stand)
- Slide the Casted Base (A) onto the back of the stand, aligning it with the unique cutout shown in the image.
- Secure the Casted Base (A) using two M4x30mm Screws (S-E), one M5x35mm Screw (S-D), and a Phillips screwdriver.

- Assemble the Upper Clamp (B) using two M6x16mm Screws (S-B) and the 4mm Allen Wrench (T-A).
- Attach the Lower Clamp (C) to the Upper Clamp (B) using two M8x12mm Screws (S-A) and the 5mm Allen Wrench (T-B).
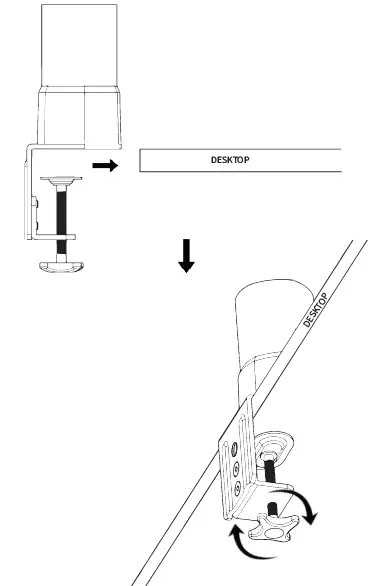
- Open the clamp screw 0.25 (6.5mm) larger than the desktop thickness.
- Slide the clamp assembly with monitor onto the desktop.
If any parts are received damaged or defective, please contact VIVO customer support at [email protected] or call 309-278-5303 for assistance.
SKU: MOUNT-ASROG
Scan the QR code with your mobile device or follow the link for helpful videos and specifications related to this product.
https://vivo-us.com/products/mount-asrog
WARNING!
If you do not understand these directions, or if you have any doubts about the safety of the installation, please call a qualified technician. Check carefully to make sure there are no missing or defective parts. Improper installation may cause damage or serious injury. Do not use this product for any purpose that is not explicitly specified in this manual. Do not exceed weight capacity.
We cannot be liable for damage or injury caused by improper mounting, incorrect assembly or inappropriate use.
WARNING: CHOKING HAZARD
SMALL PARTS – NOT FOR CHILDREN UNDER 3 YEARS. ADULT SUPERVISION IS REQUIRED.
PACKAGE CONTENTS

TOOLS NEEDED 
NOTE: NOT ALL HARDWARE INCLUDED WILL BE USED
ASSEMBLY STEPS
STEP 1
Set monitor on a flat surface and remove the stand following the manufacturer’s instructions. Determine the stand type you have and follow the instructions for that stand

STEP 2
Locate the back side of Casted Base (A) using the unique cutout shown in the image.

STEP 3 (Option A)
Type 1: Slide on Casted Base (A) aligning the back of Casted Base (A) with the back of the stand. Secure using M6x25mm Screws (S-C) and 4mm Allen Wrench (T-A).

STEP 3 (Option B)
Type 2: Slide on Casted Base (A) aligning the back of Casted Base (A) with the back of the stand. Secure using M4x30mm Screws (S-E), M5x35mm Screw (S-D) and a Phillips screwdriver.

STEP 4
Assemble Upper Clamp (B) using M6x16mm Screws (S-B) and 4mm Allen Wrench (T-A).

STEP 5
Attach Lower Clamp (C) to Upper Clamp (B) using M8x12mm Screws (S-A) and 5mm Allen Wrench (T-B). 
STEP 6
Open clamp screw 0.25” (6.5mm) larger than the desktop thickness. Slide the clamp assembly with monitor onto the desktop. 
Love your new VIVO setup and want to share? Tag us in your photo! @vivo_us
Open Monday – Friday 7:00am – 7:00pm CST,
our dedicated support team can offer immediate assistance with rapid response times. If any parts are received damaged or defective, please contact us. We are happy to replace parts to ensure you have a fully functioning product.
309-278-5303
AVG. RESOLUTION TIME (within office hrs): 5M 4S
www.vivo-us.com
Chat live with an agent!
AVG. RESOLUTION TIME (within office hrs): < 15 M
AVG. RESPONSE TIME (within office hrs): 1HR 8M
- 23% within < 15m
- 38% within < 30m
- 61% within < 1hr
- 83% within < 2hr
- 92% within < 3hr
FOR MORE VIVO PRODUCTS, CHECK OUT OUR WEBSITE AT: www.vivo-us.com
















