DIGITUS DA-90417 Dual Design Monitor Clamp Mount Installation Guide
Package Content
- A (x2)

- B (x2)

- C (x1)

- D (x2)

- E (x1)

- F (x1)

- G (x1)

- H (x1)

- I (x1)

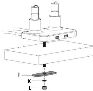
- J (x1)

- K (x1)

- L (x1)

- M (x3) M6x12

- N (x1) 4 mm

- O (x1) 6 mm

- P (x1)

- M-A (x8) M4x12

- M-B (x8) M5x12

- M-C (x8) D5

Mounting Instructions
- STEP 1

Note: Prior to attaching the clamp, press the USB cable into the groove as shown.










- STEP 2

- Tighten the limiting screw (do not over tighten).
- Arm can rotate 180°.

- Remove or loosen the limiting screw.
- Arm can rotate without stopping.
- STEP 3

- STEP 4


- STEP 5


- STEP 6

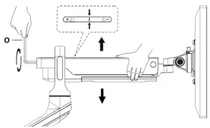
To properly balance the arm with monitors mounted, adjust the spring tension using the supplied Allen Key as following:First, position and firmly hold the arm horizontally as shown. Ask for assistance should require it.
CAUTION: To avoid damange to monitors or mount, always keep the arm in a horizontal position while making adjustments. Again, ask for assistance if required.
If the arm rises, turn the adjustment screw counter-clockwise until it stays in a horizontal position.
If the arm drops, turn the adjustment screw clockwise until it stays in a horizontal position.CAUTION:
- Do not over tighten the screws.
- To prevent damage to the tension indicator, never allow the red indicator line move beyond the “+” and “-” found on the left and right side of the display window.
- Do not over tighten the screws.
- STEP 7

- STEP 7
Note: If the display does not stop at your desired position, tighten the screws as shown.
Note: If the display does not stop at your desired position, tighten the screws as shown.



Read the entire instruction manual before you start installation and assembly. If you have any questions regarding any of the instructions or
warnings, please contact your local distributor for assistance.
CAUTION: Use with products heavier than the rated weights indicated may result in instability causing possible injury.
- Mounts must be attached as specified in the assembly instructions. Improper installation may result in damage or serious personal injury.
- Safety gear and proper tools must be used. This product should only be installed by professionals.
- Make sure that the supporting surface will safely support the combined weight of the equipment and all attached hardware and components.
- Use the mounting screws provided and DO NOT OVER TIGHTEN mounting screws.
- This product contains small items that could be a choking hazard if swallowed. Keep these items away from children.
- This product is intended for indoor use only. Using this product outdoors could lead to product failure and personal injury.
IMPORTANT: Ensure that you have received all parts according to the component checklist prior to installation.
If any parts are missing or faulty, contact your place of purchase for a replacement.
MAINTANANCE
Check that the product is secure and safe to use at regular intervals (at least every three months).
Hereby Assmann Electronic GmbH, declares that the Declaration of Conformity is part of the shipping content. If the Declaration of Conformity is missing, you can request it by post under the below mentioned manufacturer address.
www.assmann.com
Assmann Electronic GmbH
Auf dem Schüffel 3
58513 Lüdenscheid
Germany![]()

Dual Design Monitor Clamp Mount with 2x USB & Gas Spring










































Note: If the display does not stop at your desired position, tighten the screws as shown.





















